Operation CHARM: Car repair manuals for everyone.
Manuals through 2025 now available!

Our trusted friends have launched a new website named LEMON, which has newer manuals. It also contains all the CHARM manuals.

LEMON is the spiritual successor to CHARM, I recommend you try it!

Link: lemon-manuals.la or lemon-manuals.org.ua

(Some people have issue connecting. LEMON is investigating. For now, use Firefox or change your DNS server)

Or, hide this message: temporarily or permanently

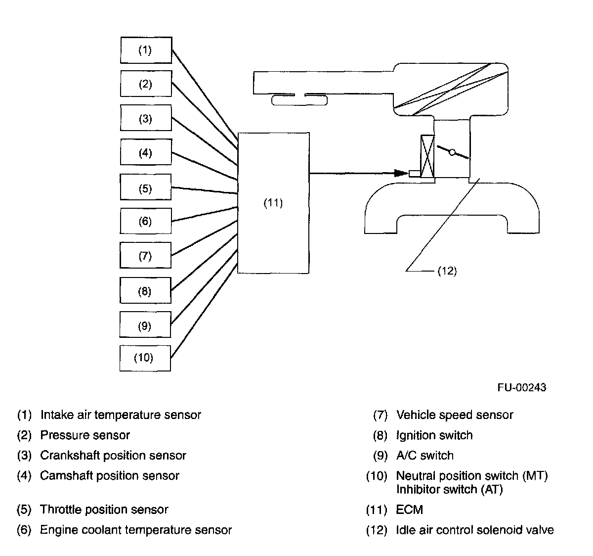
Idle Air Control

IDLE AIR CONTROL




- The ECM activates the idle air control solenoid valve to control the bypass air flowing through the bypass passage in the throttle body depending on signals from the crankshaft position sensor, engine coolant temperature sensor, pressure sensor and A/C switch so that the proper idle speed for each engine load is achieved.
- The idle air control solenoid valve is a stepping motor type valve which moves a shaft up and down to adjust the air flow through the bypass passage according to the signal from the ECM. Thus, the idling speed can always be maintained at the target speed.
- The bypass air control is necessary for:
- Increasing idling speed when the air conditioning system and/or electrical loads are turned on.
- Increasing idling speed during early stage of warm up period.
- Obtaining dashpot function when the throttle valve is quickly closed.
- Prevention of engine speed variation during idling.