Operation CHARM: Car repair manuals for everyone.
Manuals through 2025 now available!

Our trusted friends have launched a new website named LEMON, which has newer manuals. It also contains all the CHARM manuals.

LEMON is the spiritual successor to CHARM, I recommend you try it!

Link: lemon-manuals.la or lemon-manuals.org.ua

(Some people have issue connecting. LEMON is investigating. For now, use Firefox or change your DNS server)

Or, hide this message: temporarily or permanently

Alignment: Service and Repair

Wheel Alignment

INSPECTION





Check, adjust and/or measure wheel alignment in accordance with procedures indicated in figure:

WHEEL ARCH HEIGHT
1. Adjust the tire pressure to specifications.
2. Set the vehicle under "curb weight" conditions. (Empty luggage compartment, install spare tire, jack, service tools, and top up fuel tank.)
3. Set the steering wheel in a wheel-forward position.
4. Suspend a thread from wheel arch (point "A" in figure below) to determine the point directly above center of spindle.








5. Measure the distance between measuring point "A" and center of spindle.

CAMBER
^ Inspection
1. Place the front wheel on turning radius gauge. Make sure the ground contacting surfaces of front and rear wheels are set at the same height.





2. Set the ST into the center of the wheel, and then install the wheel alignment gauge.
ST 927380002 ADAPTER

NOTE:
Refer to the "SPECIFICATIONS" for the camber values.

^ Front camber adjustment
1. Loosen the two self-locking nuts located at the lower front portion of strut.

CAUTION:
^ When the adjusting bolt needs to be loosened or tightened, hold its head with a wrench and turn the self-locking nut.
^ Discard the loosened self-locking nut and replace with a new one.








2. Turn the camber adjusting bolt so that the camber is set at the specification.

NOTE: Moving the adjusting bolt by one scale graduation changes the camber by approximately 0°10'.

3. Tighten the two self-locking nuts.
Tightening torque: 175 Nm (17.8 kgf-m, 129 ft. lbs.)

CASTER
^ Inspection
1. Place the front wheel on turning radius gauge. Make sure the ground contacting surfaces of front and rear wheels are set at the same height.





2. Set the ST into the center of the wheel, and then install the wheel alignment gauge. ST 927380002 ADAPTER

NOTE: Refer to the "SPECIFICATIONS" for the caster values.

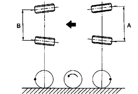
FRONT WHEEL TOE-IN
^ Inspection
1. Using a toe gauge, measure the front wheel toe-in.
Toe-in: 0 ± 3 mm (0 ± 0.12 inch)
2. Mark the rear sides of left and right tires at height corresponding to the center of spindles and measure distance "A" between marks.
3. Move the vehicle forward so that the marks line up with front sides at height corresponding to the center of spindles.
4. Measure the distance "B" between left and the right marks. Toe-in can then be obtained by the following equation:





A - B = Toe-in

^ Adjustment
1. Loosen the left and right side steering tie-rods lock nuts.





2. Turn the left and right tie rods equal amounts until the toe-in is at the specification.
Both the left and right tie-rods are right-hand threaded. To increase toe-in, turn both tie-rods clockwise equal amounts (as viewed from the inside of the vehicle).
3. Tighten the tie-rod lock nut.
Tightening torque: 83 Nm (8.5 kgf-m, 61.5 ft. lbs.)

CAUTION: Correct the tie-rod boot, if it is twisted.

NOTE: Check that the left and right wheel steering angle is within specifications.

REAR WHEEL TOE-IN
^ Inspection
1. Using a toe-in gauge, measure the rear wheel toe-in.
Toe-in: 0 ± 3 mm (0 ± 0.12 inch)
2. Mark the rear sides of left and right tires at height corresponding to the center of spindles and measure distance "A" between marks.
3. Move the vehicle forward so the that marks line up with front sides at height corresponding to the center of spindles.
4. Measure the distance "B" between left and right marks. Toe-in can then be obtained by the following equation:





A - B = Toe-in

^ Adjustment
1. Loosen the self-locking nut on inner side of link rear.





CAUTION:
^ When loosening or tightening the adjusting bolt, hold the bolt head and turn self-locking nut.
^ Discard the loosened self-locking nut and replace with a new one.

2. Turn the adjusting bolt head until toe-in is at the specification.





NOTE: When the left and right wheels are adjusted for toe-in at the same time, the movement of one scale graduation changes toe-in by approximately 1.5 mm (0.6 inch).

3. Tighten the self-locking nut.
Tightening torque: 100 Nm (10.2 kgf-m, 74 ft. lbs.)

STEERING ANGLE
^ Inspection
1. Place the vehicle on a turning radius gauge.
2. While depressing the brake pedal, turn the steering wheel fully to the left and right. With the steering wheel held at each fully turned position, measure both the inner and outer wheel steering angle.





Steering angle:

^ Adjustment
Turn the tie-rod to adjust the steering angle of both inner and outer wheels.





CAUTION:
^ Check the toe-in.
^ Correct the boot if it is twisted.

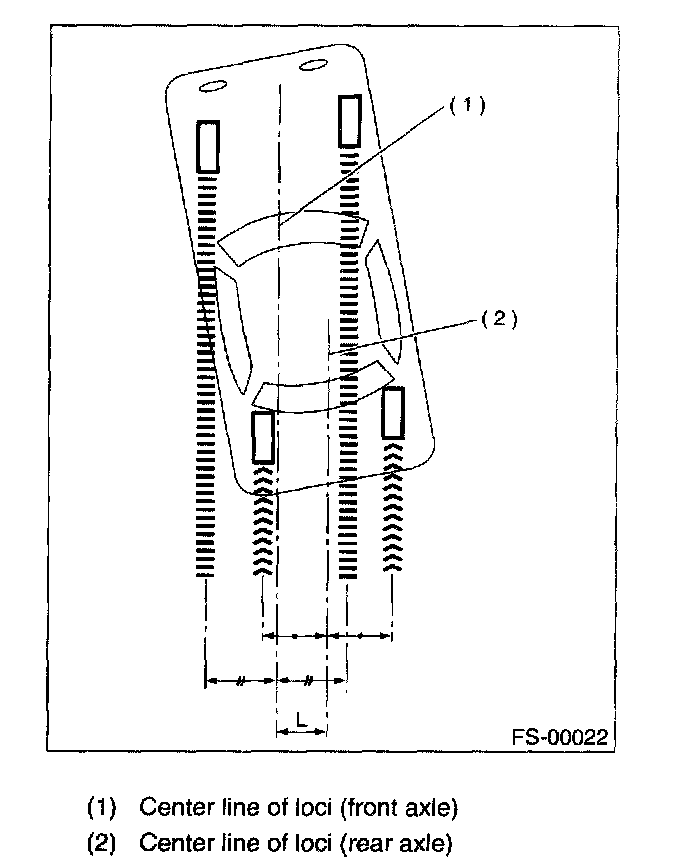
THRUST ANGLE
^ Inspection
1. Position the vehicle on a level surface.
2. Move the vehicle 3 to 4 meters directly forward.
3. Determine the locus of both front and rear axles.
4. Measure the distance "L" between center line of loci of the axles.





Thrust angle: Less than 30' when "L', is equal to or less than 22 mm (0.9 inch).

^ Adjustment
1. Make the thrust angle adjustments by turning toe-in adjusting bolts of rear suspension equally in the same direction.
2. When one rear wheel is adjusted in a toe-in direction, adjust the other rear wheel equally in toe-out direction, in order to make the thrust angle adjustment.
3. When the left and right adjusting bolts are turned incrementally by one graduation in the same direction, the thrust angle will change approximately 16' ["L" is almost equal to 12 mm (0.472 inch)].





Thrust angle: 0° ± 30'





NOTE: Thrust angle refers to a mean value of left and right rear wheel toe angles in relation to the vehicle body center line. Vehicle is driven straight in the thrust angle direction while swinging in the oblique direction depending on the degree of the mean thrust angle.





Thrust angle: r = (a - B)/2
a: Right rear wheel toe-in angle
B: Left rear wheel toe-in angle

NOTE: Here, use only positive toe-in values from each wheel to substitute for a and B in the equation.