Operation CHARM: Car repair manuals for everyone.
Manuals through 2025 now available!

Our trusted friends have launched a new website named LEMON, which has newer manuals. It also contains all the CHARM manuals.

LEMON is the spiritual successor to CHARM, I recommend you try it!

Link: lemon-manuals.la or lemon-manuals.org.ua

(Some people have issue connecting. LEMON is investigating. For now, use Firefox or change your DNS server)

Or, hide this message: temporarily or permanently

Knock Sensor: Service and Repair

REMOVAL




1. Disconnect the battery ground cable.
2. Remove the intercooler.




3. Disconnect the knock sensor connector.




4. Remove the knock sensor from the cylinder block.

INSTALLATION

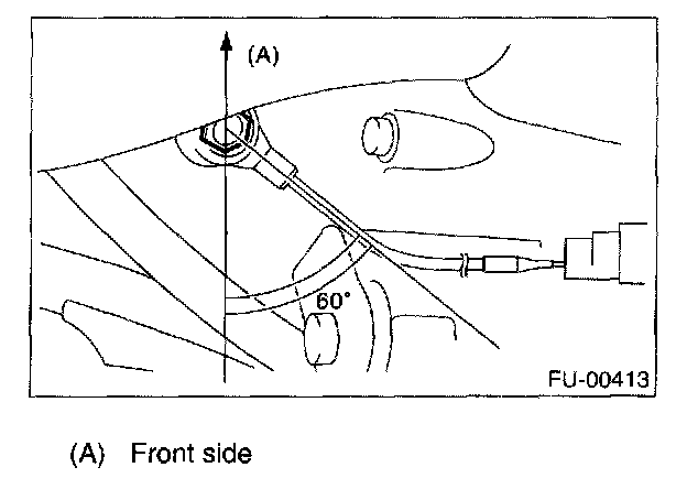
1. Install the knock sensor to the cylinder block.

Tightening torque: 24 N.m (2.4 kgf-m, 17.4 ft-lb)






NOTE: The extraction area of the knock sensor cord must be positioned at a 60 ° angle relative to the engine rear.




2. Connect the knock sensor connector.
3. Install the intercooler.




4. Connect the battery ground cable.