Operation CHARM: Car repair manuals for everyone.
Manuals through 2025 now available!

Our trusted friends have launched a new website named LEMON, which has newer manuals. It also contains all the CHARM manuals.

LEMON is the spiritual successor to CHARM, I recommend you try it!

Link: lemon-manuals.la or lemon-manuals.org.ua

(Some people have issue connecting. LEMON is investigating. For now, use Firefox or change your DNS server)

Or, hide this message: temporarily or permanently

Subaru Select Monitor

GENERAL

The on-board diagnosis function of the cruise control system uses an external Subaru Select Monitor.

The on-board diagnosis function operates in two categories, which are used depending on the type of problems;

1. Cruise cancel conditions diagnosis
1. This category of diagnosis requires actual vehicle driving in order to determine the cause, (as when cruise speed is cancelled during driving although cruise cancel condition is not entered).
2. Cruise control module memory stores the cancel condition (Code No.) which occurred during driving. When there are plural cancel conditions (Code No.), they are shown on the Subaru Select Monitor.

CAUTION:
- The cruise control memory stores not only the cruise "cancel" which occurred (although "cancel" operation is not entered by the driver), but also the "cancel" condition input by the driver.
- The content of memory is cleared when ignition switch or cruise main switch is turned OFF.

2. Real-time diagnosis
The real-time diagnosis function is used to determine whether or not the input signal system is in good order, according to signal emitted from switches, sensors, etc.
1. Vehicle cannot be driven at cruise speed because problem occurs in the cruise control system or its associated circuits.
2. Monitor the signal conditions from switches and sensors.

CRUISE CANCEL CONDITIONS DIAGNOSIS




1. Prepare Subaru Select Monitor kit.
2. Connect diagnosis cable to Subaru Select Monitor.




3. Insert cartridge into Subaru Select Monitor.
4. Connect Subaru Select Monitor to data link connector.




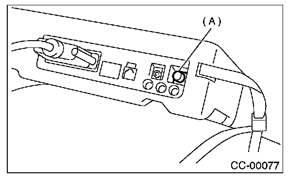
1. Data link connector (A) is located in the lower portion of the instrument panel (on the driver's side).




2. Connect diagnosis cable to data link connector.
5. Start engine and turn cruise control main switch to ON.
6. Turn Subaru Select Monitor switch (A) to ON.
7. On the �Main Menu� display screen, select the {All System Diagnosis} and press the [YES] key.

NOTE: The diagnostic trouble code (DTC) is also shown in the {Each System Check} mode. This mode is called up on the �Cruise Control Diagnosis" display screen by selecting the item {Cancel Code(s) Display}.

8. Drive vehicle at least 40 km/h (25 MPH) with cruise speed set.

9. If cruise speed is canceled itself (without doing any cancel operations), a diagnostic trouble code (DTC) will appear on select monitor display.

CAUTION:
- A diagnostic trouble code (DTC) will also appear when cruise cancel is effected by driver. Do not confuse.
- Have a co-worker ride in vehicle to assist in diagnosis during driving.

NOTE: Diagnostic trouble code (DTC) will be cleared by turning ignition switch or cruise control main switch to OFF.

REAL-TIME DIAGNOSIS

1. Connect select monitor.
2. Turn ignition switch and cruise control main switch to ON.
3. Turn Subaru Select Monitor switch to ON.
4. On the �Main Menu� display screen, select the {Each System Check} and press the [YES] key.
5. On the �System Selection Menu� display screen, select the {Cruise Control} and press the [YES] key.
6. Press the [YES] key after displayed the information of engine type.
7. On the �Cruise Control Diagnosis" display screen, select the {Current Data Display & Save} and press the [YES] key.
8. Make sure that normal indication is displayed when controls are operated as indicated below:
- Depress/release the brake pedal. (Stop light switch and brake switch turn ON or OFF.)
- Turn ON/OFF the "SET/COAST" switch.
- Turn ON/OFF the "RESUME/ACCEL" switch.
- Depress/release the clutch pedal. (MT)
- Set the selector lever to P or N. (AT)

NOTE:
- For detailed operation procedure, refer to the SUBARU SELECT MONITOR OPERATION MANUAL.
- For detailed concerning diagnostic trouble codes (DTCs), refer to the List of Diagnostic Trouble Code (DTC).