Operation CHARM: Car repair manuals for everyone.
Manuals through 2025 now available!

Our trusted friends have launched a new website named LEMON, which has newer manuals. It also contains all the CHARM manuals.

LEMON is the spiritual successor to CHARM, I recommend you try it!

Link: lemon-manuals.la or lemon-manuals.org.ua

(Some people have issue connecting. LEMON is investigating. For now, use Firefox or change your DNS server)

Or, hide this message: temporarily or permanently

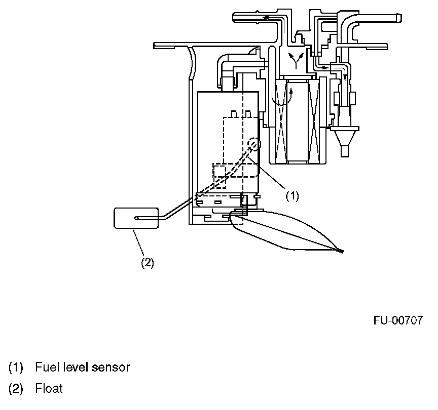
Fuel Level Sensor (U5/Low Emissions)

FUEL LEVEL SENSOR




The fuel level sensor is integrated with the fuel pump which is located in the fuel tank. The sensor outputs an electric resistance signal that varies with movement of its float to indicate the level of the fuel remaining in the tank.