Operation CHARM: Car repair manuals for everyone.
Manuals through 2025 now available!

Our trusted friends have launched a new website named LEMON, which has newer manuals. It also contains all the CHARM manuals.

LEMON is the spiritual successor to CHARM, I recommend you try it!

Link: lemon-manuals.la or lemon-manuals.org.ua

(Some people have issue connecting. LEMON is investigating. For now, use Firefox or change your DNS server)

Or, hide this message: temporarily or permanently

General Inspection

INSPECTION

1. BATTERY
Measure the battery voltage and specific gravity of electrolyte.

Standard voltage: 12 V. or more
Specific gravity: Above 1.260




2. CRUISE CONTROL CABLE
Check the cruise control cable installation.
If NG, install the cable securely.




3. ACCELERATOR CABLE
Check movement of the accelerator cable when the cruise control throttle is moved by hand.
If NG, check throttle cam.

4. THROTTLE CAM
Check that the throttle cam moves smoothly.
If NG, repair throttle cam.




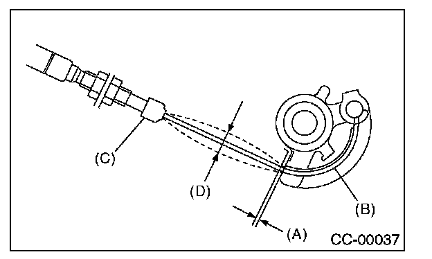
5. CABLE FREE PLAY
Check that the clearance (A) between throttle cam (B) and lever or cable deflection (D) is within specifications.

Throttle cam-to-lever clearance:
0 - 1 mm (0 - 0.04 in)

Inner cable deflection:
1 - 8 mm (0.04 - 0.31 in)

If NG, adjust the clearance or the deflection with the adjust nut.

NOTE: Check that the cap (C) is positioned in the groove.