Operation CHARM: Car repair manuals for everyone.
Manuals through 2025 now available!

Our trusted friends have launched a new website named LEMON, which has newer manuals. It also contains all the CHARM manuals.

LEMON is the spiritual successor to CHARM, I recommend you try it!

Link: lemon-manuals.la or lemon-manuals.org.ua

(Some people have issue connecting. LEMON is investigating. For now, use Firefox or change your DNS server)

Or, hide this message: temporarily or permanently

Oil Pump: Service and Repair

Oil Pump

REMOVAL





1. Disconnect battery ground cable.
2. Lift-up the vehicle.





3. Remove under cover.
4. Lower the vehicle.
5. Remove radiator.





6. Remove crankshaft position sensor.
7. Remove V-belts.





8. Remove rear side V-belt tensioner.





9. Remove crankshaft pulley by using ST.
ST 499977100 CRANKSHAFT PULLEY WRENCH
10. Remove water pump.
11. Remove timing belt guide. (MT vehicle)





12. Remove crankshaft sprocket.
13. Remove bolts which install oil pump onto cylinder block.





NOTE: To disassemble and check oil pump, loosen relief valve plug before removing the pump.

14. Remove oil pump by using flat bladed screw driver.





CAUTION: Be careful not to scratch mating surfaces of cylinder block and oil pump.

INSTALLATION
Install in the reverse order of removal. Do the following:
1. Apply fluid gasket to matching surfaces of oil pump,
Fluid gasket: Part No. 004403007 THREE BOND 1215 or equivalent





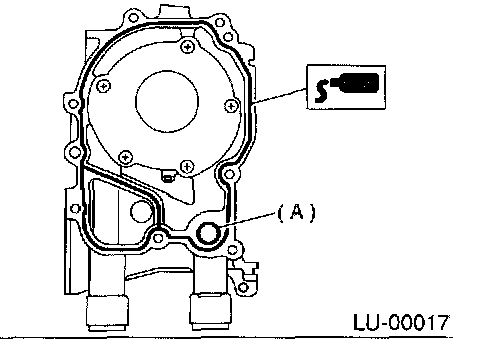
2. Replace O-ring (A) with a new one.





3. Apply engine oil to the inside of the oil seal.
4. Be careful not to scratch oil seal when installing oil pump on cylinder block.
5. Position the oil pump, aligning the notched area with the crankshaft, and push the oil pump straight.

CAUTION: Make sure the oil seal lip is not folded.





6. Install oil pump.
Tightening torque: 6.4 Nm (0.65 kgf-m, 4.7 ft. lbs.)

DISASSEMBLY





Remove screws which secure oil pump cover and disassemble oil pump. Inscribe alignment marks on inner and outer rotors so that they can be replaced in their original positions during reassembly.

ASSEMBLY
1. Install front oil seal by using ST.
ST 499587100 OIL SEAL INSTALLER





NOTE: Use a new oil seal.

2. Apply engine oil to inner and outer rotors.
3. Install inner and outer rotors in their original positions.
4. Install oil relief valve and relief valve spring.





5. Install oil pump cover.
Tightening torque:
T1: 5 Nm (0.5 kgf-m, 3.6 ft. lbs.)
T2: 44 Nm (4.5 kgf-m, 33 ft. lbs.)

INSPECTION
TIP CLEARANCE





Measure the tip clearance of rotors. If the clearance exceeds the limit, replace rotors as a set.
Tip clearance:
Standard 0.04 - 0.14 mm (0.0016 - 0.0055 inch)
Limit 0.18 mm (0.0071 inch)

CASE CLEARANCE





Measure the clearance between the outer rotor and the cylinder block rotor housing. If the clearance exceeds the limit, replace the rotor.
Case clearance:
Standard 0.10 - 0.175 mm (0.0039 - 0.0069 inch)
Limit 0.20 mm (0.0079 inch)

SIDE CLEARANCE





Measure clearance between oil pump inner rotor and pump cover. If the clearance exceeds the limit, replace rotor or pump body.
Side clearance:
Standard 0.02 - 0.07 mm (0.0008 - 0.0028 inch)
Limit 0.12 mm (0.0047 inch)

OIL RELIEF VALVE
Check the valve for fitting condition and damage, and the relief valve spring for damage and deterioration. Replace the parts if defective.
Relief valve spring:
Free length 72.8 mm (2.866 inch)
Installed length 54.7 mm (2.154 inch)
Load when installed 81.3 N (8.29 kgf, 18.28 lb)

OIL PUMP CASE
Check the oil pump case for worn shaft hole, clogged oil passage, worn rotor chamber, cracks, and other faults.

OIL SEAL
Check the oil seal lips for deformation, hardening, wear, etc. and replace if defective.