Operation CHARM: Car repair manuals for everyone.
Manuals through 2025 now available!

Our trusted friends have launched a new website named LEMON, which has newer manuals. It also contains all the CHARM manuals.

LEMON is the spiritual successor to CHARM, I recommend you try it!

Link: lemon-manuals.la or lemon-manuals.org.ua

(Some people have issue connecting. LEMON is investigating. For now, use Firefox or change your DNS server)

Or, hide this message: temporarily or permanently

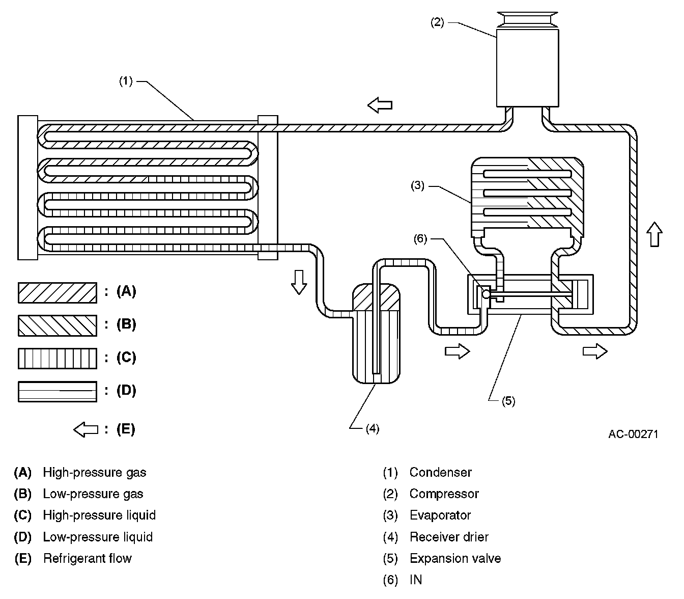
Air Conditioning Cycle

Air Conditioning Cycle





General
The refrigerant recirculates in the air conditioning system, flowing out of the compressor, passing through the condenser, receiver drier and evaporator, and returning to the compressor.

The flow of refrigerant to the evaporator is controlled by an expansion valve located inside the evaporator.

The compressor operates and stops repeatedly to maintain the evaporator temperature within a specified range. When the evaporator temperature falls below the specified temperature, the thermo- control amplifier stops the compressor operation. When the evaporator temperature rises above the specified temperature, the thermo-control amplifier puts back the compressor into operation.

The refrigerant system is protected against excessively high or low pressures by a pressure switch. If the system pressure rises or drops excessively, the pressure switch is activated to prevent the compressor from operating.