Operation CHARM: Car repair manuals for everyone.
Manuals through 2025 now available!

Our trusted friends have launched a new website named LEMON, which has newer manuals. It also contains all the CHARM manuals.

LEMON is the spiritual successor to CHARM, I recommend you try it!

Link: lemon-manuals.la or lemon-manuals.org.ua

(Some people have issue connecting. LEMON is investigating. For now, use Firefox or change your DNS server)

Or, hide this message: temporarily or permanently

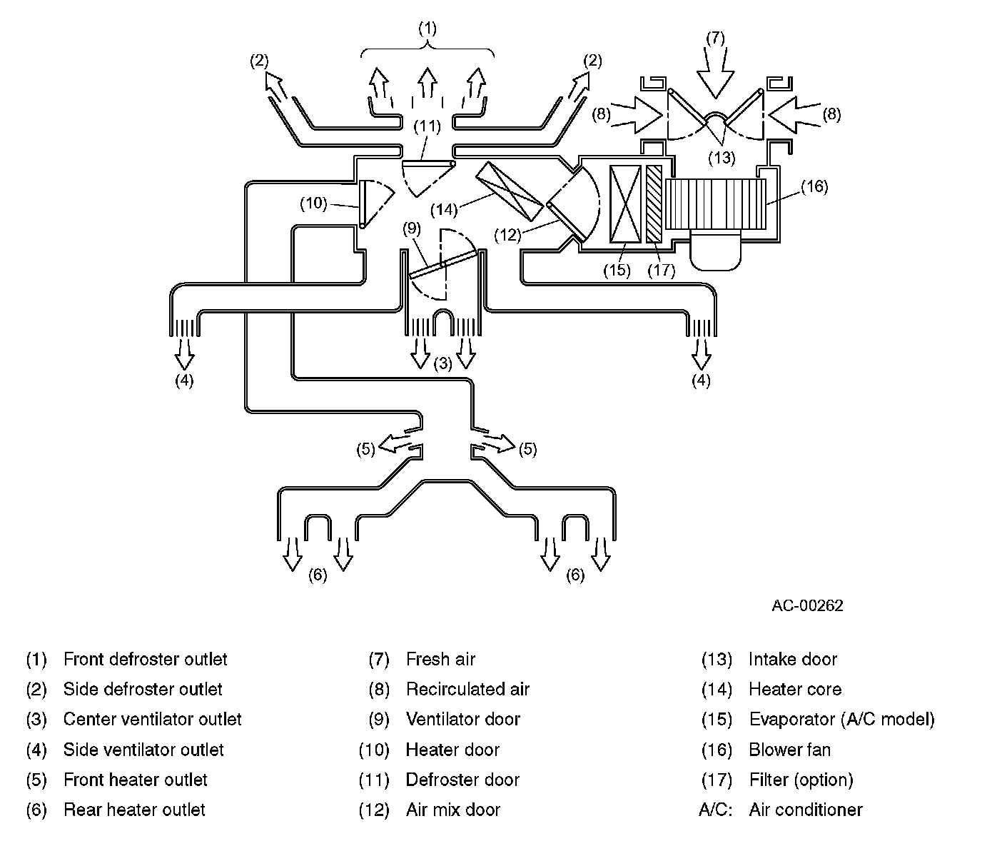
Heater System





Heater System
The heater control unit is located in the middle portion of the instrument panel.

The heater unit has mode doors and an air mix door. The intake unit has an intake door and a blower motor. The heater unit and the intake unit are regulated by their control units.

Fresh outside air is introduced into the cabin through the center and side ventilators when the blower fan is operated.

All models are equipped with front side window defrosters.

An optional filter is provided in front of the evaporator inlet.