Operation CHARM: Car repair manuals for everyone.
Manuals through 2025 now available!

Our trusted friends have launched a new website named LEMON, which has newer manuals. It also contains all the CHARM manuals.

LEMON is the spiritual successor to CHARM, I recommend you try it!

Link: lemon-manuals.la or lemon-manuals.org.ua

(Some people have issue connecting. LEMON is investigating. For now, use Firefox or change your DNS server)

Or, hide this message: temporarily or permanently

Valve Clearance: Adjustments

Valve Clearance

ADJUSTMENT

NOTE: Adjustment of valve clearance should be performed while engine is cold.

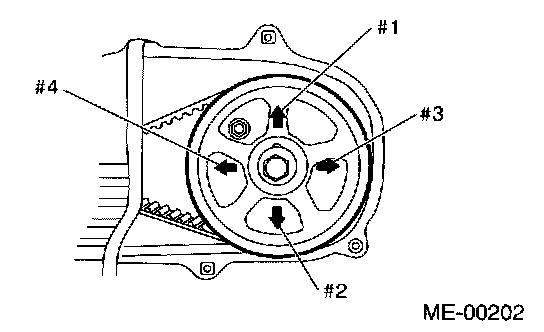
1. Set #1 cylinder piston to top dead center of compression stroke by rotating crankshaft pulley clockwise.





NOTE: When arrow mark (A) on camshaft sprocket (LH) comes exactly to the top, #1 cylinder piston is brought to the top dead center of compression stroke.

2. Adjust the #1 cylinder valve clearance.
1. Loosen the valve rocker nut and screw.
2. Place suitable thickness gauge.
3. While noting valve clearance, tighten valve rocker adjust screw.
4. When specified valve clearance is obtained, tighten valve rocker nut.
Tightening torque: 10 Nm (1.0 kgf-m, 7.2 ft. lbs.)





NOTE:
^ Insert the thickness gauge in as horizontal a direction as possible with respect to the valve stem end face.
^ Adjust exhaust valve clearances while lifting-up the vehicle.

Valve clearance:
Intake; 0.20 ± 0.02 mm (0.0079 - 0.0008 inch)
Exhaust; 0.25 ± 0.02 mm (0.0098 - 0.0008 inch)
3. Ensure that valve clearances are within specifications.
4. Turn crankshaft two complete rotations until #1 cylinder piston is again set to top dead center on compression stroke.
5. Ensure that valve clearances are within specifications. If necessary, readjust valve clearances.
6. Similar to adjustment procedures used for #1 cylinder, adjust #2, #3 and #4 cylinder valve clearances.





NOTE:
^ Be sure to set cylinder pistons to their respective top dead centers on compression stroke before adjusting valve clearances.
^ To set #3, #2 and #4 cylinder pistons to their top dead centers on compression stroke, turn crankshaft pulley clockwise 90° at a time starting with arrow mark on left-hand camshaft sprocket facing up.