Front Oxygen Sensor
REMOVAL1. Disconnect battery ground cable.
2. Disconnect connector from front oxygen (A/F) sensor.
3. Lift-up the vehicle.
4. Remove under cover.
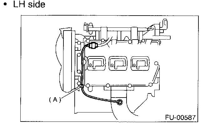
5. Separate harness from clip (A).
6. Apply SUBARU CRC or its equivalent to threaded portion of front oxygen (A/F) sensor, and leave it for one minute or more.
SUBARU CRC (Part No. 004301003)
7. Remove front oxygen (A/F) sensor.
CAUTION: When removing front oxygen (A/F) sensor, do not force front oxygen (A/F) sensor especially when exhaust pipe is cold, otherwise it will damage exhaust pipe.
INSTALLATION
1. Before installing front oxygen (A/F) sensor, apply anti-seize compound only to threaded portion of front oxygen (A/F) sensor to make the next removal easier.
Anti-seize compound: SS-30 by JET LUBE
CAUTION: Never apply anti-seize compound to protector of front oxygen (A/F) sensor.
2. Install front oxygen (A/F) sensor.
Tightening torque: 21 N.m (2.1 kgf-m, 15.2 ft-lb)
3. Secure harness to clip (A).
4. Install under cover.
5. Lower the vehicle.
6. Connect connector of front oxygen (A/F) sensor.
7. Connect battery ground cable.