Operation CHARM: Car repair manuals for everyone.
Manuals through 2025 now available!

Our trusted friends have launched a new website named LEMON, which has newer manuals. It also contains all the CHARM manuals.

LEMON is the spiritual successor to CHARM, I recommend you try it!

Link: lemon-manuals.la or lemon-manuals.org.ua

(Some people have issue connecting. LEMON is investigating. For now, use Firefox or change your DNS server)

Or, hide this message: temporarily or permanently

Restraints and Safety Systems

Airbag Connector

OPERATION

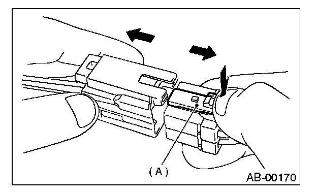
1. DRIVER'S AIRBAG, FRONT SUB SENSOR HARNESS TO AIRBAG MAIN HARNESS AND PRETENSIONER

- How to disconnect:
1. Push lock arm (A).




2. With lock arm (A) pushed in, move slide lock (B) in the direction of the arrow.




3. With slide lock (B) pulled, remove lock arm (A) to its original position, and then pull in the direction of the arrow and separate the connector.

CAUTION: When pulling, be sure to hold onto the connector and not the wire.

- How to connect:




Holding the connector, and push it in carefully until a connecting sound is heard.

CAUTION: Be sure to insert the connector in until it locks. Then pull on it gently to make sure that it is locked.

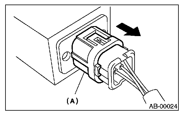
2. FRONT SUB-SENSOR

- How to disconnect:




1. Holding outer part (A), pull it in the direction of the arrow.

CAUTION: When pulling, be sure to hold onto the connector and not the wire.

- How to connect:




Holding the connector, and push it in carefully until a connecting sound is heard.

CAUTION:
- Outer (A) moves back, and so do not put your hand on the outer part.
- Be sure to insert the connector in until it locks. Then pull on it gently to make sure that it is locked.

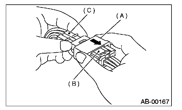
3. PASSENGER'S AIRBAG

- How to disconnect:




Holding male connector (C) in one hand, use your other hand to pull slide lock (A) in the direction of the arrow.

CAUTION: When pulling, be sure to hold onto the slide lock and not the male connector or wire.

- How to connect:

1. Insert male connector (C) over female connector socket (B), and push slide lock (A) into the male connector tabs.

CAUTION: Do not hold onto the slide lock.




2. If the female connector socket (B) is pushed, slide lock (A) will go past slide lock hook and connect.

4. AIRBAG MAIN HARNESS TO BODY, HARNESS CONNECTOR

1. How to disconnect:




1. Push lock arm (A) to let green lever (B) pop out.




2. Then separate the connector halves by pulling them apart while pressing lever (A).

CAUTION: When pulling, be sure to hold onto the connector and not the wire.

2. How to connect:

1. Insert the (A) connector half into the other until a "click" is heard.




2. Push in green lever (B) until a "click" is heard.
This engages the double lock mechanism.

CAUTION: Be sure to insert the connector in until it locks. Then pull on it gently to make sure that it is locked.