Operation CHARM: Car repair manuals for everyone.
Manuals through 2025 now available!

Our trusted friends have launched a new website named LEMON, which has newer manuals. It also contains all the CHARM manuals.

LEMON is the spiritual successor to CHARM, I recommend you try it!

Link: lemon-manuals.la or lemon-manuals.org.ua

(Some people have issue connecting. LEMON is investigating. For now, use Firefox or change your DNS server)

Or, hide this message: temporarily or permanently

Part 1





CYLINDER BLOCK

Cylinder Block

REMOVAL

NOTE: Before conducting this procedure, drain engine oil completely.

1. Remove intake manifold.
2. Remove V-belt.
3. Remove crankshaft pulley.
4. Remove timing belt cover.
5. Remove timing belt.
6. Remove camshaft sprocket.
7. Remove crankshaft sprocket.
8. Remove generator and A/C compressor with their brackets.





9. Remove rocker cover.
10. Remove cylinder head bolts in alphabetical sequence shown in figure.

NOTE: Leave bolts (a) and (b) engaged by three or four threads to prevent cylinder head from falling.





11. While tapping cylinder head with a plastic hammer, separate it from cylinder block.
12. Remove bolts (a) and (c) to remove cylinder head.
13. Remove cylinder head gasket.

NOTE: Do not scratch the mating surface of cylinder head and cylinder block.

14. Similarly, remove right side cylinder head.
15. Remove clutch housing cover (MT vehicles only).
16. Remove flywheel (MT vehicles only) or drive plate (AT vehicles only).
Using ST, lock crankshaft.
ST 498497100 CRANKSHAFT STOPPER





^ MT model





^ AT model
17. Remove oil separator cover.
18. Remove water by-pass pipe for heater.





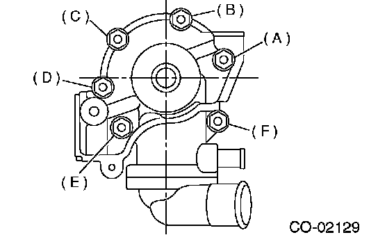
19. Loosen bolts in alphabetical sequence as shown in figure and remove water pump.





20. Remove oil pump from cylinder block. Use a flat-bladed screwdriver as shown in figure when removing oil pump.

NOTE: Be careful not to scratch the mating surface of cylinder block and oil pump.

21. Removal of oil pan
1 Turn cylinder block with #2 and #4 piston sides facing upward.
2 Remove bolts which secure oil pan to cylinder block.





3 Insert a oil pan cutter blade between cylinder block-to-oil pan clearance and remove oil pan.

NOTE: Do not use a screwdriver or similar tool in place of oil pan cutter.

22. Remove oil strainer stay.
23. Remove oil strainer.
24. Remove baffle plate.





25. Remove oil filter using ST.
ST 498547000 OIL FILTER WRENCH [outer diameter 80 mm (3.15 inch) for oil filter]
ST 18332AA000 OIL FILTER WRENCH [outer diameter 68 mm (2.68 inch) for oil filter]
ST 18332AA010 OIL FILTER WRENCH [outer diameter 65 mm (2.56 inch) for oil filter]








26. Remove water pipe.





27. Remove service hole cover and service hole plugs using hexagon wrench [14 mm (0.55 inch)].





28. Rotate crankshaft to bring #1 and #2 pistons to bottom dead center position, then remove piston snap ring through service hole of #1 and #2 cylinders.





29. Draw out piston pin from #1 and #2 pistons using ST.
ST 499097700 PISTON PIN REMOVER

NOTE: Be careful not to confuse original combination of piston, piston pin and cylinder.

30. Similarly remove piston pins from #3 and #4 pistons.
31. Remove bolts which connect cylinder block on the side of #2 and #4 cylinders.
32. Loosen bolts which connect cylinder block on the side of #1 and #3 cylinders two or three turns.
33. Set up cylinder block so that #1 and #3 cylinders are on the upper side, then remove cylinder block connecting bolts.





34. Separate left-hand and right-hand cylinder blocks.

CAUTION: When separating cylinder block, do not allow the connecting rod to fall and damage the cylinder block.

35. Remove rear oil seal.
36. Remove crankshaft together with connecting rod.
37. Remove crankshaft bearings from cylinder block using hammer handle.

NOTE: Do not confuse combination of crankshaft bearings. Press bearing at the end opposite to locking lip.

38. Remove pistons from cylinder block using hammer handle.

NOTE: Do not confuse combination of pistons and cylinders.





INSTALLATION

NOTE: Remove oil in the mating surface of bearing and cylinder block before installation. Also apply a coat of engine oil to crankshaft pins.

1. Position crankshaft on the #2 and #4 cylinder block.





2. Apply fluid packing to the mating surface of #1 and #3 cylinder block, and position it on #2 and #4 cylinder block.
Fluid packing:
Part number 004403007
THREE BOND 1215 or equivalent

NOTE: Do not allow fluid packing to jut into O-ring grooves, oil passages, bearing grooves, etc.

3. Coat the washers and threaded parts of the bolts with engine oil.





4. Tighten 10 mm cylinder block connecting bolts in alphabetical sequence shown in figure. (LH side)
Tightening torque: 10 Nm (1.0 kgf-m, 7.4 ft. lbs.)





5. Tighten 10 mm cylinder block connecting bolts in alphabetical sequence shown in figure. (RH side)
Tightening torque: 10 Nm (1.0 kgf-m, 7.4 ft. lbs.)





6. Tighten bolts (A to D) on left side of cylinder block more in alphabetical sequence.
Tightening torque: 18 Nm (1.8 kgf-m, 13.3 ft. lbs.)





7. Tighten bolts (E to J) on right side of cylinder block more in alphabetical sequence.
Tightening torque: 18 Nm (1.8 kgf-m, 13.3 ft. lbs.)





8. Tighten bolts (A and C) on left side of cylinder block 90° more in alphabetical order. And tighten bolts (B and D) more in alphabetical sequence.
Tightening torque: 40 Nm (4.1 kgf-m, 29.5 ft. lbs.





9. Tighten bolts (E to J) on right side of cylinder block 90° more in alphabetical sequence.





10. Tighten 8 mm and 6 mm cylinder block connecting bolts in alphabetical sequence shown in figure.
Tightening torque:
(A)-(G): 25 Nm (2.5 kgf-m, 18.1 ft. lbs.)
(H): 6.4 Nm (0.65 kgf-m, 4.7 ft. lbs.)





11. Install rear oil seal using ST1 and ST2.
ST1 499597100 OIL SEAL GUIDE
ST2 499587200 OIL SEAL INSTALLER
12. Position the top ring gap at (A) or (B) in the figure.





13. Position the second ring gap at 180° on the reverse side for the top ring gap.





14. Position the expander gap at (c) in the figure.





15. Position the lower rail gap at (D) in the figure.





NOTE: Align lower rail spin stopper (F) with piston side surface hole (E).





16. Position the upper rail gap at (G) in the figure.

CAUTION:
^ Ensure ring gaps do not face the same direction.
^ Ensure ring gaps are not within the piston skirt area.





17. Install snap ring. Install snap rings in piston holes located opposite service holes in cylinder block, when positioning all pistons in the corresponding cylinders.

CAUTION: Use new snap rings.








CAUTION: Piston front mark (A) faces towards the front of the engine.

18. Installing piston
1 Turn cylinder block so that #1 and #2 cylinders face upward.
2 Using ST1, turn crankshaft so that #1 and #2 connecting rods are set at bottom dead center.
ST1 499987500 CRANKSHAFT SOCKET





3 Apply a coat of engine oil to pistons and cylinders and insert pistons in their cylinders using ST2.
ST2 498747300 PISTON GUIDE
19. Installing piston pin
1 Apply a coat of engine oil to ST3.





2 Insert ST3 into service hole to align piston pin hole with connecting rod small end.
ST3 499017100 PISTON PIN GUIDE
3 Apply a coat of engine oil to piston pin and insert piston pin into piston and connecting rod through service hole.





4 Install snap ring.

CAUTION: Use new snap rings.





5 Apply fluid packing around the service hole plug.
Fluid packing:
Part number 004403007
THREE BOND 1215 or equivalent








6 Install service hole plug and gasket.

CAUTION: Use a new gasket.





7 Turn cylinder block so that #3 and #4 cylinders face upward. Using the same procedures as used for #1 and #2 cylinders, install pistons and piston pins.
20. Install water pipe.
21. Install baffle plate.
Tightening torque: 6.4 Nm (0.65 kgf-m, 4.7 ft. lbs.)
22. Install oil strainer and O-ring
Tightening torque: 10 Nm (1.0 kgf-m, 7 ft. lbs.)
23. Install oil strainer stay.





24. Apply fluid packing to matching surfaces and install oil pan.
Fluid packing:
Part number 004403012
THREE BOND 1207C or equivalent





25. Apply fluid packing to matching surfaces and the bolt thread (A) as shown in the figure, and install oil separator cover.
Tightening torque: 6.4 Nm (0.65 kgf-m, 4.7 ft. lbs.)
Fluid packing:
Part number 004403012
THREE BOND 1207C or equivalent








26. Install flywheel or drive plate. To lock crankshaft, use ST.
ST 498497100 CRANKSHAFT STOPPER
Tightening torque: 72 Nm (7.3 kgf-m, 52.8 ft. lbs.)
27. Install housing cover.





28. Installation of oil pump
1 Discard front oil seal after removal. Replace with a new one using ST.
ST 499587100 OIL SEAL INSTALLER





2 Apply fluid packing to matching surface of oil pump.
Fluid packing:
Part number 004403007
THREE BOND 1215 or equivalent





3 Apply a coat of engine oil to the inside of the oil seal.
4 Install oil pump on cylinder block. Be careful not to damage oil seal during installation.
Tightening torque: 6.4 Nm (0.65 kgf-m, 4.7 ft. lbs.)

CAUTION:
^ Do not forget to install O-ring and seal when installing oil pump.
^ Align flat surface of oil pump's inner rotor with crankshaft before installation.





29. Install water pump and gasket.
Tightening torque:
First, 12 Nm (1.2 kgf-m, 8.7 ft. lbs.)
Second, 12 Nm (1.2 kgf-m, 8.7 ft. lbs.)

CAUTION:
^ Be sure to use a new gasket.
^ When installing water pump, tighten bolts in two stages in alphabetical sequence as shown in figure.

30. Install water by-pass pipe for heater.
31. Prepare oil filter and apply a thin coat of engine oil to the seal rubber.