Operation CHARM: Car repair manuals for everyone.
Manuals through 2025 now available!

Our trusted friends have launched a new website named LEMON, which has newer manuals. It also contains all the CHARM manuals.

LEMON is the spiritual successor to CHARM, I recommend you try it!

Link: lemon-manuals.la or lemon-manuals.org.ua

(Some people have issue connecting. LEMON is investigating. For now, use Firefox or change your DNS server)

Or, hide this message: temporarily or permanently

Control Module HVAC: Testing and Inspection

INSPECTION

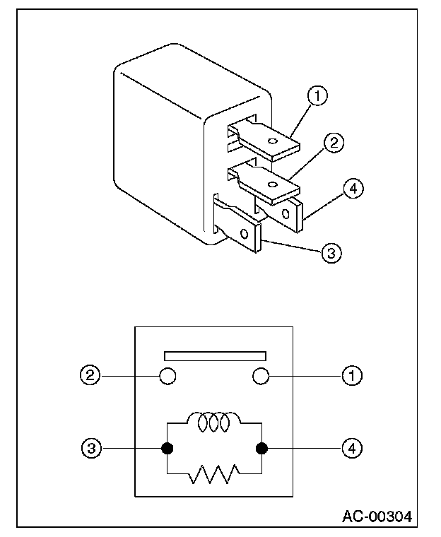
1. 4-TERMINAL TYPE




(3) - (4): Continuity exists.
(1) - (2): No continuity.

While applying battery voltage to the terminal between (3) and (4), check continuity between (1) and (2).
If no continuity exists, replace the relay with a new one.

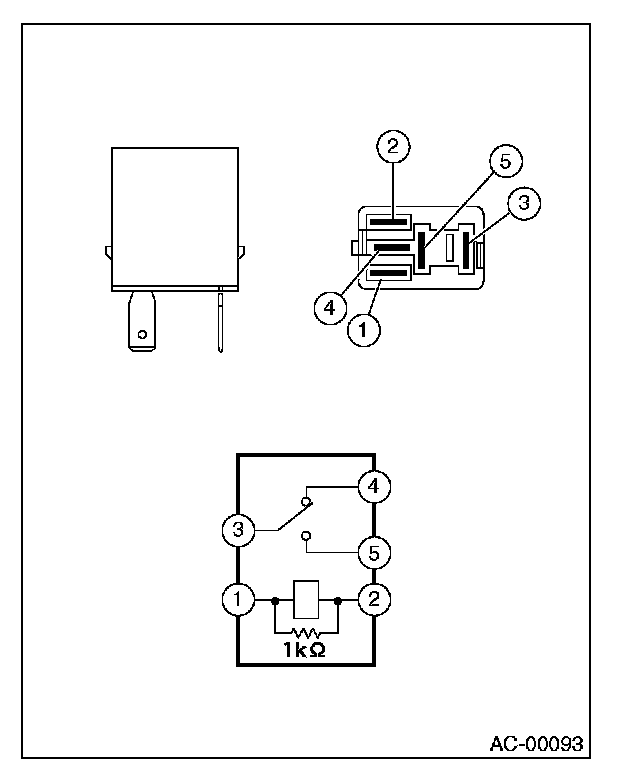
2. 5-TERMINAL TYPE




(1) - (2): Continuity exists.
(3) - (4): Continuity exists.
(3) - (5): No continuity.

While applying battery voltage to the terminal between (1) and (2), check continuity between (3) and (5).
If no continuity exists, replace the relay with a new one.