Operation CHARM: Car repair manuals for everyone.
Manuals through 2025 now available!

Our trusted friends have launched a new website named LEMON, which has newer manuals. It also contains all the CHARM manuals.

LEMON is the spiritual successor to CHARM, I recommend you try it!

Link: lemon-manuals.la or lemon-manuals.org.ua

(Some people have issue connecting. LEMON is investigating. For now, use Firefox or change your DNS server)

Or, hide this message: temporarily or permanently

Disassembly and Assembly

DISASSEMBLY




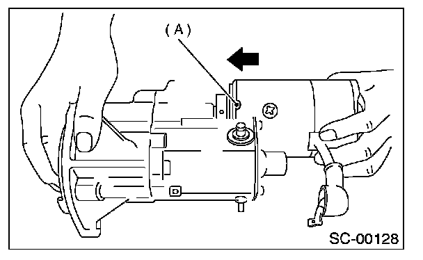
1. Disconnect lead wire (A) from magnetic switch (B).




2. Remove through-bolts (A) from end frame (B).




3. Remove yoke (A) from magnetic switch (B).




4. Remove screws (A) securing brush holder to end frame (B).




5. Separate yoke (A) from end frame (B).




6. Remove brush (A) by lifting up positive (+) side brush spring (B) using long-nose pliers.

CAUTION: Be careful not to damage brush and commutator.




7. Remove armature (A) from yoke (B).




8. Remove screws securing magnetic switch (A) to housing (B).




9. Remove housing (A) from magnetic switch (B).




10. Remove clutch (A) from housing (B).




11. Take out steel ball (A) from clutch (B).

CAUTION: Be careful not to lose steel ball.




12. Remove idle gear (A) from housing.




13. Remove retainer and roller (A) from housing.

CAUTION: Be careful not to drop retainer and roller.




14. Remove coil spring (A) from magnetic switch (B).

ASSEMBLY
Assemble in the reverse order of disassembly. Observe the following:

1. Before assembling, apply grease to the points shown in "COMPONENT PARTS".




2. Assembling magnetic switch, clutch, and housing
To assemble, first install clutch to magnetic switch, then install idle gear, and finally install clutch.

CAUTION:
- Do not forget to install steel ball and coil spring to clutch.
- Attach bearing to idle gear beforehand.




3. Installing armature (A) to yoke (B)




4. Installing brushes
Assemble brush holder to yoke as shown, then assemble two yoke-side brushes to brush holder.




5. Installing end frame
When assembling end frame to yoke, align notched portion (A) of end frame with lead wire grommet (B).




6. Installing yoke
When installing yoke to magnetic switch, align notch (A) of yoke with groove of magnetic switch.