Operation CHARM: Car repair manuals for everyone.
Manuals through 2025 now available!

Our trusted friends have launched a new website named LEMON, which has newer manuals. It also contains all the CHARM manuals.

LEMON is the spiritual successor to CHARM, I recommend you try it!

Link: lemon-manuals.la or lemon-manuals.org.ua

(Some people have issue connecting. LEMON is investigating. For now, use Firefox or change your DNS server)

Or, hide this message: temporarily or permanently

Timing Belt: Service and Repair


The contents of this article reflects service manual update
18-137-09 dated 02/23/09.


REMOVAL
TIMING BELT
1. Remove the V-belt.
2. Remove the crankshaft pulley.
3. Remove the timing belt cover.





















4. Remove the timing belt guides (MT model).
5. If the alignment mark and/or arrow mark (which indicates rotation direction) on timing belt fade away, put new marks before removing the timing belt as follows:






1. Turn the crankshaft using ST, and align the alignment marks on crankshaft sprocket, intake camshaft sprocket (LH), exhaust camshaft sprocket (LH), intake camshaft sprocket (RH) and exhaust camshaft sprocket (RH) with notches of timing belt cover and cylinder block.
ST 499987500 CRANKSHAFT SOCKET
















2. Using white paint, put alignment and/or arrow marks on the timing belts in relation to the sprockets.






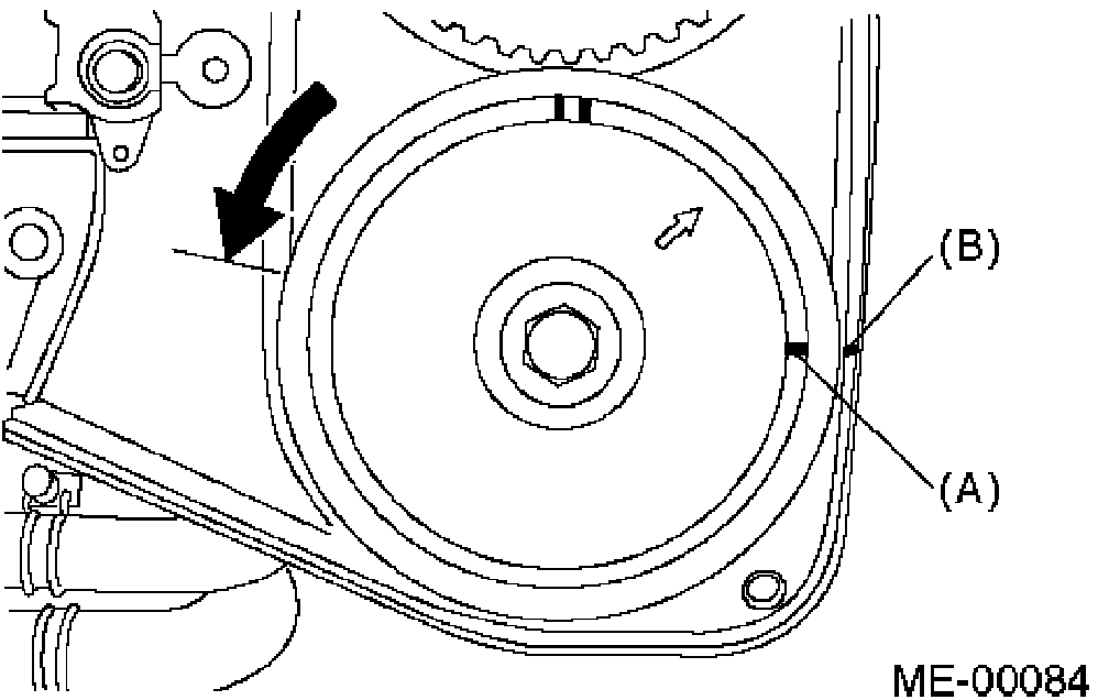
6. Remove the belt idler (A).
7. Remove the timing belt.

CAUTION: After the timing belt has been removed, never rotate the intake and exhaust, camshaft sprocket. If the camshaft sprocket is rotated, the intake and exhaust valve heads strike together and valve stems are bent.

BELT IDLER AND AUTOMATIC BELT TENSION ADJUSTER ASSEMBLY






1. Remove the belt idler (B) and (C).






2. Remove the belt idler No. 2.






3. Remove the automatic belt tension adjuster assembly.

INSTALLATION
AUTOMATIC BELT TENSION ADJUSTER ASSEMBLY AND BELT IDLER
1. Preparation for installation of automatic belt tension adjuster assembly:

NOTE:
- Always use a vertical type pressing tool to move the adjuster rod down.
- Do not use a lateral type vise.
- Push the adjuster rod vertically.
- Be sure to slowly move the adjuster rod down applying a pressure of 294 N (30 kgf, 66 lbs.).
- Press-in the push adjuster rod gradually taking more than 3 minutes.
- Do not allow press pressure to exceed 9,807 N (1,000 kgf, 2,205 lbs.).
- Press the adjuster rod as far as the end surface of cylinder. Do not press the adjuster rod into the cylinder.
- Doing so may damage the cylinder.
- Do not release the press pressure until stopper pin is completely inserted.

1. Attach the automatic belt tension adjuster assembly to the vertical pressing tool.






2. Slowly move the adjuster rod down with a pressure of 165 N (16.8 kgf, 37.1 lb) until the adjuster rod is aligned with the stopper pin hole in the cylinder.






3. With a 2 mm (0.08 inch) diameter stopper pin or a 2 mm (0.08 inch) (nominal) diameter hex bar wrench inserted into the stopper pin hole in the cylinder, secure the adjuster rod.






2. Install the automatic belt tension adjuster assembly.






3. Install the belt idler No. 2.






4. Install the belt idler.

TIMING BELT
1. Preparation for installation of automatic belt tension adjuster assembly.
2. Crankshaft and camshaft sprocket alignment.






1. Align mark (A) on the crankshaft sprocket with mark on the oil pump cover at cylinder block.






2. Align single line mark (A) on the exhaust camshaft sprocket (RH) with notch (B) on timing belt cover.






3. Align single line mark (A) on the intake camshaft sprocket (RH) with notch (B) on timing belt cover.
(Make sure double lines (C) on intake camshaft and exhaust camshaft sprockets are aligned.)






4. Align single line mark (A) on exhaust camshaft sprocket (LH) with notch (B) on timing belt cover by turning the sprocket counterclockwise (as viewed from front of engine).






5. Align the single line mark (A) on intake camshaft sprocket (LH) with notch (B) on timing belt cover by turning the sprocket clockwise (as viewed from front of engine).
Ensure the double lines (C) on intake and exhaust camshaft sprockets are aligned.
6. Ensure the camshaft and crankshaft sprockets are positioned properly.

CAUTION:






- Intake and exhaust camshafts for this DOHC engine can be independently rotated with the timing belts removed. As can be seen from the figure, if the intake and exhaust valves are lifted simultaneously, their heads will interfere with each other, resulting in bent valves.
- When the timing belts are not installed, four camshafts are held at the "zero-lift" position, where all cams on camshafts do not push the intake and exhaust valves down. (Under this condition, all valves remain closed.)
- When the camshafts are rotated to install the timing belts, #2 intake and #4 exhaust cam of camshafts (LH) are held to push their corresponding valves down. (Under this condition, these valves are held lifted.) Camshafts (RH) are held so that their cams do not push valves down.
- Camshafts (LH) must be rotated from the "zero-lift" position to the position where the timing belt is to be installed at as small an angle as possible, in order to prevent mutual interference of intake and exhaust valve heads.






- Do not allow the camshafts to rotate in the direction shown in the figure as this causes both intake and exhaust valves to lift simultaneously, resulting in interference with their heads.

3. Installation of timing belt:
Align the alignment mark on timing belt with marks on sprockets in alphabetical order shown in the figure. While aligning marks, position the timing belt properly.

CAUTION:
- Disengagement of more than three timing belt teeth may result in interference between the valve and piston.






- Ensure the belt's rotating direction is correct.






4. Install the belt idlers.

NOTE: Make sure that the marks on the timing belt and sprockets are aligned.

5. After ensuring that the marks on the timing belt and sprockets are aligned, remove the stopper pin from tensioner adjuster.
6. Install the timing belt guide. (MT model)
1. Temporarily tighten the bolts.





















2. Check and adjust the clearance between timing belt and timing belt guide.





















3. Tighten the bolts.
7. Install the timing belt cover.
8. Install the crankshaft pulley.
9. Install the V-belt.

INSPECTION
TIMING BELT
1. Check the timing belt teeth for breaks, cracks, and wear. If any fault is found, replace the belt.






2. Check the condition of back side of belt; if any crack is found, replace the belt.

NOTE:
- Be careful not to let oil, grease or coolant contact the belt. Remove quickly and thoroughly if this happens.
- Do not bend the belt sharply.

AUTOMATIC BELT TENSION ADJUSTER
1. Visually check the oil seals for leaks, and rod ends for abnormal wear or scratches. if necessary, replace the automatic belt tension adjuster assembly.

NOTE: Slight traces of oil at rod's oil seal does not indicate a problem.

2. Check that the adjuster rod does not move when a pressure of 294 N (30 kgf, 66 lbs.) is applied to it. This is to check adjuster rod stiffness.
3. If the adjuster rod is not stiff and moves freely when applying 294 N (30 kgf, 66 lbs.), check it using the following procedures:
1. Slowly press the adjuster rod down to the end surface of the cylinder. Repeat this motion 2 or 3 times.
2. With the adjuster rod moved all the way up, apply a pressure of 294 N (30 kgf, 66 lbs.) to it. Check the adjuster rod stiffness.
3. If the adjuster rod is not stiff and moves down, replace the automatic belt tension adjuster assembly with a new one.

NOTE:
- Always use a vertical type pressing tool to move the adjuster rod down.
- Do not use a lateral type vise.
- Push the adjuster rod vertically.
- Press-in the push adjuster rod gradually taking more than 3 minutes.
- Do not allow press pressure to exceed 9,807 N (1,000 kgf, 2,205 lb).
- Press the adjuster rod as far as the end surface of the cylinder. Do not press the adjuster rod into the cylinder. Doing so may damage the cylinder.






4. Measure the extension of rod beyond the body. If it is not within specifications, replace with a new one.

BELT TENSION PULLEY
1. Check the mating surfaces of timing belt and contact point of adjuster rod for abnormal wear or scratches. Replace the belt tension pulley if faulty.
2. Check the belt tension pulley for smooth rotation. Replace if noise or excessive play is noted.
3. Check the belt tension pulley for grease leakage.

BELT IDLER
1. Check the belt idler for smooth rotation. Replace if noise or excessive play is noted.
2. Check the outer contacting surfaces of idler pulley for abnormal wear and scratches.
3. Check the belt idler for grease leakage.