Operation CHARM: Car repair manuals for everyone.
Manuals through 2025 now available!

Our trusted friends have launched a new website named LEMON, which has newer manuals. It also contains all the CHARM manuals.

LEMON is the spiritual successor to CHARM, I recommend you try it!

Link: lemon-manuals.la or lemon-manuals.org.ua

(Some people have issue connecting. LEMON is investigating. For now, use Firefox or change your DNS server)

Or, hide this message: temporarily or permanently

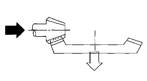
Front Differential Assembly

Front Differential Assembly

REMOVAL
1. Remove the manual transmission assembly from vehicle.
2. Remove the transfer case with extension case assembly.
3. Remove the transmission case.
4. Remove the drive pinion shaft assembly.
5. Remove the main shaft assembly.
6. Remove the differential assembly.





NOTE: Be careful not to confuse the right and left roller bearing outer races.





7. Remove the differential side retainers using ST.
ST 499787000 WRENCH ASSY
8. Remove the bearing outer race from transmission case.
ST 398527700 PULLER ASSY

INSTALLATION
1. Insert the bearing outer race to transmission case.

NOTE: Apply the transmission gear oil to outer surface of bearing outer race.

2. Install the differential side retainers using ST.
ST 499787000 WRENCH ASSY
3. Install the differential assembly.





NOTE: Be careful not to fold the sealing lip of oil seal.

4. Install the main shaft assembly.
5. Install the drive pinion assembly.
6. Install the transmission case.
7. Install the transfer case with extension case assembly.
8. Install the manual transmission assembly to vehicle.

DISASSEMBLY
DIFFERENTIAL CASE ASSEMBLY





1. Loosen the twelve bolts and remove the hypoid driven gear.





2. Drive out the straight pin from differential assembly toward hypoid driven gear.
ST 899904100 REMOVER





3. Pull out the pinion shaft, and remove the differential bevel pinion and gear and washer.





4. Remove the roller bearing using ST.
ST 899524100 PULLER SET

SIDE RETAINER

NOTE: Replace the oil seal and O-ring after adjustment of drive pinion gear backlash and tooth contact.





1. Remove the O-ring.





2. Remove the oil seal.

ASSEMBLY
DIFFERENTIAL CASE ASSEMBLY





1. Install the bevel gear and bevel pinion together with washers, and insert pinion shaft.

NOTE: Face the chamfered side of washer toward gear.

2. Measure the backlash between bevel gear and pinion. If it is not within specifications, install a suitable washer to adjust it.





NOTE: Be sure the pinion gear tooth contacts adjacent gear teeth during measurement.

ST1 498247001 MAGNET BASE
ST2 498247100DIAL GAUGE
Standard backlash: 0.13 - 0.18 mm (0.0051 - 0.0071 inch)





3. Align the pinion shaft and differential case at their holes, and drive the straight pin into holes from the hypoid driven gear side, using ST.

NOTE: Lock the straight pin after installing.

ST 899904100 REMOVER





4. Install the roller bearing to differential case.

NOTE: Do not apply pressure in excess of 10 kN (1 ton,1.1 US ton, 1.0 Imp ton).

NOTE: Be careful because the roller bearing outer races are used as a set.

ST1 499277100 BUSH 1-2 INSTALLER
ST2 398497701 ADAPTER





5. Install the hypoid driven gear to differential case using twelve bolts.
Tightening torque: T: 62 Nm (6.3 kgf-m, 45.6 ft. lbs.)

SIDE RETAINER





1. Install a new oil seal.
ST 18675AA000 DIFFERENTIAL OIL SEAL INSTALLER
2. Install a new O-ring.





NOTE: Do not stretch or damage the O-ring.

INSPECTION





Repair or replace the differential gear in the following cases:
^ The hypoid drive gear and drive pinion shaft tooth surface are damaged, excessively worn, or seized.
^ The roller bearing on the drive pinion shaft has a worn or damaged roller path.
^ There is damage, wear, or seizure of the differential bevel pinion, differential bevel gear, washer, pinion shaft, and straight pin.
^ The differential case has worn or damaged sliding surfaces.

BEVEL PINION GEAR BACKLASH





Measure the backlash between bevel gear and pinion. If it is not within specifications, install a suitable washer to adjust it.

NOTE: Be sure the pinion gear tooth contacts adjacent gear teeth during measurement.

ST1 498247001 MAGNET BASE
ST2 498247100 DIAL GAUGE
Standard backlash: 0.13 - 0.18 mm (0.0051 - 0.0071 inch)

HYPOID GEAR BACKLASH
1. Insert the axle shaft which is SUBARU genuine parts to both sides of side retainer hole. Part No. 38415AA090 AXLE SHAFT
2. Set the ST1, ST2 and ST3. Insert the needle through transmission oil drain plug hole so that the needle comes in contact with the tooth surface at a right angle.
ST1 498247001 MAGNET BASE
ST2 498247100 DIAL GAUGE
ST3 498255400 PLATE





3. Move clockwise and counter clockwise to contact tooth, and then read the value of dial gauge runout.
Backlash: 0.13 - 0.18 mm (0.0051 - 0.0071 inch)
4. If the backlash is outside specified range, adjust it by turning the holder in right side case.

TOOTH CONTACT OF HYPOID GEAR
Check the tooth contact of hypoid gear as follows: Apply a uniform thin coat of red lead on both tooth surfaces of 3 or 4 teeth of the hypoid gear. Move the hypoid gear back and forth by turning the transmission main shaft until a definite contact pattern is developed on hypoid gear, and judge whether face contact is correct. If it is inaccurate, make adjustment.





^ Tooth contact is correct.

ADJUSTMENT
BEVEL PINION GEAR BACKLASH





1. Disassemble the front differential.
2. Select a different washer from the table and install.
3. Adjust until the specified value is obtained.
Standard backlash: 0.13 - 0.18 mm (0.0051 - 0.0071 inch)

HYPOID GEAR BACKLASH





Adjust backlash by turning the holder in right side case.
ST 499787000 WRENCH ASSY





NOTE: Each time holder rotates one tooth, backlash changes by 0.05 mm (0.020 inch).

TOOTH CONTACT OF HYPOID GEAR
1. Adjust until the teeth contact is correct.
2. Check and adjust the teeth contact with following table.
^ Tooth contact





Checking item: Tooth contact pattern is slightly shifted toward to toe side under no-load rotation. [When loaded, contact pattern moves toward heel.
^ Face contact
Checking item: Backlash is too large.





Contact pattern





Corrective action:Increase thickness of drive pinion height adjusting shim in order to bring drive pinion close to crown gear.
^ Flank contact





Checking item: Backlash is too small.
Contact pattern





Corrective action: Reduce thickness of drive pinion height adjusting shim in order to move drive pinion away from crown gear.
^ Toe contact (Inside end contact)





Checking item: Contact areas is small.
Contact pattern





Corrective action: Increase thickness of drive pinion height adjusting shim in order to bring drive pin-ion close to crown gear.
^ Heel contact (Outside end contact)





Checking item: Contact areas is small.
Contact pattern





Corrective action: Reduce thickness of drive pinion height adjusting shim in order to move drive pinion away from crown gear.