Operation CHARM: Car repair manuals for everyone.
Manuals through 2025 now available!

Our trusted friends have launched a new website named LEMON, which has newer manuals. It also contains all the CHARM manuals.

LEMON is the spiritual successor to CHARM, I recommend you try it!

Link: lemon-manuals.la or lemon-manuals.org.ua

(Some people have issue connecting. LEMON is investigating. For now, use Firefox or change your DNS server)

Or, hide this message: temporarily or permanently

Liftgate Window Glass: Service and Repair

REMOVAL

1. Remove the rear gate garnish.
2. Remove the electrical connector from rear defogger terminal.




3. Remove the glass in same procedure as for windshield glass.

NOTE: A matching pin is cemented to corners of the glass on the compartment side. Use a piano wire when cutting each pin.

INSTALLATION




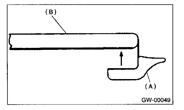
1. Install a new rubber strip A. by aligning it with the end of the rear gate glass (B).




2. Install the glass in same procedure as for windshield glass.

3. About one hour after installation, conduct a leak test.
4. After completion of all work, allow the vehicle to stand for about 24 hours.

NOTE:
- For minimum drying time and time the vehicle must be left standing before driving after bonding, follow instructions or instruction manual from the adhesive manufacturer.
- When a vehicle is returned to the user, tell him or her that the vehicle should not be subjected to heavy impact for at least three days.

5. Connect the rear defogger terminals.
6. Install the rear gate garnish.