Operation CHARM: Car repair manuals for everyone.
Manuals through 2025 now available!

Our trusted friends have launched a new website named LEMON, which has newer manuals. It also contains all the CHARM manuals.

LEMON is the spiritual successor to CHARM, I recommend you try it!

Link: lemon-manuals.la or lemon-manuals.org.ua

(Some people have issue connecting. LEMON is investigating. For now, use Firefox or change your DNS server)

Or, hide this message: temporarily or permanently

Ignition Control System

Ignition Control System

Type 1:




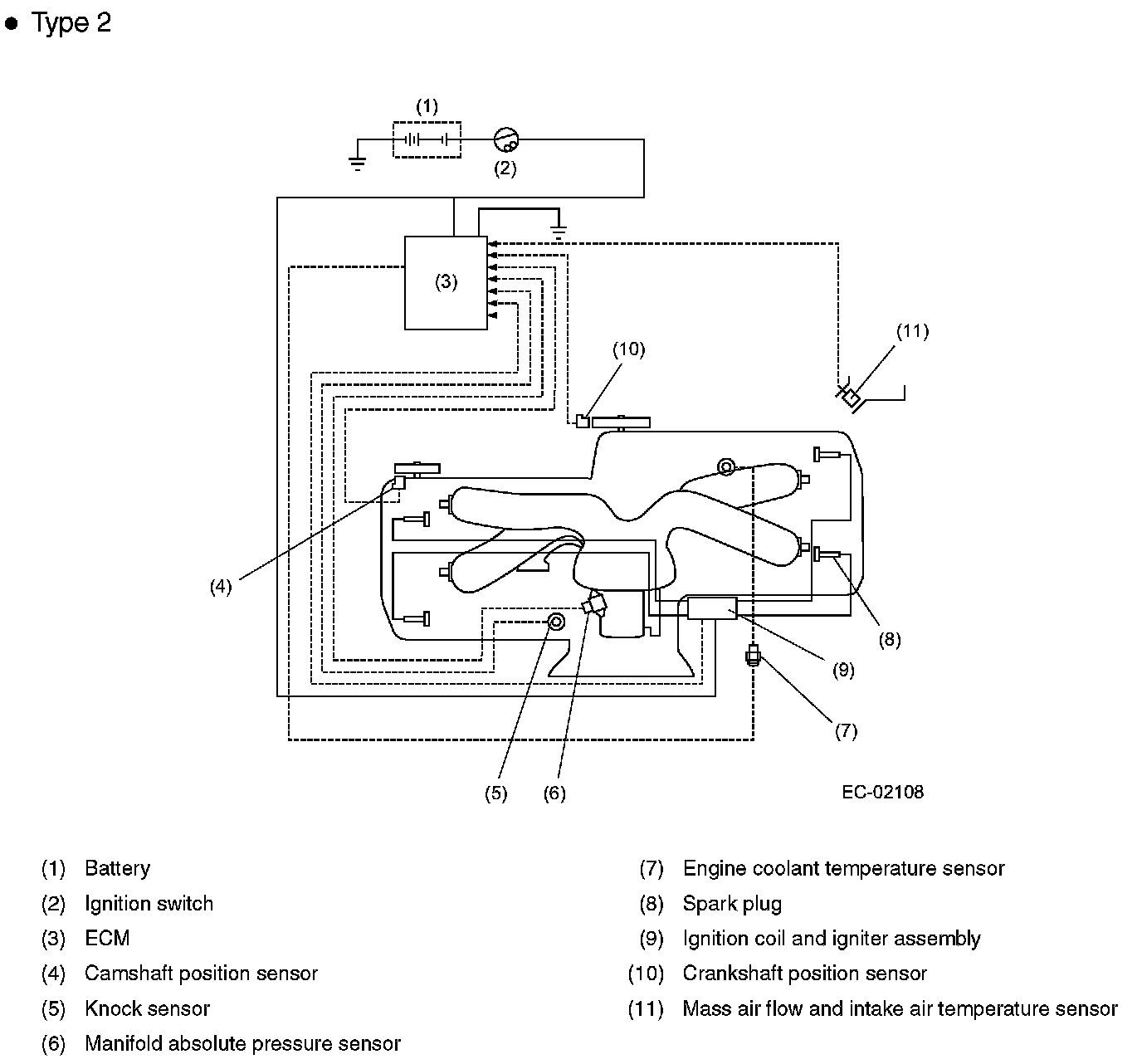
Type 2:




- The ignition system is controlled by the ECM.
The ECM monitors the operating condition of the engine using the signals from the sensors and switches shown and determines the ignition timing most appropriate for each engine operating condition. Then it sends a signal to the igniter, commanding generation of a spark at that timing.
- The ECM uses a preprogrammed map for a "closed-loop" control which provides its ignition timing control with excellent transient characteristics, i.e., highly responsive ignition timing control.