Operation CHARM: Car repair manuals for everyone.
Manuals through 2025 now available!

Our trusted friends have launched a new website named LEMON, which has newer manuals. It also contains all the CHARM manuals.

LEMON is the spiritual successor to CHARM, I recommend you try it!

Link: lemon-manuals.la or lemon-manuals.org.ua

(Some people have issue connecting. LEMON is investigating. For now, use Firefox or change your DNS server)

Or, hide this message: temporarily or permanently

Cruise Control Servo: Service and Repair

Actuator

REMOVAL

TURBO MODEL EXCEPT STi MODEL

CAUTION:
- Be careful not to apply excessive load to the wire cable when adjusting and/or installing; otherwise, the actuator may be deformed or damaged.
- Do not bend the cable sharply with a radius less than 100 mm (3.94 in); otherwise, cable may bend permanently, resulting in poor performance.
- When installing the cable, be careful not to sharply bend or pinch the inner cable; otherwise, the cable may break.

1. Disconnect the ground cable from battery.
2. Remove the clip bands from cruise control cable.




3. Loosen the nut which secures cruise control cable end to throttle cam, and then remove the cable from throttle cam.
4. Remove the four actuator attaching bolts.




5. Remove the actuator while disconnecting the connector.

INSTALLATION
Install in the reverse order of removal.

Tightening torque:
ACTUATOR: 7.4 N.m (0.75 kgf-m, 5.4 ft-lb)
Cable end nut: 12 N.m (1.2 kgf-m, 8.7 ft-lb)

NOTE:
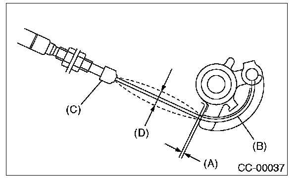
A. Must be adjusted when the cable end outer is fixed in place, so that gap between throttle cam and lever is 0 - 1 mm (0 - 0.04 in), otherwise, inner cable deflection (D) is 1 - 8 mm (0.039 - 0.315 in) when the throttle cable is installed.
(Must be attached while the throttle cam is being pulled by wire cable.)
B. Must be coated evenly on the cam end inner connection.




C. Cover must be inserted securely, until tip of cable touches cover stopper.