Operation CHARM: Car repair manuals for everyone.
Manuals through 2025 now available!

Our trusted friends have launched a new website named LEMON, which has newer manuals. It also contains all the CHARM manuals.

LEMON is the spiritual successor to CHARM, I recommend you try it!

Link: lemon-manuals.la or lemon-manuals.org.ua

(Some people have issue connecting. LEMON is investigating. For now, use Firefox or change your DNS server)

Or, hide this message: temporarily or permanently

Removal and Installation

REMOVAL
1. Set the vehicle on a lift.
2. Open the front hood fully and support with a front food stay.
3. Collect the refrigerant from A/C system.





4. Release the fuel pressure.
a Remove the fuse of fuel pump from main fuse box.
b Start the engine, and run until stalls.
c After the engine stalls, crank it for 5 seconds more.
d Turn the ignition switch to OFF.
5. Remove the fuel filler cap.
6. Remove the collector cover.





7. Disconnect the ground cable from battery.
8. Remove the radiator from vehicle.
9. Remove the coolant filler tank.





10. Disconnect the A/C pressure hoses from A/C compressor.
11. Repair the air intake system.
a Remove the intercooler.
b Remove the air cleaner element and air cleaner case.
12. Disconnect the following connectors and cables.








a Engine harness connectors





b Engine ground terminals





c Generator connector, terminal and A/C compressor connector
13. Disconnect the following hoses.





a Brake booster vacuum hose
b Heater inlet and outlet hoses





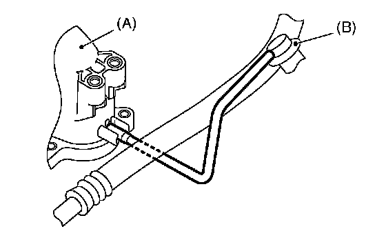
c Remove the hose between intake manifold (A) and pressure regulator (B).
14. Remove the power steering pump from bracket.
a Loosen the lock bolt and slider bolt, and remove the front side belt.





b Disconnect the power steering switch connector.





c Remove the power steering pump from engine.
d Place the power steering pump on the right side wheel apron.
15. Lift-up the vehicle.
16. Remove the center exhaust pipe.





17. Remove the nuts which hold lower side of the transmission to engine.





18. Remove the nuts which install front cushion rubber onto front crossmember.





19. Separate the torque converter clutch from drive plate. (AT model)
a Lower the vehicle.
b Remove the service hole plug.
c Remove the bolts which hold torque converter clutch to drive plate.
d Remove other bolts while rotating the engine using a socket wrench.





20. Remove the pitching stopper.





21. Disconnect the fuel hose from fuel pipe.
a Disconnect the connector of fuel pipe by pushing the ST in the direction of arrow.
ST 42099AE000 CONNECTOR REMOVER
b Remove the clip, and then disconnect the evaporation hose from pipe.

CAUTION:
^ Collect fuel from the hose into container.
^ Disconnect the hose with its end wrapped with cloth to prevent fuel from splashing.





22. Support the engine with a lifting device and wire ropes.





23. Support the transmission with a garage jack.

CAUTION: Doing this is very important because the transmission lowers for its own weight. This work is also of great importance for facilitating reinstallation.

CAUTION: Before moving the engine away from transmission, check to be sure no work has been overlooked.

24. Separation of engine and transmission.
a Remove the starter.





b Install the ST to converter case. (AT model)
ST 498277200 STOPPER SET





c Remove the bolts which hold upper side of the transmission to engine.
25. Remove the engine from vehicle.
a Slightly raise the engine.
b Raise the transmission with garage jack.
c Move the engine horizontally until main shaft is withdrawn from clutch cover.
d Slowly move the engine away from engine compartment.

NOTE: Be careful not to damage adjacent parts or body panels with crank pulley, oil level gauge, etc.

26. Remove the front cushion rubbers.

INSTALLATION
1. Install the front cushion rubbers to engine.
Tightening torque: 35 Nm (3.6 kgf-m, 25.8 ft. lbs.)
2. Install the engine onto transmission.
a Position the engine in engine compartment and align it with transmission.

NOTE: Be careful not to damage adjacent parts or body panels with crank pulley, oil pressure gauge, etc.

b Apply a small amount of grease to the splines of mainshaft. (MT model)





3. Tighten the bolts which hold upper side of transmission to engine.





4. Remove the lifting device and wire ropes.
5. Remove the garage jack.





6. Install the pitching stopper.
7. Remove the ST from converter case. (AT model)

NOTE: Be careful not to drop the ST into the converter case when removing the ST.

ST 498277200 STOPPER SET
8. Install the starter.
9. Install the torque converter clutch to drive plate.
(AT model)
a Tighten the bolts which hold torque converter clutch to drive plate.





b Tighten other bolts while rotating the engine by using ST.

CAUTION: Be careful not to drop bolts into the torque converter clutch housing.

ST 499977400 CRANK PULLEY WRENCH
10. Install the power steering pump on bracket.





a Install the power steering pump.





b Connect the power steering switch connector.
c Install the front side belt and adjust it.
11. Lift-up the vehicle.





12. Tighten the nuts which hold lower side of the transmission to engine.





13. Tighten the nuts which install the front cushion rubber onto crossmember.
Tightening torque: 75 Nm (7.6 kgf-m, 55.3 ft. lbs.)

NOTE: Make sure the front cushion rubber mounting bolts and locator are securely installed.

14. Install the center exhaust pipe.
15. Lower the vehicle.
16. Connect the following hoses.
a Fuel delivery hose, return hose and evaporation hose
b Heater inlet and outlet hoses
c Brake booster vacuum hose
d Pressure regulator hose
17. Connect the following connectors and terminals.
a Engine ground terminals
b Engine harness connectors
c Generator connector and terminal
d A/C compressor connector
18. Install the air intake system.
a Install the intercooler.
b Install the air cleaner element and air cleaner case.





19. Install the A/C pressure hoses.

NOTE: Use new O-rings.

20. Install the radiator.
21. Install the coolant filler tank.
22. Install the window washer tank.
23. Install the battery to vehicle, and connect the battery ground terminal.
24. Fill engine coolant.
25. Charge the A/C system with refrigerant.
26. Install the collector cover.
27. Remove the front hood stay, and close the front hood.
28. Take off the vehicle from a lift.

INSPECTION
1. Check pipes and hoses are connected firmly.
2. Check the engine coolant and ATF are at specified levels.