Operation CHARM: Car repair manuals for everyone.
Manuals through 2025 now available!

Our trusted friends have launched a new website named LEMON, which has newer manuals. It also contains all the CHARM manuals.

LEMON is the spiritual successor to CHARM, I recommend you try it!

Link: lemon-manuals.la or lemon-manuals.org.ua

(Some people have issue connecting. LEMON is investigating. For now, use Firefox or change your DNS server)

Or, hide this message: temporarily or permanently

Variable Induction Control Valve: Service and Repair

Tumble Generator Valve Assembly

DISASSEMBLY







1. Disconnect the engine ground terminal from intake manifold.
2. Remove the ignition coil and ignitor assembly.
3. Remove the throttle body.
4. Remove the EGR valve.




5. Remove the PCV pipe.




6. Remove the fuel pipe protector LH.




7. Remove the fuel pipe protector RH.




8. Disconnect the pressure regulator vacuum hose from intake manifold.
9. Disconnect the connectors (A) from fuel injector.




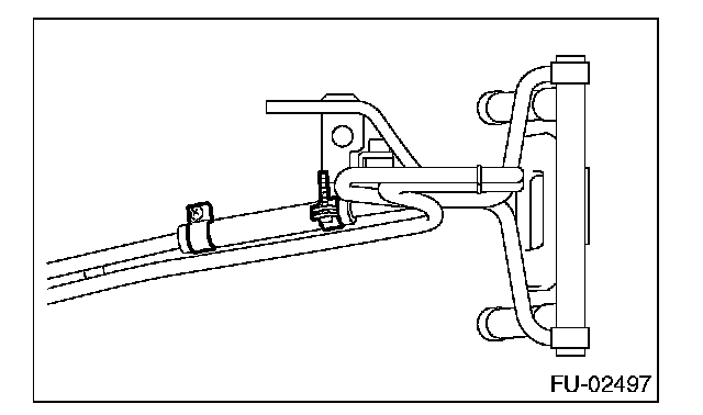
10. Remove the clip (B) which holds engine harness to injector pipe.
11. Remove the tumble generator valve actuator.
12. Remove the purge control solenoid valve.







13. Remove the harness band clips which install the engine harness.
14. Remove the engine harness from intake manifold.







15. Remove the bolts which install injector pipe on the intake manifold as shown in the figure.
16. Remove the fuel injectors from injector pipe.




17. Loosen the clamp which holds fuel injector pipe RH to fuel hose, and then disconnect the pipe from fuel hose.




18. Loosen the clamp which holds fuel injector pipe LH to fuel hose, and then disconnect the pipe from fuel hose.




19. Remove the bolt which installs the fuel pipes on intake manifold.
20. Remove the bolt which installs pressure regulator on intake manifold.




21. Remove the intake manifold from tumble generator assembly.

ASSEMBLY




1. Install the intake manifold to tumble generator assembly.

NOTE: Use a new gasket.

CAUTION: This work should be done on cylinder head. (Do not use gasket for the mating surface of cylinder head and intake manifold at this time.

1. Temporarily tighten (a) - (b) in alphabetical order.
2. Tighten (e) - (k) to 5 N.m (0.5 kgf-m, 4 ft-lb).
3. Tighten (a) - (d) and (l) - (o) to 10 N.m (1.0 kgf-m, 7 ft-lb).
4. Tighten (e) - (g) to 25 N.m (2.6 kgf-m, 18 ft-lb).
5. Tighten (h) - (k) to 25 N.m (2.6 kgf-m, 18 ft-lb).
6. Loosen (a) - (d) and (l) - (o) to remove.

2. Tighten the bolt which installs pressure regulator on intake manifold.

Tightening torque: 5 N.m (0.5 kgf-m, 3.6 ft-lb)




3. Tighten the bolt which installs the fuel pipes on intake manifold.










4. Connect the fuel injector pipe to fuel hose, and tighten the clamp screw.

NOTE: Tighten the clamp screw as shown in the figure.

5. Install the fuel injectors.










6. Tighten the bolts which install injector pipe on intake manifold.







7. Hold the engine harness by harness band clips.
8. Install the purge control solenoid valve.
9. Install the tumble generator valve actuator.
10. Connect the connectors (A) to fuel injector.




11. Hold the engine harness to injector pipe by clip (B).




12. Connect the pressure regulator vacuum hose to intake manifold.




13. Install the fuel pipe protector RH.




14. Install the fuel pipe protector LH.




15. Install the PCV pipe.
16. Install the EGR valve.
17. Install the throttle body to intake manifold.
18. Install the ignition coil & ignitor assembly.







19. Install the engine ground terminal to intake manifold.