Operation CHARM: Car repair manuals for everyone.
Manuals through 2025 now available!

Our trusted friends have launched a new website named LEMON, which has newer manuals. It also contains all the CHARM manuals.

LEMON is the spiritual successor to CHARM, I recommend you try it!

Link: lemon-manuals.la or lemon-manuals.org.ua

(Some people have issue connecting. LEMON is investigating. For now, use Firefox or change your DNS server)

Or, hide this message: temporarily or permanently

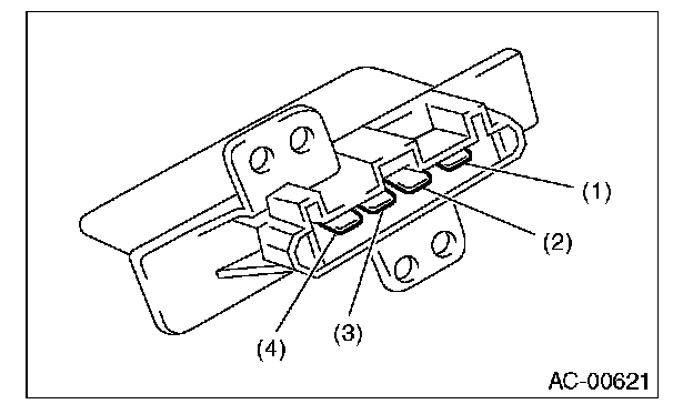
Blower Motor Resistor: Testing and Inspection

Blower Resistor (Manual A/C Model)

INSPECTION




Measure the blower resistor resistance.

Terminal No. Standard
3 and 1 Approx. 0.51 ohms
3 and 2 Approx. 2.70 ohms
3 and 4 Approx. 1.43 ohms

If NG, replace the blower resistor.