Operation CHARM: Car repair manuals for everyone.
Manuals through 2025 now available!

Our trusted friends have launched a new website named LEMON, which has newer manuals. It also contains all the CHARM manuals.

LEMON is the spiritual successor to CHARM, I recommend you try it!

Link: lemon-manuals.la or lemon-manuals.org.ua

(Some people have issue connecting. LEMON is investigating. For now, use Firefox or change your DNS server)

Or, hide this message: temporarily or permanently

Timing Belt: Service and Repair





CAUTION: INTERFERENCE ENGINE
When installing the timing belt, be sure to align all alignment marks on the belt with corresponding marks on the sprockets. If incorrectly installed, interference between pistons and valves may occur.

The Contents of This Image/Article Reflects the Contents of
18-136-09 Manual Update dated 02/11/09.



Timing Belt

REMOVAL

TIMING BELT
1) Remove the V-belts.
2) Remove the crank pulley.
3) Remove the timing belt cover.





4) Remove the timing belt guide. (MT model)
5) If the alignment mark or arrow mark (which indicates rotation direction) on timing belt fade away, put new marks before removing the timing belt as shown in procedures below.








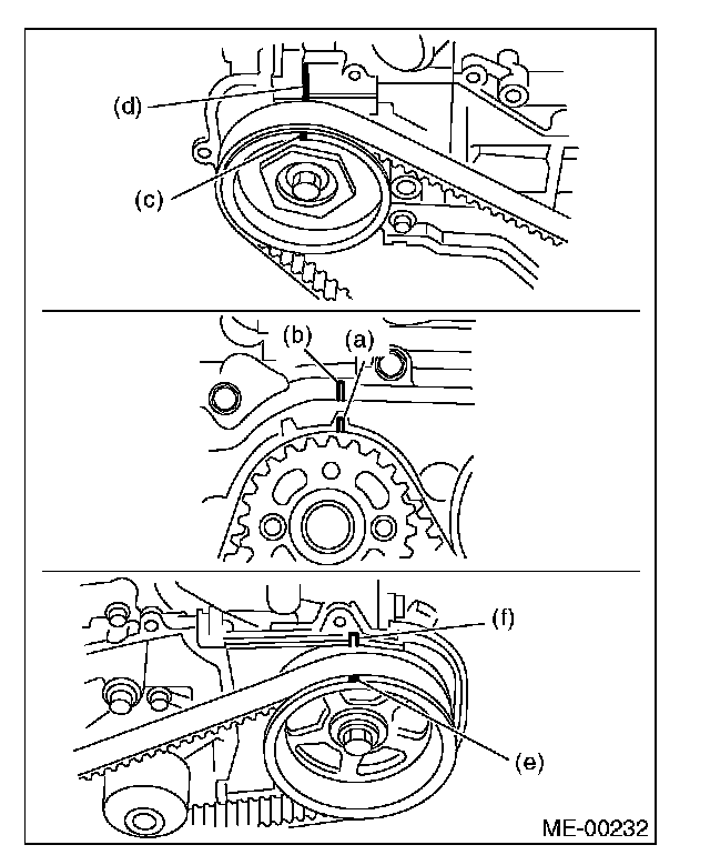
(1) To turn crankshaft, use the ST: Align the mark (a) of sprocket to the cylinder block notch (b), and then ensure the right side cam sprocket mark (c), cam cap and cylinder head matching surface (d) or left side cam sprocket mark (e), timing belt cover notch (f) are properly adjusted.
ST 499987500 CRANKSHAFT SOCKET








(2) Using white paint, put alignment marks or arrow marks on the timing belts in relation to the crank sprocket and cam sprockets.
Specified data:
Z1: Length of 46.8 teeth
Z2: Length of 43.7 teeth

6) Remove the belt idler (No. 2).





7) Remove the belt idler No. 2.





8) Remove the timing belt.

BELT IDLER AND AUTOMATIC BELT TENSION ADJUSTER ASSEMBLY





1) Remove the belt idler (No. 1).





2) Remove the automatic belt tension adjuster assembly.

INSTALLATION

AUTOMATIC BELT TENSION ADJUSTER ASSEMBLY AND BELT IDLER
1) Preparation for installation of automatic belt tension adjuster assembly.

CAUTION:
^ Always use a vertical type pressing tool to move the adjuster rod down.
^ Do not use a lateral type vise.
^ Push the adjuster rod vertically.
^ Be sure to move the adjuster rod down slowly applying a pressure of 165 N (16.8 kgf, 37.1 lbs.).
^ Press-in the push adjuster rod gradually taking more than three minutes.
^ Do not allow press pressure to exceed 9,807 N (1,000 kgf, 2,205 lbs.).
^ Press the adjuster rod as far as the end surface of the cylinder. Do not press the adjuster rod into cylinder. Doing so may damage the cylinder.
^ Do not release the press pressure until stopper pin is completely inserted.

(1) Attach the automatic belt tension adjuster assembly to the vertical pressing tool.





(2) Slowly move the adjuster rod down with a pressure of more than 294 N (30 kgf, 66 lbs.) until the adjuster rod is aligned with the stopper pin hole in the cylinder.





(3) With a 2 mm (0.08 inch) dia. stopper pin or a 2 mm (0.08 inch) (nominal) dia. hex wrench inserted into the stopper pin hole in cylinder, secure the adjuster rod.





2) Install the automatic belt tension adjuster assembly.
Tightening torque: 39 Nm (4.0 kgf-m, 28.9 ft. lbs.)





3) Install the belt idler (No. 1).
Tightening torque: 39 Nm (4.0 kgf-m, 28.9 ft. lbs.)

TIMING BELT
1) Prepare for installation of automatic belt tension adjuster assembly.
2) Installation of timing belt:





(1) Turn the cam sprocket No. 2 using ST1, and turn the cam sprocket No. 1 using ST2 so that their alignment marks (A) come to top positions.
ST1 18231 AA010 CAM SPROCKET WRENCH

NOTE: CAM SPROCKET WRENCH (499207100) can also be used.

ST2 499207400 CAM SPROCKET WRENCH





(2) While aligning the alignment mark (B) on timing belt with the mark (A) on sprockets, position the timing belt properly.

3) Install the belt idler No. 2.
Tightening torque: 39 Nm (4.0 kgf-m, 28.9 ft. lbs.)





4) Install the belt idler (No. 2).
Tightening torque: 39 Nm (4.0 kgf-m, 28.9 ft. lbs.)





5) After ensuring the marks on timing belt and cam sprockets are aligned, remove the stopper pin from belt tension adjuster.
6) Install the timing belt guide. (MT model)





(1) Temporarily tighten the timing belt guide mounting bolts.





(2) Check and adjust the clearance between timing belt and timing belt guide by using thickness gauge.
Clearance: 1.0 ± 0.5 mm (0.039 ± 0.020 inch)





(3) Tighten the timing belt guide mounting bolts.
Tightening torque: 10 Nm (1.0 kgf-m, 7.2 ft. lbs.)

7) Install the timing belt cover.
8) Install the crank pulley.
9) Install the V-belts.

INSPECTION

TIMING BELT
1) Check the timing belt teeth for breaks, cracks and wear. If any fault is found, replace the belt.





2) Check the condition of the backside of belt. If cracks are found, replace the belt.

CAUTION:
^ Be careful not to let oil, grease or coolant contact the belt. Remove quickly and thoroughly if this happens.
^ Do not bend the timing belt sharply.

In radial diameter h: 60 mm (2.36 inch) or more

AUTOMATIC BELT TENSION ADJUSTER
1) Visually check the oil seals for leaks, and rod ends for abnormal wear or scratches. If necessary, replace the automatic belt tension adjuster assembly.

NOTE: Slight traces of oil at rod's oil seal does not indicate a problem.

2) Check that the adjuster rod does not move when a pressure of 294 N (30 kgf, 66 lbs.) is applied to it. This is to check adjuster rod stiffness.
3) If the adjuster rod is not stiff and moves freely when applying 294 N (30 kgf, 66 lbs.), check it using the following procedures:
(1) Slowly press the adjuster rod down to the end surface of the cylinder. Repeat this operation two to three times.
(2) With the adjuster rod moved all the way up, apply a pressure of 294 N (30 kgf, 66 lbs.) to it. Check the adjuster rod stiffness.
(3) If the adjuster rod is not stiff and moves down, replace the automatic belt tension adjuster assembly with a new one.

CAUTION:
^ Always use a vertical type pressing tool to move the adjuster rod down.
^ Do not use a lateral type vise.
^ Push the adjuster rod vertically.
^ Press the adjuster rod gradually taking more than three minutes.
^ Do not allow press pressure to exceed 9,807 N (1,000 kgf, 2,205 lbs.).
^ Press the adjuster rod as far as the end surface of cylinder. Do not press the adjuster rod into cylinder. Doing so may damage the cylinder.





4) Measure the amount of rod protrusion beyond the body. If it is not within specifications, replace with a new one.
Amount of rod protrusion H: 5.7 ± 0.5 mm (0.224 ± 0.020 inch)

BELT TENSION PULLEY
1) Check the mating surfaces of timing belt and contact point of adjuster rod for abnormal wear or scratches. Replace the automatic belt tension adjuster assembly if faulty.
2) Check the belt tension pulley for smooth rotation. Replace if noise or excessive play occurs.
3) Check the belt tension pulley for grease leakage.

BELT IDLER
1) Check the belt idler for smooth rotation. Replace if noise or excessive play occurs.
2) Check the outer contacting surfaces of idler pulley for abnormal wear and scratches.
3) Check the belt idler for grease leakage.