Operation CHARM: Car repair manuals for everyone.
Manuals through 2025 now available!

Our trusted friends have launched a new website named LEMON, which has newer manuals. It also contains all the CHARM manuals.

LEMON is the spiritual successor to CHARM, I recommend you try it!

Link: lemon-manuals.la or lemon-manuals.org.ua

(Some people have issue connecting. LEMON is investigating. For now, use Firefox or change your DNS server)

Or, hide this message: temporarily or permanently

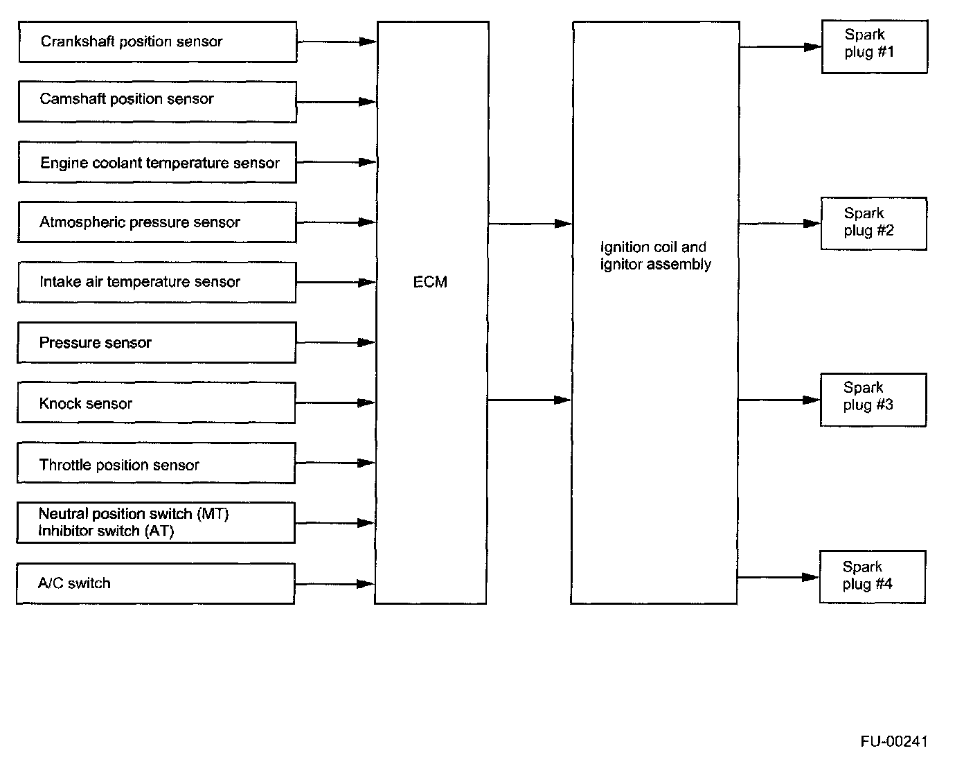
Ignition System Control




- The ECM determines operating condition of the engine based on signals from the pressure sensor, engine coolant temperature sensor, intake air temperature sensor, crankshaft position sensor and other sources. It then selects the ignition timing most appropriate for the condition thus determined from those stored in its memory and outputs at that timing a primary current OFF signal to the ignitor to initiate ignition.
- This control uses a quick-to-response learning feature by which the data stored in the ECM memory is processed in comparison with information from various sensors and switches.
- Thus, the ECM can always perform optimum ignition timing taking into account the output, fuel consumption, exhaust gas, and other factors for every engine operating condition.
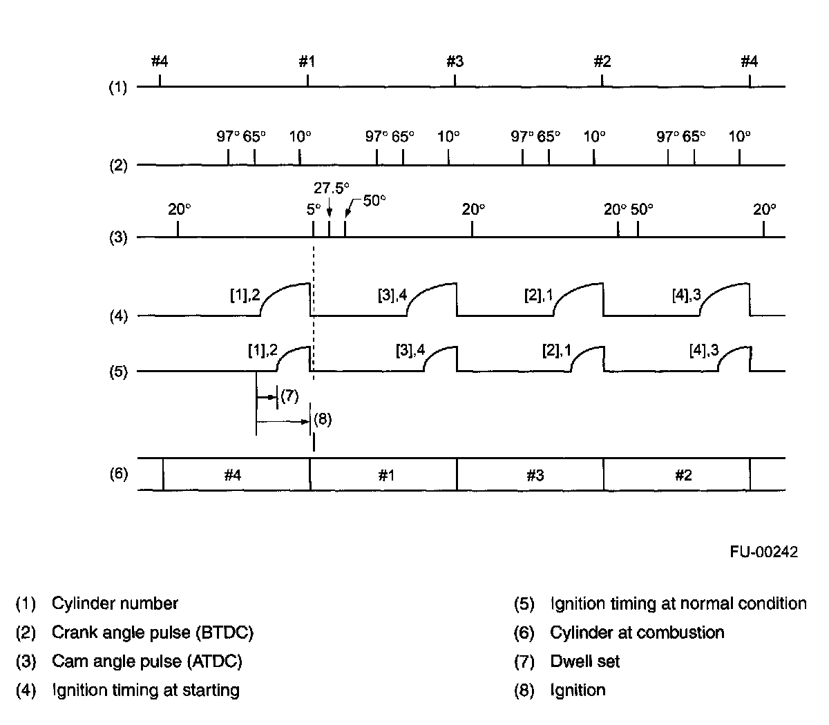
- Ignition control during start-up




- Ignition control after start of engine
Between the 97 ° and 65 ° crank angle signal, the ECM measures the engine speed, and by using this data it decides the dwell set timing and ignition timing according to the engine condition.