Operation CHARM: Car repair manuals for everyone.
Manuals through 2025 now available!

Our trusted friends have launched a new website named LEMON, which has newer manuals. It also contains all the CHARM manuals.

LEMON is the spiritual successor to CHARM, I recommend you try it!

Link: lemon-manuals.la or lemon-manuals.org.ua

(Some people have issue connecting. LEMON is investigating. For now, use Firefox or change your DNS server)

Or, hide this message: temporarily or permanently

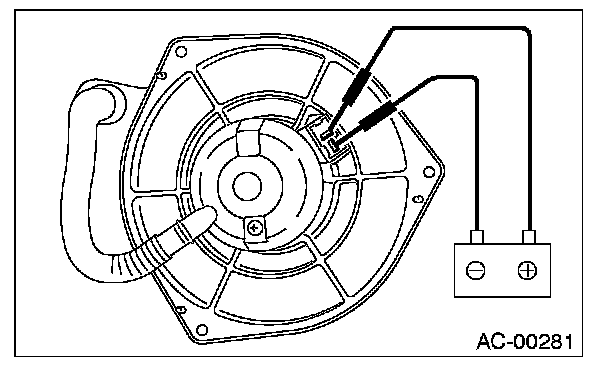
Blower Motor: Testing and Inspection

Blower Motor Assembly

INSPECTION




Connect motor connector terminal 1 from the battery to the positive (+) lead and terminal 2 to the negative (-) lead. Make sure the motor runs smoothly.