Operation CHARM: Car repair manuals for everyone.
Manuals through 2025 now available!

Our trusted friends have launched a new website named LEMON, which has newer manuals. It also contains all the CHARM manuals.

LEMON is the spiritual successor to CHARM, I recommend you try it!

Link: lemon-manuals.la or lemon-manuals.org.ua

(Some people have issue connecting. LEMON is investigating. For now, use Firefox or change your DNS server)

Or, hide this message: temporarily or permanently

Part 2

CAUTION:
^ Be sure to use a new gasket.
^ When installing the water pump, tighten bolts in two stages in alphabetical sequence as shown in the figure.





32. Install the water by-pass pipe for heater.
33. Install the oil filter.
34. Tighten the cylinder head bolts.
35. Install the oil level gauge guide and tighten the bolts. (LH side only)
36. Install the rocker cover and rocker cover gasket.

NOTE: Use a new rocker cover gasket.

37. Install the crank sprocket.
38. Install the cam sprocket.
39. Install the timing belt.
40. Install the timing belt cover.
41. Install the crank pulley.
42. Install the generator and A/C compressor brackets on cylinder head.
43. Install the V-belts.
44. Install the intake manifold.

DISASSEMBLY





1. Remove the connecting rod cap.
2. Remove the connecting rod bearing.

NOTE: Arrange the removed connecting rod, connecting rod cap and bearing in order, to prevent confusion.

3. Remove the piston rings using piston ring expander.
4. Remove the oil ring by hand.

NOTE: Arrange the removed piston rings in proper order, to prevent confusion.

5. Remove the snap ring.

ASSEMBLY





1. Apply oil to the surfaces of the connecting rod bearings.
2. Install the connecting rod bearings on connecting rods and connecting rod caps.
3. Position each connecting rod with the marking side facing forward, and install it.
4. Install the connecting rod cap with connecting rod nut. Make sure the arrow on connecting rod cap faces toward front during installation.

CAUTION:
^ Each connecting rod has its own mating cap. Make sure that they are assembled correctly by checking their matching number.
^ When tightening the connecting rod nuts, apply oil on the threads.

5. Install the expander, lower rail and upper rail in this order by hand. Install the second ring and top ring along with the piston ring expander.

INSPECTION
CYLINDER BLOCK
1. Visually check for cracks and damage. Especially, inspect the important parts using liquid penetrant tester.
2. Check the oil passages for clogging.
3. Inspect the cylinder block surface that mates with cylinder head for warping by using a straight edge, and correct by grinding if necessary.
Warping limit: 0.025 mm (0.00098 inch)
Grinding limit. 0.1 mm (0.004 inch)
Standard height of cylinder block. 201.0 mm (7.91 inch)

CYLINDER AND PISTON
1. The cylinder bore size is stamped on the cylinder block front upper surface.

NOTE:
^ Measurement should be performed at a temperature of 20°C (68°F).
^ Standard sized pistons are classified into two grades, "A" and "B". These grades should be used as guide lines in selecting a standard piston.

Standard diameter.
99.505 - 99.515 mm (3.9175 - 3.9179 inch)
99.495 - 99.505 mm (3.9171 - 3.9175 inch)





2. How to measure the inner diameter of each cylinder Measure the inner diameter of each cylinder in both the thrust and piston pin directions at the heights as shown in the figure, using a cylinder bore gauge.

NOTE: Measurement should be performed at a temperature of 20°C (68°F).

Taper.
Standard. 0.015 mm (0.0006 inch)
Service limit: 0.050 mm (0.0020 inch)
Out-of-roundness:
Standard. 0.010 mm (0.0004 inch)
Service limit: 0.050 mm (0.0020 inch)





3. When the piston is to be replaced due to general or cylinder wear, determine a suitable sized piston by measuring the piston clearance.
4. How to measure the outer diameter of each cylinder: Measure the outer diameter of each piston at the height as shown in the figure. (Thrust direction)

NOTE: Measurement should be performed at a temperature of 20°C (68°F).

Piston grade point H. 38.2 mm (1.504 inch)
Standard.
99.505 - 99.515 mm (3.9175 - 3.9179 inch)
99.495 - 99.505 mm (3.9171 - 3.9175 inch)
0.25 mm (0.0098 inch) oversize: 99.745 - 99.765 mm (3.9270 - 3.9278 inch)
0.50 mm (0.0197 inch) oversize: 99.995 - 100.015 mm (3.9368 - 3.9376 inch)





5. Calculate the clearance between cylinder and piston.

NOTE: Measurement should be performed at a temperature of 20°C (68°F).

Cylinder to piston clearance at 20°C (68°F):
Standard. 0.010 - 0.010 mm (-0.00039 - 0.00039 inch)
Service limit. 0.030 mm (0.0012 inch)
6. Boring and honing
a. If any of the measured value of taper, out-of-roundness or cylinder-to-piston clearance is not standard or if there is any damage on the cylinder wall, rebore it to use an oversize piston.

CAUTION: When any of the cylinders needs reboring, all other cylinders must be bored at the same time, and use oversize pistons. Do not perform boring on one cylinder only. Nor use an oversize piston for one cylinder only.

b. If the cylinder inner diameter exceeds the limit after boring and honing, replace the cylinder block.
Limit of cylinder inner diameter. 100.015 mm (3.9376 inch)

NOTE: Immediately after reboring, the cylinder diameter may differ from its real diameter due to temperature rise. Thus, pay attention when measuring the cylinder diameter.

PISTON AND PISTON PIN
1. Check the pistons and piston pins for damage, cracks and wear, and the piston ring grooves for wear and damage. Replace if faulty.
2. Measure the piston-to-cylinder clearance at each cylinder. If any of the clearances is not within the standard value, replace the piston and bore the cylinder to enable use of the oversize piston.
3. Make sure that the piston pin can be inserted into the piston pin hole with a thumb at 20°C (68°F). Replace if faulty.
Clearance between piston hole and piston pin:
Standard. 0.004 - 0.008 mm (0.0002 - 0.0003 inch)
Service limit: 0.020 mm (0.0008 inch)








4. Check the snap ring installation groove (A) on the piston for burr. If necessary, remove burr from the groove so that the piston pin can lightly move.





5. Check the piston pin snap ring for distortion, cracks and wear.

PISTON RING
1. If the piston ring is broken, damaged or worn, or if its tension is insufficient, or when the piston is replaced, replace the piston ring with a new one of the same size as piston.

CAUTION:
^ Marks are displayed on the end of top and second rings. When installing the rings to piston, face these marks upward.
^ Oil ring consists of the upper rail, expander and lower rail. Be careful about the direction of rail when installing the oil ring to piston.





2. Clean the piston ring groove and piston ring.
3. Squarely place the piston ring and oil ring in cylinder, and measure the piston ring gap with a thickness gauge.








4. Measure the clearance between piston ring and piston ring groove with a thickness gauge.








CONNECTING ROD
1. Replace the connecting rod, if the large or small end thrust surface is damaged.
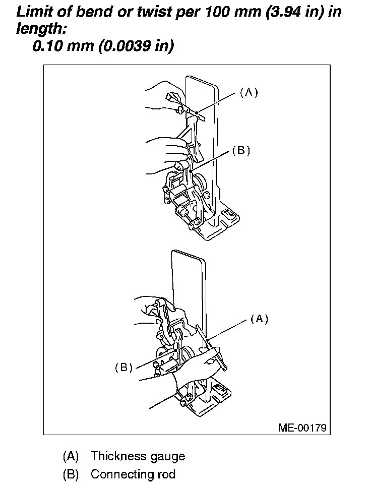
2. Check for bend or twist using a connecting rod aligner. Replace the connecting rod if the bend or twist exceeds the limit.
Limit of bend or twist per 100 mm (3.94 inch) in length: 0.10 mm (0.0039 inch)





3. Install the connecting rod fitted with bearing to crankshaft and measure the side clearance (thrust clearance). Replace the connecting rod if the side clearance exceeds the specified limit.
Connecting rod side clearance:
Standard. 0.070 - 0.330 mm (0.0028 - 0.0130 inch)
Service limit. 0.4 mm (0.016 inch)





4. Inspect the connecting rod bearing for scar, peeling, seizure, melting, wear, etc.
5. Measure the oil clearance on each connecting rod bearing using plastigauge. If any oil clearance is not within the standard, replace the defective bearing with a new one of standard size or undersize as necessary. (See the table below.)
Connecting rod oil clearance:
Standard. 0.0 16 - 0.044 mm (0.00063 - 0.0017 inch)
Service limit: 0.05 mm (0.0020 inch)





6. Inspect the bushing at connecting rod small end, and replace if worn or damaged. Also measure the piston pin clearance at connecting rod small end.
Clearance between piston pin and bushing:
Standard. 0 - 0.022 mm (0 - 0.0009 inch)
Service limit. 0.030 mm (0.0012 inch)








7. Replacement procedure is as follows.
a. Remove the bushing from connecting rod with ST and press.
b. Press the bushing with ST after applying oil on the periphery of bushing.
ST 499037100 CONNECTING ROD BUSHING REMOVER & INSTALLER





c. Make two 3 mm (0.12 inch) holes in bushing. Ream the inside of bushing.
d. After completion of reaming, clean the bushing to remove chips.

CRANKSHAFT AND CRANKSHAFT BEARING
1. Clean the crankshaft completely, and check it for cracks using liquid penetrant tester. Replace if faulty.
2. Measure the bend of crankshaft. If it exceeds the limit, repair or replace it.

NOTE: If a suitable V-block is not available, install #1 and #5 crankshaft bearing on cylinder block, position the crankshaft on these bearings, and then measure the crankshaft bend using a dial gauge.

Crankshaft bend limit. 0.035 mm (0.0014 inch)





3. Inspect the crank journal and crank pin for wear. If they are not within the specification, replace the bearing with a suitable (undersize) one, and replace or readjust crankshaft as necessary. When grinding the crank journal or crank pin, finish them to the specified dimensions according to the undersize bearing to be used.
Crank pin
Out-of-roundness: 0.003 mm (0.0001 inch)
Cylindricality. 0.004 mm (0.0002 inch)
Grinding limit: 51.750 mm (2.0374 inch) dia.
Crank journal
Out-of-roundness: 0.005 mm (0.0002 inch)
Cylindricality. 0.006 mm (0.0002 inch)
Grinding limit: 59.750 mm (2.3524 inch) dia.








4. Measure the thrust clearance of crankshaft at center bearing. If clearance outside of standard value, replace the bearing.
Crankshaft thrust clearance:
Standard. 0.030 - 0.115 mm (0.0012 - 0.0045 inch)
Service limit. 0.25 mm (0.0098 inch)





5. Inspect individual crankshaft bearings for signs of flaking, seizure, melting and wear.
6. Measure the oil clearance on each crankshaft bearing using plastigauge. If the measured value is out of standard, replace the defective bearing with an undersize one, and replace or recondition the crankshaft as necessary.
Crankshaft oil clearance:
Standard. 0.010 - 0.030 mm (0.0004 - 0.0012 inch)
Service limit. 0.040 mm (0.0016 inch)