Operation CHARM: Car repair manuals for everyone.
Manuals through 2025 now available!

Our trusted friends have launched a new website named LEMON, which has newer manuals. It also contains all the CHARM manuals.

LEMON is the spiritual successor to CHARM, I recommend you try it!

Link: lemon-manuals.la or lemon-manuals.org.ua

(Some people have issue connecting. LEMON is investigating. For now, use Firefox or change your DNS server)

Or, hide this message: temporarily or permanently

Differential Mount: Service and Repair

Rear Differential Member

REMOVAL
1. Set the vehicle on a lift.
2. Disconnect the ground cable from battery.
3. Move the select lever or gear shift lever to "N".
4. Release the parking brake.
5. Jack-up the vehicle and support it with rigid racks.
6. Remove the rear exhaust pipe and muffler.
7. Remove the rear differential front member.

NOTE: When removing the rear differential front member, work the removal procedure as rear differential.

8. Remove the rear differential member.

INSTALLATION
Install in the reverse order of removal.
1. Position the differential front member with the vehicle by passing the member under the parking brake cable and securing it to rear differential.

NOTE: When installing the differential front member, be careful of the order for installation of the stoppers.





2. Insert the DOJ of the rear drive shaft into the rear differential.

NOTE: Before inserting, replace the side oil seal with a new part.

ST 28099PA090 SIDE OIL SEAL PROTEXTOR:





3. Hereafter, install in the reverse order of removal.

DISASSEMBLY

NOTE: Clean the rear differential member before working.

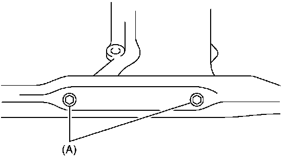
1. Remove the bolts (A) and (B) which secure the differential front member and the differential mount bracket.








ASSEMBLY
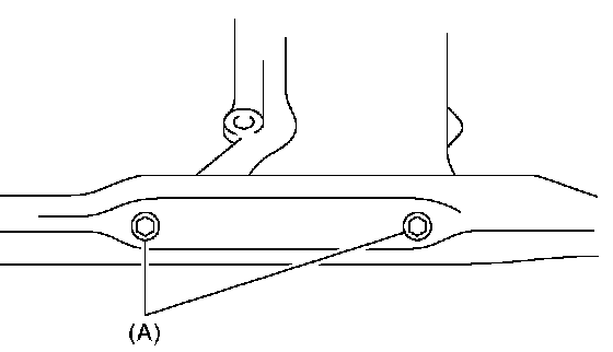
1. Temporarily tighten bolts (A) that secure the front differential assembly and differential mount.





2. Tighten the nut of mounting bolt (B).
Tightening torque: 128 Nm (13.0 kgf-m, 94.4 ft. lbs.)





3. Tighten the nut of mounting bolt (A).
Tightening torque: 70 Nm (7.1 kgf-m, 51.6 ft. lbs.)





INSPECTION
1. Check the rear differential member for damage, bend or corrosion.
If damage, bend or corrosion is excessive, replace the rear differential member.
2. Check bushings of rear differential member for cracking, hardening or damage.
If cracking, hardening or damage is excessive, replace rear differential member.