Operation CHARM: Car repair manuals for everyone.
Manuals through 2025 now available!

Our trusted friends have launched a new website named LEMON, which has newer manuals. It also contains all the CHARM manuals.

LEMON is the spiritual successor to CHARM, I recommend you try it!

Link: lemon-manuals.la or lemon-manuals.org.ua

(Some people have issue connecting. LEMON is investigating. For now, use Firefox or change your DNS server)

Or, hide this message: temporarily or permanently

Rear Gate Glass

Rear Gate Glass

REMOVAL
1. Remove the rear gate garnish.
2. Disconnect the electrical connectors from rear defogger terminal.




3. Remove the glass in the same procedure as for windshield glass.

NOTE: The locating pin is adhered to the corner portion on the vehicle's indoor side of the glass. Use the piano wire to cut each pin.

INSTALLATION




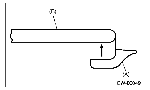
1. Install a new rubber strip (A) in position with the edge (B) of the rear gate glass.




2. Install the glass in the same procedure as for windshield glass.
3. About one hour after installation, inspect for leaks.
4. After completion of all work, allow the vehicle to stand for about 24 hours.

NOTE:
- When door is opened/closed after glass is bonded, always lower the door glass first, and then open/close it carefully.
- Move the vehicle slowly.
- For minimum drying time and vehicle standing time before driving after bonding, follow instructions or instruction manual from the adhesive manufacturer.
- When a vehicle is returned to the user, tell him or her that the vehicle should not be subjected to heavy impact for at least three days.

5. Connect the rear defogger terminals.
6. Install the rear gate garnish.