Operation CHARM: Car repair manuals for everyone.
Manuals through 2025 now available!

Our trusted friends have launched a new website named LEMON, which has newer manuals. It also contains all the CHARM manuals.

LEMON is the spiritual successor to CHARM, I recommend you try it!

Link: lemon-manuals.la or lemon-manuals.org.ua

(Some people have issue connecting. LEMON is investigating. For now, use Firefox or change your DNS server)

Or, hide this message: temporarily or permanently

Part 1

CYLINDER BLOCK

Cylinder Block:





REMOVAL

NOTE: Before conducting this procedure, drain the engine oil completely.

1. Remove the intake manifold.
2. Remove the V-belts.
3. Remove the crank pulley.
4. Remove the timing belt cover.
5. Remove the timing belt.
6. Remove the cam sprocket.
7. Remove the crank sprocket.
8. Remove the generator and A/C compressor with their brackets.
9. Remove the rocker cover.
10. Remove the cylinder head bolts in alphabetical sequence shown in the figure.

NOTE: Leave bolts (a) and (d) engaged by three or four threads to prevent the cylinder head from falling.





11. While tapping the cylinder head with a plastic hammer, separate it from cylinder block.
12. Remove the bolts (a) and (d) to remove cylinder head.





13. Remove the cylinder head gasket.

NOTE: Do not scratch the mating surface of cylinder head and cylinder block.

14. Similarly, remove the right side cylinder head.
15. Remove the clutch housing cover. (MT model)
16. Remove the flywheel (MT model) or drive plate (AT model). Using the ST, lock the crankshaft.
ST 498497100 CRANKSHAFTSTOPPER

^ MT model





^ AT model





17. Remove the oil separator cover.
18. Remove the water by-pass pipe for heater.
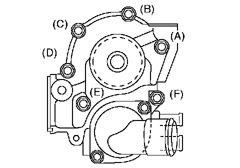
19. Remove the water pump after loosening the bolts in alphabetical sequence as shown in the figure.





20. Remove the bolts which install oil pump onto cylinder block.

NOTE: When disassembling and checking the oil pump, loosen the relief valve plug before removing the oil pump.





21. Remove the oil pump from cylinder block using a flat tip screwdriver.

CAUTION: Be careful not to scratch the mating surface of cylinder block and oil pump.





22. Remove the oil pan.
a. Place the cylinder block to face the #2 and #4 piston side upward.
b. Remove the bolts which secure oil pan to cylinder block.
c. Insert an oil pan cutter blade between cylinder block-to-oil pan clearance and remove the oil pan.

NOTE: Do not use a screwdriver or similar tools in place of oil pan cutter.

23. Remove the oil strainer stay.
24. Remove the oil strainer.
25. Remove the baffle plate.
26. Remove the oil filter.
27. Remove the water pipe.








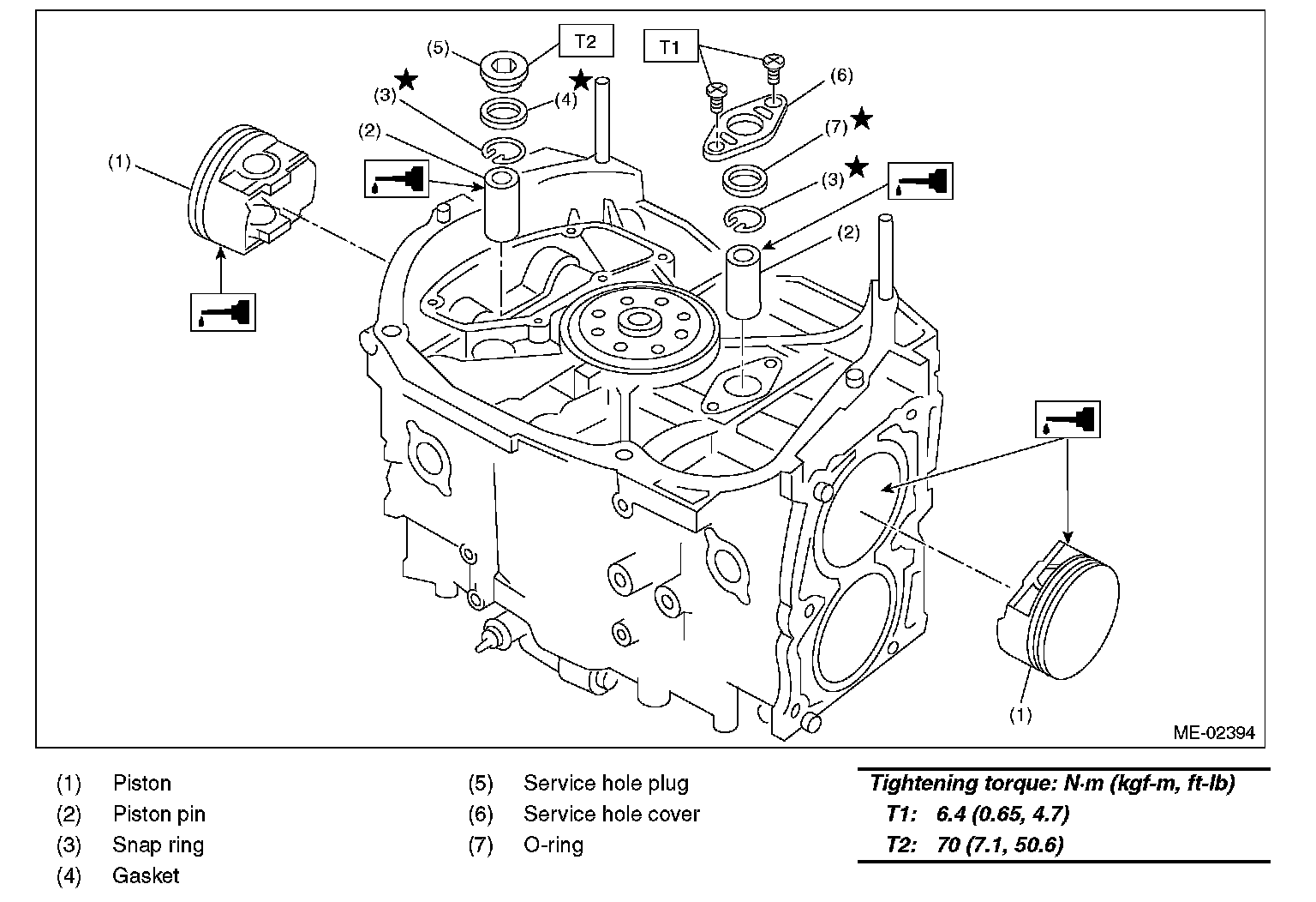
28. Remove the service hole cover and service hole plugs using a hexagon wrench [14 mm].





29. Rotate the crankshaft to bring #1 and #2 pistons to bottom dead center position, then remove the piston snap ring through service hole of #1 and #2 cylinders.





30. Draw out the piston pin from #1 and #2 pistons using ST.
ST 499097700 PISTON PIN REMOVER

NOTE: Be careful not to confuse the original combination of piston, piston pin and cylinder.





31. Similarly remove the piston pins from #3 and #4 pistons.
32. Remove the bolts which connect cylinder block on the side of #2 and #4 cylinders.
33. Back off the bolts which connect cylinder block on the side of #1 and #3 cylinders two or three turns.
34. Set up the cylinder block so that #1 and #3 cylinders are on the upper side, then remove the cylinder block connecting bolts.
35. Separate the cylinder block (RH) and (LH).

NOTE: When separating the cylinder block, do not allow the connecting rod to fall or damage the cylinder block.





36. Remove the rear oil seal.
37. Remove the crankshaft together with connecting rod.
38. Remove the crankshaft bearings from cylinder block using a hammer handle.

NOTE: Be careful not to confuse the crankshaft bearing combination. Press the bearing at the end opposite to locking lip.

39. Draw out each piston from cylinder block using wooden bar or hammer handle.

NOTE: Be careful not to confuse the original combination of piston and cylinder.

INSTALLATION





NOTE: Remove oil on the mating surface of bearing and cylinder block before installation. Apply engine oil to crankshaft pins.

1. Position the crankshaft and O-rings on the #1 and #3 cylinder block.
2. Apply liquid gasket to the mating surface of #1 and #3 cylinder block, and position #2 and #4 cylinder block.

Liquid gasket. Three bond 1215 (Part No. 004403007) or equivalent

NOTE: Do not allow liquid gasket to jut into O-ring grooves, oil passages, bearing grooves, etc.





3. Apply a coat of engine oil to the washer and bolt thread.
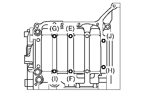
4. Tighten the 10 mm cylinder block connecting bolts on LH side (A - D) in alphabetical sequence.





5. Tighten the 10 mm cylinder block connecting bolts on RH side (E - J) in alphabetical sequence.





6. Further tighten the LH side bolts (A - D) in alphabetical sequence.





7. Further tighten the RH side bolts (E - J) in alphabetical sequence.





8. Further tighten the LH side bolts (A - D) in alphabetical sequence.

^ (A), (C): Angle tightening
Tightening angle: 90°

^ (B), (D): Torque tightening
Tightening torque: 40 Nm (4.1 kgf-m, 29.6 ft. lbs.)





9. Tighten the RH side bolts (E - J) 90° further in alphabetical sequence.





10. Tighten the 8 mm and 6 mm cylinder block connecting bolts on LH side (A - H) in alphabetical sequence.





11. Apply engine oil to the oil seal periphery, and install the rear oil seal using ST1 and ST2.

NOTE: Use a new rear oil seal.

ST1 499597100 OIL SEAL GUIDE
ST2 499587200 OIL SEAL INSTALLER





12. Position the top ring gap at (A) or (B) in the figure.

NOTE: Assemble so that the piston ring mark "R" faces the upper side of the piston.

13. Position the second ring gap at 180° on the reverse side the top ring gap.

NOTE: Assemble so that the piston ring mark "R" faces the upper side of the piston.





14. Position the upper rail gap at (c) in the figure.





15. Align the upper rail spin stopper (E) to the side hole (D) on the piston.





16. Position the expander gap at (F) in the figure.





17. Position the lower rail gap at (G) in the figure.





CAUTION:
^ Make sure ring gaps do not face the same direction.
^ Make sure ring gaps are not within the piston skirt area.

18. Install the snap ring.
Install the snap rings in the piston holes located opposite to the service holes in cylinder block when positioning all pistons in corresponding cylinders.

NOTE: Use new snap rings.





CAUTION: Piston front mark faces towards the front of engine.








19. Install the piston.
a. Place the cylinder block to face the #1 and #2 cylinder side upward.
b. Using the ST1, turn the crankshaft so that #1 and #2 connecting rods are set at bottom dead center.
ST1 499987500 CRANKSHAFT SOCKET
c. Apply a coat of engine oil to the pistons and cylinders and insert pistons in their cylinders using ST2.
ST2 498747300 PISTON GUIDE





20. Install the piston pin.
a. Apply a coat of engine oil to ST3.
b. Insert ST3 into the service hole to align piston pin hole with connecting rod small end.
ST3 499017100 PISTON PIN GUIDE





c. Apply a coat of engine oil to piston pin, and insert the piston pin into piston and connecting rod through service hole.
d. Install the snap ring.

NOTE: Use new snap rings.





e. Apply liquid gasket around the service hole plug.
Liquid gasket. Three bond 1105 (Part No. 004403010) or equivalent





f. Install the service hole plug and gasket.

NOTE: Use a new gasket.








g. Place the cylinder block to face the #3 and #4 cylinder side upward. Following the same procedures as used for #1 and #2 cylinders, install the pistons and piston pins.
21. Install the water pipe.





22. Install the baffle plate.

Tightening torque: 6.4 Nm (0.65 kgf-m, 4.7 ft. lbs.)

23. Install the oil strainer and O-ring.

Tightening torque: 9.75 Nm (1.0 kgf-m, 7.2 ft. lbs.)

24. Install the oil strainer stay.
25. Apply liquid gasket to the mating surfaces, and install the oil pan.

Liquid gasket: Three bond 1207C (Part No.004403012) or equivalent





26. Apply liquid gasket to the mating surfaces and the threaded portion of bolt (A) shown in the figure, and then install the oil separator cover.

Liquid gasket:
^ Mating surface Three bond 1207C (Part No.004403012) or equivalent
^ (A) bolt threads Three bond 1324 (Part No.004403042) or equivalent