Operation CHARM: Car repair manuals for everyone.
Manuals through 2025 now available!

Our trusted friends have launched a new website named LEMON, which has newer manuals. It also contains all the CHARM manuals.

LEMON is the spiritual successor to CHARM, I recommend you try it!

Link: lemon-manuals.la or lemon-manuals.org.ua

(Some people have issue connecting. LEMON is investigating. For now, use Firefox or change your DNS server)

Or, hide this message: temporarily or permanently

Fuel Injector: Service and Repair

Intake Mainfold (Part 1):




Intake Mainfold (part 2):






Fuel Injector

REMOVAL

1. RH SIDE

1. Release the fuel pressure.




2. Disconnect the ground cable from the battery.
3. Open the fuel filler flap lid, and remove the fuel filler cap.
4. Remove the air intake duct and air cleaner case.
5. Remove the spark plug cords from spark plugs (#1 and #3 cylinders).




6. Remove the fuel pipe protector RH.
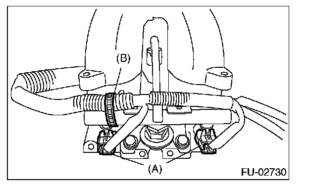
7. Disconnect the connectors (A) from fuel injector.




8. Remove the harness band (B) which holds the engine harness to injector pipe.




9. Remove the bolt which holds fuel injector pipe onto intake manifold.
10. Remove the fuel injector while lifting up the fuel injector pipe.

2. LH SIDE

1. Release the fuel pressure.
2. Remove the battery.
3. Open the fuel filler flap lid, and remove the fuel filler cap.
4. Remove the spark plug cords from spark plugs (#2 and #4 cylinders).




5. Remove the fuel pipe protector LH.
6. Disconnect the connectors (A) from fuel injector.




7. Remove the harness band (B) which holds the engine harness to injector pipe.







8. Remove the bolt which holds fuel injector pipe onto intake manifold.
9. Remove the fuel injector while lifting up the fuel injector pipe.

INSTALLATION










1. RH SIDE

Install in the reverse order of removal.

NOTE: Use new O-rings.













2. LH SIDE

Install in the reverse order of removal.

NOTE: Use new O-rings.