Operation CHARM: Car repair manuals for everyone.
Manuals through 2025 now available!

Our trusted friends have launched a new website named LEMON, which has newer manuals. It also contains all the CHARM manuals.

LEMON is the spiritual successor to CHARM, I recommend you try it!

Link: lemon-manuals.la or lemon-manuals.org.ua

(Some people have issue connecting. LEMON is investigating. For now, use Firefox or change your DNS server)

Or, hide this message: temporarily or permanently

Initial Inspection

INSPECTION

Before performing diagnosis, check the following items which might affect A/C system problems.

1. BATTERY
1. Measure the battery voltage and specific gravity of electrolyte.

Standard voltage: 12 V
Specific gravity: Above 1.260

2. Check the condition of the fuses for A/C system power supply and other fuses.
3. Check the condition of the harnesses and harness connectors connection.

2. ASPIRATOR HOSE
1. Turn the ignition switch to ON and push the "A/ C" switch.
2. Turn the temperature control dial to maximum hot position.
3. Turn the air flow control dial to "DEF" position.
4. Turn the fan speed control dial to 4th position.




5. Firmly hold a thin thread (b) in front of the in-vehicle sensor suction port (a) for the auto A/C control unit and check that the thread moves towards the port indicating that air is being sucked into the port.

NOTE:
- Ensure the thread does not get sucked into the port.
- Hold the thread approx. 5 mm (0.02 in) away from port when the suction force is not very strong.




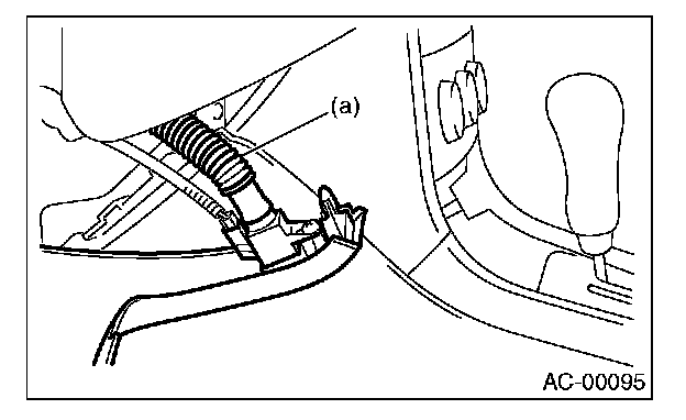
6. If the thread does not move at all, remove the lower cover and check for improper connection of the aspirator hose (a), lower cover and heater unit and secure as necessary.

3. REFRIGERANT LINE




Check contact for refrigerant line (A) and high-pressure pipe.

4. CONTROL LINKAGE
1. Check the state of mode door linkage.
2. Check the state of air mix door linkage.
3. Check the state of intake door linkage.

4. CONTROL SWITCHES
Start and warm up the engine completely.




1. Inspection using switches.




2. Compressor operation inspection




3. Illumination control inspection