Operation CHARM: Car repair manuals for everyone.
Manuals through 2025 now available!

Our trusted friends have launched a new website named LEMON, which has newer manuals. It also contains all the CHARM manuals.

LEMON is the spiritual successor to CHARM, I recommend you try it!

Link: lemon-manuals.la or lemon-manuals.org.ua

(Some people have issue connecting. LEMON is investigating. For now, use Firefox or change your DNS server)

Or, hide this message: temporarily or permanently

Component Tests and General Diagnostics

Airbag Connector

PROCEDURE

1. POWER SUPPLY




1. How to disconnect:
1. Move the slide lock (A) in the direction of the arrow.
2. Pull the female connector in the direction of the arrow with slide lock (A) moved.

CAUTION: When pulling, be sure to hold onto the connector and not the wire.




2. How to connect:
Holding the connector (A), and push it in carefully until a connecting sound is heard.

CAUTION: Be sure to insert the connector in until it locks. Then pull on it gently to make sure that it is locked.

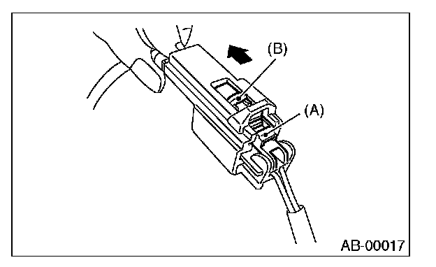
2. DRIVER'S AIRBAG (AIRBAG MAIN HARNESS AND ROLL CONNECTOR), SIDE AIRBAG AND PRETENSIONER




1. How to disconnect:
1. Push the lock arm (A).
2. With the lock arm (A) pushed in, move the slide lock (B) in the direction of the arrow.
3. With the slide lock (B) pulled, remove the lock arm to its original position, and then pull in the direction of the arrow and separate the connector.






CAUTION: When pulling, be sure to hold onto the connector and not the wire.

2. How to connect:
Holding the connector, and push it in carefully until a connecting sound is heard.






CAUTION: Be sure to insert the connector in until it locks. Then pull on it gently to make sure that it is locked.

3. DRIVER'S AIRBAG (ROLL CONNECTOR AND AIRBAG MODULE)




1. How to disconnect:
1. Using a flat tip screwdriver, pry the push lock upward to unlock.
2. Pull the connector to disconnect from driver's side airbag module assembly.
2. How to connect:
Connect the connector in reverse order of disconnecting. At this time, be sure to insert the connector in until connecting sound is heard.

CAUTION: Be sure to insert the connector in until it locks. Then pull on it gently to make sure that it is locked.

4. PASSENGER'S AIRBAG




1. How to disconnect:
1. Push the lock arm (A).
2. With the lock arm (A) pushed in, pull the connector in the direction of arrow, and then disconnect the connector.






CAUTION: When disconnecting the connector, be sure to hold onto the connector and not the wire.

2. How to connect:
Holding the connector, and push it in carefully until a connecting sound is heard.






CAUTION: Be sure to insert the connector in until it locks. Then pull on it gently to make sure that it is locked.

5. FRONT SUB-SENSOR AND SIDE AIRBAG SENSOR




1. How to disconnect:
Holding outer part (A), pull it in the direction of the arrow.

CAUTION: When pulling, be sure to hold onto the connector and not the wire.

2. How to connect:
Holding the connector, and push it in carefully until a connecting sound is heard.






CAUTION:
- Outer (A) moves back, and so do not put your hand on the outer part.
- Be sure to insert the connector in until it locks. Then pull on it gently to make sure that it is locked.