Operation CHARM: Car repair manuals for everyone.
Manuals through 2025 now available!

Our trusted friends have launched a new website named LEMON, which has newer manuals. It also contains all the CHARM manuals.

LEMON is the spiritual successor to CHARM, I recommend you try it!

Link: lemon-manuals.la or lemon-manuals.org.ua

(Some people have issue connecting. LEMON is investigating. For now, use Firefox or change your DNS server)

Or, hide this message: temporarily or permanently

Rear Seat

REAR SEAT

DISASSEMBLY

1. SEDAN MODEL

1. Remove the rear seat.
2. Remove the headrest.
3. Remove the hinge assembly center bolts.






4. Remove the screws and detach the cover.






5. Remove tree clips and peel the back cover.






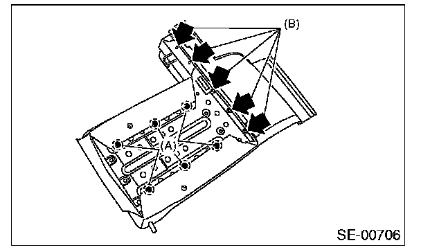
6. Turn over the backrest cover to remove hog rings (A) and hooks (B).






7. Remove the headrest bushing.
8. Remove the button cover.

CAUTION: The front and side faces of button cover have claws. Forceful removal can cause damage.

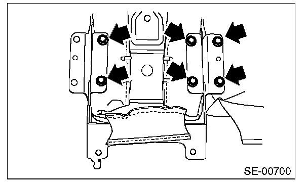
9. Remove the plate of should section (A).
10. Remove the hog rings (B) on the front side of backrest, and then remove the backrest cover.






11. Remove the seat frame assembly from the backrest pad.
12. Disassemble the backrest assembly LH by referring to above procedures.
13. Remove the armrest hinge covers on both sides in direction of black arrow, and loosen the screws to remove the armrests.






14. Remove the hinge assembly center from trunk through backboard.
15. Remove the hook, and then detach the center through cover.






16. Remove the hook, and then remove the armrest cover.






17. Remove the hook and hog ring, and then remove the headrest cover.






18. Remove the hog rings (A) on the rear side of the seat cushion.






19. Remove the hog rings (A), then remove the seat cushion cover.






2. WAGON MODEL

1. Remove the rear seat.
2. Remove the hooks at the bottom of backrest assembly LH, and then turn over the backrest cover to remove the hog rings (A) and hooks (B).






3. Remove the headrest bushing.
4. Remove the hog rings (A) on the front side of backrest, and then remove the backrest cover.






5. Remove the bolts, and then remove the backrest latch.






6. Loosen the screws to remove the armrest from backrest assembly RH.






NOTE: The armrests cannot be detached while the backrest assembly RH and armrest side pin positions are not aligned.

7. Disassemble the backrest assembly RH by referring to above procedures.
8. Remove the hook, and then remove the armrest cover.






9. Remove the hook and hog ring, and then remove the headrest cover.






10. Remove the hog rings (A) on the rear side of the seat cushion.






11. Remove the hog rings (A), then remove the seat cushion cover.






ASSEMBLY

Assemble in the reverse order of disassembly.

CAUTION:
- Always use new hog rings.
- Secure the hog ring using hog ring pliers.
- Install the hog rings to the specified points securely and make sure that no wrinkle or twisting on backrest cover.


NOTE:
- Do not contaminate or damage the cover.
- While installing the hog rings, prevent the seat from getting wrinkled.

INSPECTION

Check that no tear or fray on the seat cover.