Operation CHARM: Car repair manuals for everyone.
Manuals through 2025 now available!

Our trusted friends have launched a new website named LEMON, which has newer manuals. It also contains all the CHARM manuals.

LEMON is the spiritual successor to CHARM, I recommend you try it!

Link: lemon-manuals.la or lemon-manuals.org.ua

(Some people have issue connecting. LEMON is investigating. For now, use Firefox or change your DNS server)

Or, hide this message: temporarily or permanently

Part 1

AT Main Case

REMOVAL
1. Remove the transmission assembly from vehicle.
2. Pull out the torque converter assembly.





3. Remove the input shaft.
4. Lift-up the lever on the rear side of transmission harness connector, and then disconnect it from the stay.
5. Disconnect the inhibitor switch connector from the stay.
6. Disconnect the air breather hose.
7. Remove the oil charge pipe.
8. Remove the oil cooler inlet and outlet pipes.
9. Separate the converter case and transmission case.
10. Remove the oil pump housing.





11. Take out the high clutch, thrust needle bearing and reverse clutch assembly.





12. Take out the high clutch hub and thrust bearing.





13. Take out the front sun gear and thrust needle bearing.





14. Pull out the leaf spring without folding.

NOTE: Remove it while pressing down on lower leaf spring.





15. Remove the snap ring and thrust needle bearing.





16. Take out the retaining plate, drive plate and driven plate of 2-4 brake.





17. Take out the thrust needle bearing, planetary gear assembly and low clutch assembly.





18. Remove the 2-4 brake seal.





19. Remove the snap ring.





20. Take out the 2-4 brake return spring.





21. Remove the 2-4 brake piston and piston retainer without damaging.





22. Pull out the leaf spring without folding.





23. Remove the snap ring.





24. Take out the retaining plate, drive plate, driven plate and dish plate.





25. Turn the transmission case upside down, and then take out the socket bolts while holding the one-way clutch inner race with hand.





26. Remove the spring retainer.





27. Take out the return spring.





28. Apply compressed air.





29. Take out the low & reverse piston.

INSTALLATION





1. Install the low & reverse brake piston.

NOTE:
^ Be careful not to damage the lip seal.
^ Apply ATF, to the lip.





2. Install the return spring.





3. Install the spring retainer.
4. Install the one-way clutch inner race, spring retainer and return spring.





5. Tighten the socket bolts evenly from the rear side of transmission case.
Tightening torque: 25 Nm (2.5 kgf-cm, 18 ft. lbs.)
6. Place the front side of transmission body up.
7. Install the thrust needle bearing.
8. Place the dish plate, driven plate, drive plate and retaining plate neatly in this order on surface table.
9. Set the micro gauge to retaining plate, and read its scale.

NOTE: The value, which is read in the gauge at this time, is zero point.

10. Scale and record the weight Z of a flat board which will be put on retaining plate.

NOTE:
^ Use a stiff flat board which does not bend against load.
^ Use a flat board of its weight less than 83 N (8.5 kgs, 18.7 lbs.).





11. Put the flat board on retaining plate.
12. Using the following formula, calculate N indicated on the push/pull gauge. N = 83 N (8.5 kgs, 18.7 lbs.) - Z N: Value indicated on push/pull gauge 83 N (8.5 kgs, 18.7 lbs.): Load applied to clutch plate Z: Flat board weight





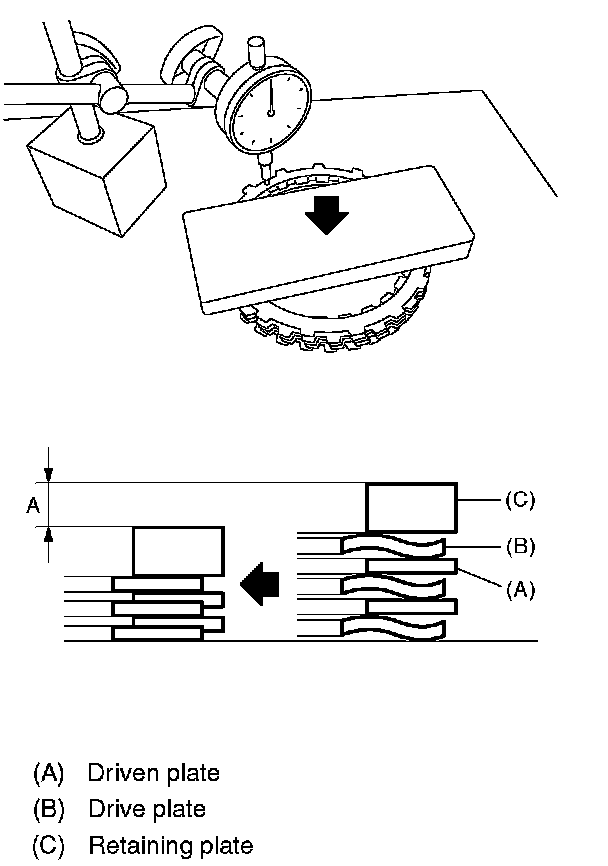
13. Press the center of retaining plate applying force of N with push/pull gauge, and then measure and record the height A. Make more than three measurements at even distance and take the average value.

NOTE: If three points, measure the height every 120°. If four points, measure the height every 90°.





14. Installation of the low & reverse brake: Install the dish plate, driven plate and retaining plate, and then secure them with snap ring.

NOTE: Pay attention to the orientation of dish orate.





15. Apply compressed air intermittently to check for operation.





16. Place the same thickness of shim on both sides to prevent the plate from tilting, and then measure and record the clearance B.

NOTE: Do not press the shim downward with excessive force, or else the waveform of drive plates will be broken down.





17. Piston stroke calculation
Select the retaining plate within the specification by calculating with A and B dimensions which have been recorded before. If the calculated value exceeds the service limit, replace the drive plate with a new one and adjust it within the specification.
T=A+ B
T: Piston stroke
A: Collapse amount of drive plate
B: Clearance between retaining plate and snap ring
Initial standard: 2.15 - 2.65 mm (0.085 - 0.104 inch)
Limit thickness: 2.95 mm (0.116 inch)





18. Install the leaf spring of low & reverse brake.





19. Install the 2-4 brake piston and 2-4 brake retainer by aligning the holes of 2-4 brake retainer and hole of transmission case.





20. Install 2-4 brake piston return spring to transmission case.





21. Position the snap ring in transmission. Using the ST, press the snap ring into specified place.
ST 498677100 COMPRESSOR





22. Install the planetary gear and low clutch assembly to transmission case.
Install carefully while slowly rotating the low clutch and planetary gear assembly paying special attention not to damage the seal ring.
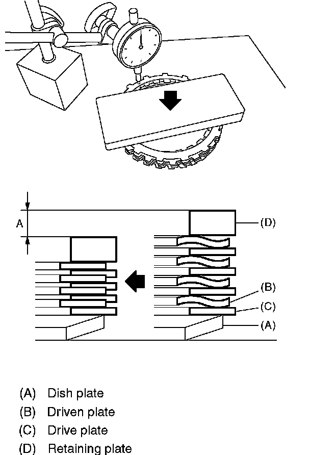
23. Place the dish plate, driven plate, drive plate and retaining plate neatly in this order on surface table.
24. Set the micro gauge to retaining plate, and read its scale.

NOTE: The value, which is read in the gauge at this time, is zero point.

25. Scale and record the weight Z of a flat board which will be put on retaining plate.

NOTE:
^ Use a stiff flat board which does not bend against load.
^ Use a flat board of its weight less than 100 N (10.2 kgs, 22.5 lbs.).





26. Put the flat board on retaining plate.
27. Using the following formula, calculate N indicated on the push/pull gauge.
N = 100 N (10.2 kgs, 22.5 lbs.) - Z
N: Value indicated on push/pull gauge
100 N (10.2 kgs, 22.5 lbs.): Load applied to clutch plate
Z: Flat board weight





28. Press the center of retaining plate applying force of N with push/pull gauge, and then measure and record the height A. Make more than three measurements at even distance and take the average value.

NOTE: If three points, measure the height every 120°. If four points, measure the height every 90°.





29. Install the pressure plate, drive plate, driven plate, retaining plate and snap ring.





30. Install a new 2-4 brake oil seal to transmission case.





31. After all 2-4 brake component parts have been installed, blow air intermittently and confirm the operation of brake.





32. Measure and record the clearance B between the retaining plate and snap ring.





33. Piston stroke calculation
Select the retaining plate within the specification by calculating with A and B dimensions which have been recorded before. If the calculated value exceeds the usage limit, replace the drive plate with a new one and adjust it within the specification.
T = A + B
T: Piston stroke
A: Collapse amount of drive plate
B: Clearance between retaining plate and snap ring
Initial standard: 1.7 - 2.1 mm (0.067 - 0.083 inch)
Limit thickness: 2.3 mm (0.091 inch)





34. Be careful not to mistake the location of the leaf spring to be inserted.





35. Install the thrust needle bearing in correct direction.





36. Install the front sun gear and thrust needle bearing.
37. Install the high clutch hub.
Attach the thrust needle bearing to hub using Vaseline, and then install the hub by correctly engaging the splines of the front planetary carrier.





38. Install the thrust needle bearing in proper direction.





39. Install the high clutch assembly.
40. Adjust the total end play.





41. Install the thrust needle bearing in proper direction.
42. Install the oil pump housing assembly with a new gasket.
43. Install the converter case into transmission case assembly.
44. Insert the inhibitor switch and transmission connector to the stay.





45. Install the air breather hose.
46. Install the oil cooler pipe.
47. Install the oil charge pipe with a O-ring.





48. Insert the input shaft with rotating it by hand lightly, and then check the protrusion amount.
Normal protrusion A: 50 - 55 mm (1.97 - 2.17 inch)
49. Install the torque converter assembly.
50. Install the transmission assembly into vehicle.

DISASSEMBLY

HIGH CLUTCH AND REVERSE CLUTCH





1. Remove the snap ring, and then take out the retaining plate, drive plate and driven plate.





2. Remove the snap ring, and then take out the retaining plate, drive plate and driven plate.





3. Using the ST1 and ST2, remove the snap ring.
ST1 398673600 COMPRESSOR
ST2 498627100 SEAT





4. Take out the clutch cover, spring retainer, high clutch piston and reverse clutch piston.





5. Remove the seal ring and lip seal from the high clutch piston and reverse clutch piston.

PLANETARY GEAR AND LOW CLUTCH





1. Remove the snap ring from low clutch drum.





2. Take out the front planetary carrier.





3. Take out the rear sun gear.





4. Take out the rear planetary carrier, washer and thrust needle bearing.





5. Take out the rear internal gear.





6. Remove the snap ring from low clutch drum.





7. Compress the spring retainer, and remove the snap ring from low clutch drum using ST1 and ST2.
ST1 498627100 SEAT
ST2 398673600 COMPRESSOR
8. Remove the one-way clutch.





9. Install the one-way clutch inner race to low clutch drum, and then apply compressed air to remove the low clutch piston.
10. Remove the one-way clutch inner race.