Operation CHARM: Car repair manuals for everyone.
Manuals through 2025 now available!

Our trusted friends have launched a new website named LEMON, which has newer manuals. It also contains all the CHARM manuals.

LEMON is the spiritual successor to CHARM, I recommend you try it!

Link: lemon-manuals.la or lemon-manuals.org.ua

(Some people have issue connecting. LEMON is investigating. For now, use Firefox or change your DNS server)

Or, hide this message: temporarily or permanently

Overhaul

Cylinder Block





REMOVAL

NOTE: Before conducting this procedure, drain the engine oil completely.

1) Remove the intake manifold.
2) Remove the V-belts.
3) Remove the crank pulley.
4) Remove the timing belt cover.
5) Remove the timing belt.
6) Remove the cam sprocket.
7) Remove the crank sprocket.
8) Remove the generator and A/C compressor with their brackets.
9) Remove the cylinder head.
10) Remove the clutch disc and cover. (MT model)
11) Remove the flywheel. (MT model)
12) Remove the drive plate. (AT model)
Lock the crankshaft using ST.
ST 498497100 CRANKSHAFT STOPPER





13) Remove the oil separator cover.
14) Remove the water by-pass pipe for heater.
15) Remove the oil filter.
16) Remove the water pump.
17) Remove the bolts which install oil pump onto cylinder block.

NOTE: When disassembling and checking the oil pump, loosen the relief valve plug before removing the oil pump.





18) Remove the oil pump from cylinder block using a flat tip screwdriver.

CAUTION: Be careful not to scratch the mating surface of cylinder block and oil pump.





19) Remove the front oil seal from the oil pump.
20) Remove the oil pan.
1) Set the part so that the cylinder block (LH) is on the upper side.
2) Remove the bolts which secure oil pan to cylinder block.
3) Insert an oil pan cutter blade between cylinder block-to-oil pan clearance and remove the oil pan.

CAUTION: Do not use a screwdriver or similar tools in place of oil pan cutter.

21) Remove the oil strainer stay.
22) Remove the oil strainer.
23) Remove the baffle plate.
24) Remove the water pipe.








25) Remove the service hole plugs using a hexagon wrench [14 mm].





26) Remove the service hole cover.
27) Rotate the crankshaft to bring #1 and #2 pistons to bottom dead center position, then remove the piston snap ring through service hole of #1 and #2 cylinders.





28) Draw out the piston pin from #1 and #2 pistons using ST.

NOTE: Be careful not to confuse the original combination of piston, piston pin and cylinder.

ST 499097700 PISTON PIN REMOVER





29) Similarly remove the piston pins from #3 and #4 pistons.
30) Remove the cylinder block connecting bolt on the RH side.
31) Loosen the cylinder block connecting bolt on the LH side by two or three turns.
32) Set the part so that the cylinder block (LH) is on the upper side, and remove the cylinder block connecting bolt.
33) Separate the cylinder block (LH) and (RH).

NOTE: When separating the cylinder block, do not allow the connecting rod to fall and damage the cylinder block.





34) Remove the rear oil seal.
35) Remove the crankshaft together with connecting rod.
36) Remove the crankshaft bearings from cylinder block using a hammer handle.

NOTE: Be careful not to confuse the crankshaft bearing combination. Press the bearing at the end opposite to locking lip.

37) Remove each piston from cylinder block using wooden bar or hammer handle.

NOTE: Be careful not to confuse the original combination of piston and cylinder.

INSTALLATION





1) Remove oil on the mating surface of cylinder block before installation. Apply a coat of engine oil to the bearing and crankshaft journal.
2) Position the crankshaft and O-ring on the cylinder block (RH).
3) Apply liquid gasket to the mating surfaces of cylinder block (RH), and position the cylinder block (LH).

NOTE:
^ Install within 5 min. after applying liquid gasket.
^ Do not allow liquid gasket to jut into O-ring grooves, oil passages, bearing grooves, etc.

Liquid gasket: THREE BOND 1217G (Part No. K0877Y0100) or equivalent





4) Apply a coat of engine oil to the washer and bolt thread.

NOTE: Use new seal washer.

5) Tighten the 10 mm cylinder block connecting bolts on the LH side (A-D) in alphabetical order.
Tightening torque: 10 N-m (1.0 kgf-m, 7.2 ft-lb)





6) Tighten the 10 mm cylinder block connecting bolts on the RH side (E-J) in alphabetical order.
Tightening torque: 10 N-m (1.0 kgf-m, 7.2 ft-lb)





7) Further tighten the cylinder block connecting bolts on the LH side (A-D) in alphabetical sequence.
Tightening torque: 18 N-m (1.8 kgf-m, 13.3 ft-lb)





8) Further tighten the cylinder block connecting bolts on the RH side (E-J) in alphabetical sequence.
Tightening torque: 18 N-m (1.8 kgf-m, 13.3 ft-lb)





9) Further tighten the cylinder block connecting bolts on the LH side (A-D) in alphabetical sequence.
^ (A), (C): Angle tightening
Tightening angle: 90°
^ (B), (D): Torque tightening
Tightening torque: 40 N-m (4.1 kgf-m, 29.6 ft-lb)





10) Tighten the cylinder block connecting bolts on the RH side (E-J) in alphabetical sequence.
Tightening angle: 90°





11) Tighten the 8 mm and 6 mm cylinder block connecting bolts on LH side (A-H) in alphabetical sequence.
Tightening torque:
(A)-(G): 25 N-m (2.5 kgf-m, 18.4 ft-lb)
(H): 6.4 N-m (0.65 kgf-m, 4.7 ft-lb)





12) Apply a coat of engine oil to the oil seal periphery, then install the rear oil seal using ST1 and ST2.

NOTE: Use a new rear oil seal.

ST1 499597100 CRANKSHAFT OIL SEAL GUIDE
ST2 499587200 CRANKSHAFT OIL SEAL INSTALLER





13) Position the top ring gap at (A) or (B) in the figure.
14) Position the second ring gap at 180° on the reverse side the top ring gap.





15) Position the upper rail gap at (C) in the figure.





16) Align the upper rail spin stopper (E) to the side hole (D) on the piston.





17) Position the expander gap at (F) in the figure.





18) Position the lower rail gap at (G) in the figure.





NOTE:
^ Make sure the ring gaps do not face the same direction.
^ Make sure ring gaps are not within the piston skirt area.

19) Install the snap ring.
Install the snap rings in the piston holes located opposite to the service holes in cylinder block before positioning pistons to the cylinder.

NOTE: Use new snap rings.








20) Install piston.
1) Set the parts so that the #1 and #2 cylinders are on the upper side.
2) Using the ST1, turn the crankshaft so that #1 and #2 connecting rods are set at bottom dead center.
ST1 499987500 CRANKSHAFT SOCKET
3) Apply a coat of engine oil to the pistons and cylinders and insert pistons in their cylinders using ST2.
ST2 498747300 PISTON GUIDE





NOTE: Face the piston front mark towards the front of the engine.





21) Install piston pin.
1) Apply a coat of engine oil to ST3.
2) Insert ST3 into the service hole to align the piston pin hole and the connecting rod small end.
ST3 499017100 PISTON PIN GUIDE





3) Apply a coat of engine oil to piston pin, and insert the piston pin into piston and connecting rod through service hole.
4) Install the snap ring.

NOTE: Use new snap rings.





5) Apply liquid gasket to the threaded portion of the service hole plug.
Liquid gasket: THREE BOND 1105 (Part No. 004403010) or equivalent





6) Install the service hole plug and gasket.

NOTE: Use a new gasket.








7) Set the parts so that the #3 and #4 cylinders are on the upper side. Following the same procedures as used for #1 and #2 cylinders, install the pistons and piston pins.
22) Install the service hole cover.

NOTE: Use new O-rings.

23) Install the water pipe.

NOTE: Use new O-rings.

Tightening torque: 6.4 N-m (0.65 kgf-m, 4.7 ft-lb)





24) Install the baffle plate.
Tightening torque: 6.4 N-m (0.65 kgf-m, 4.7 ft-lb)
25) Install the oil strainer.

NOTE: Use new O-rings.

Tightening torque: 10 N-m (1. 0 kgf-m, 7 ft-lb)
26) Install the oil strainer stay.

NOTE: Tighten the oil strainer stay together with the baffle plate.

Tightening torque: 6.4 N-m (0.65 kgf-m, 4.7 ft-lb)
27) Apply liquid gasket to the mating surfaces of oil pan, and install the oil pan.

NOTE: Install within 5 min. after applying liquid gasket.

Liquid gasket: THREE BOND 1217G (Part No. K0877Y0100) or equivalent
Tightening torque: 5 N-m (0.5 kgf-m, 3.7 ft-lb)





28) Apply liquid gasket to the mating surface of oil separator cover and the threaded portion of bolt (A) shown in the figure (when reusing the bolt), and then install the oil separator cover.

NOTE:
^ Install within 5 min. after applying liquid gasket.
^ Use new oil separator cover.

Liquid gasket:
Mating surface: THREE BOND 1217G (Part No. K0877Y0100) or equivalent
Bolt (A) thread (when reusing the bolt): THREE BOND 1324 (Part No. 004403042) or equivalent
Tightening torque: 6.4 N-m (0.65 kgf-m, 4.7 ft-lb)





29) Install the flywheel. (MT model)
30) Install the drive plate. (AT model)
To lock the crankshaft, use ST.
ST 498497100 CRANKSHAFT STOPPER
Tightening torque: 72 N-m (7.3 kgf-m, 53.1 ft-lb)





31) Install the clutch disc and cover. (MT model)
32) Install the oil pump.
1) Using the ST, install the front oil seal.
ST 499587100 OIL SEAL INSTALLER

NOTE: Use a new front oil seal.





2) Apply liquid gasket to the matching surface of oil pump.

NOTE: Install within 5 min. after applying liquid gasket.

Liquid gasket: THREE BOND 1217G (Part No. K0877Y0100) or equivalent





3) Apply a coat of engine oil to the inside of oil seal.





4) Install the oil pump to cylinder block. Be careful not to damage the oil seal during installation.

NOTE:
^ Make sure the oil seal lip is not folded.
^ Align the flat surface of oil pump's inner rotor with crankshaft before installation.
^ Use new O-rings and oil seals.
^ Do not forget to assemble O-rings. (5) Apply liquid gasket to the three bolts thread shown in figure. (when reusing bolts)

Liquid gasket: THREE BOND 1324 (Part No. 004403042) or equivalent
Tightening torque: 6.4 N-m (0.65 kgf-m, 4.7 ft-lb)





33) Install the service hole plug and gasket.

NOTE:
^ When installing the water pump, tighten bolts in two stages in alphabetical sequence as shown in the figure.
^ Use a new gasket.

Tightening torque:
First: 12 N-m (1.2 kgf-m, 8.9 ft-lb)
Second: 12 N-m (1.2 kgf-m, 8.9 ft-lb)





34) Install the water by-pass pipe for heater.
Tightening torque: 6.4 N-m (0.65 kgf-m, 4.7 ft-lb)
35) Install the oil filter.
36) Install the cylinder head.
37) Install the camshaft.
38) Install the crank sprocket.
39) Install the cam sprocket.
40) Install the timing belt.
41) Adjust the valve clearance.
42) Install the rocker cover.
1) Install the rocker cover gasket to the rocker cover.

NOTE: Use a new gasket.

2) Apply liquid gasket to the specified point of the cylinder head. Apply extra amount of liquid gasket around plugs 5 mm (0.2 in) or more.

NOTE: Install within 5 min. after applying liquid gasket.

Liquid gasket: THREE BOND 1217G (Part No. K0877Y0100) or equivalent





3) Install the rocker cover on cylinder head. Ensure the gasket is properly positioned during installation.
4) Temporarily tighten the rocker cover tightening bolts in alphabetical sequence shown in the figure, and then tighten to specified torque in alphabetical sequence.
Tightening torque: 6.4 N-m (0.65 kgf-m, 4.7 ft-lb)





5) Connect the PCV hose.
43) Install the timing belt cover.
44) Install the crank pulley.
45) Install the intake manifold.
46) Install the generator and A/C compressor with their brackets.
Tightening torque: 36 N-m (3.7 kgf-m, 26.6 ft-lb)
47) Install the V-belts.

DISASSEMBLY





1) Remove the connecting rod cap.
2) Remove the connecting rod bearing.

NOTE: Arrange the removed connecting rod, connecting rod cap and bearing in order to prevent confusion.

3) Remove the piston rings using piston ring expander.
4) Remove the oil ring by hand.

NOTE: Arrange the removed piston rings in proper order to prevent confusion.

5) Remove the snap ring.

ASSEMBLY





1) Apply oil to the surface of the connecting rod bearings, and install the connecting rod bearings on connecting rods and connecting rod caps.
2) Position each connecting rod with the side with a side mark facing forward, and install it.
3) Tighten the connecting rod cap with the connecting rod bolt. Make sure the arrow on connecting rod cap faces the front during installation.

NOTE:
^ Each connecting rod has its own mating cap. Make sure that they are assembled correctly by checking their matching number.
^ When tightening the connecting rod bolts, apply oil on the threads.

Tightening torque: 52 N-m (5.3 kgf-m, 38.4 ft-lb)
4) Install the oil ring upper rail, expander and lower rail by hand.
5) Install the second ring and top ring using piston ring expander.

INSPECTION

CYLINDER BLOCK
1) Check for cracks or damage. Use liquid penetrant tester on the important sections to check for fissures. Check that there are no marks of gas leaking or water leaking on gasket installing surface.
2) Check the oil passages for clogging.
3) Inspect the cylinder block surface that mates with cylinder head for warping by using a straight edge, and correct by grinding if necessary.
Warping limit: 0.025 mm (0.00098 in)
Grinding limit: 0.1 mm (0.004 in)
Standard height of cylinder block: 201.0 mm (7.91 in)

CYLINDER AND PISTON
1) The cylinder bore size is stamped on the cylinder block front upper surface.

NOTE:
^ Measurement should be performed at a temperature of 20°C (68°F).
^ Standard sized pistons are classified into two grades, "A" and "B". These grades should be used as guide lines in selecting a standard piston.

Standard diameter.
99.505-99.515 mm (3.9175-3.9179 in)
99.495-99.505 mm (3.9171-3.9175 in)





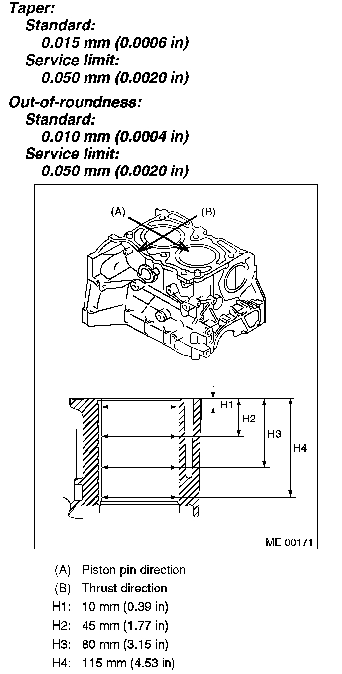
2) Cylinder inner diameter measurement Measure the inner diameter of each cylinder in both the thrust and piston pin directions at the heights as shown in the figure, using a cylinder bore gauge.

NOTE: Measurement should be performed at a temperature of 20°C (68°F)

Taper:
Standard: 0.015 mm (0.0006 in)
Service limit: 0.050 mm (0.0020 in)
Out-of-roundness:
Standard: 0.010 mm (0.0004 in)
Service limit: 0.050 mm (0.0020 in)





3) When the piston is to be replaced due to general or cylinder wear, select a suitable sized piston by measuring the piston clearance.
4) Piston outer diameter measurement
Measure the outer diameter of each piston at the height as shown in the figure. (Thrust direction)

NOTE: Measurement should be performed at a temperature of 20°C (68°F)

Piston grade point H: 38.2 mm (1.50 in)
Piston outer diameter:
Standard
99.505-99.515 mm (3.9175-3.9179 in)
99.495-99.505 mm (3.9171-3.9175 in)
0.25 mm (0.0098 in) oversize: 99.745-99.765 mm (3.9270-3.9278 in)
0.50 mm (0.0197 in) oversize: 99.995-100.015 mm (3.9368-3.9376 in)





5) Calculate the clearance between cylinder and piston.

NOTE: Measurement should be performed at a temperature of 20°C (68°F)

Cylinder to piston clearance: at 20°C (68°F)
Standard: -0.010-0.010 mm (-0.0004-0.0004 in)
Limit: 0.030 mm (0.0012 in)
6) Boring and honing
1) If the value of taper, out-of-roundness, or cylinder-to-piston clearance measured exceeds the limit or if there is any damage on the cylinder wall, rebore it to use an oversize piston.

CAUTION: When any of the cylinders needs reboring, all other cylinders must be bored at the same time, and replace to oversize pistons.

2) If the cylinder inner diameter exceeds the limit after boring and honing, replace the cylinder block.

NOTE: Immediately after reboring, the cylinder diameter may differ from its real diameter due to temperature rise. Thus, when measuring the cylinder diameter, wait until it has cooled to room temperature.

Cylinder inner boring limit (diameter): 100.005 mm (3.9372 in)

PISTON AND PISTON PIN
1) Check the piston and piston pin for breaks, cracks or wear. Replace if faulty.
2) Check the piston ring groove for wear and damage. Replace if faulty.
3) Make sure that the piston pin can be inserted into the piston pin hole with a thumb at 20°C (68°F) Replace if faulty.
Standard clearance between piston pin and hole in piston:
Standard: 0.004-0.008 mm (0.0002-0.0003 in)
Service limit: 0.020 mm (0.0008 in)








4) Check the snap ring installation groove on the piston for burr. If necessary, remove burr from the groove so that the piston pin can lightly move.





5) Check the piston pin snap ring for distortion, cracks and wear.

PISTON RING
1) If the piston ring is broken, damaged or worn, or if its tension is insufficient, or when the piston is replaced, replace the piston ring with a new part of the same size as piston.

NOTE:
^ Marks that shows the installing direction are shown on the end of top and second rings. When installing them to piston, face this mark to the top side.
^ Oil ring consists of the upper rail, expander and lower rail. When installing the oil ring on piston, be careful of each rails direction.





2) Squarely place the piston ring and oil ring in cylinder using the piston, and measure the piston ring gap with a thickness gauge.








3) Fit the piston ring straight into the piston ring groove, then measure the clearance between piston ring and piston ring groove with a thickness gauge.

NOTE: Before measuring the clearance, clean the piston ring groove and piston ring.








CONNECTING ROD
1) Replace the connecting rod, if the large or small end thrust surface is damaged.
2) Check for bend or twist using a connecting rod aligner. Replace the connecting rod if the bend or twist exceeds the limit.
Limit of bend or twist per 100 mm (3.94 in) in length: 0.10 mm (0.0039 in)





3) Install the connecting rod fitted with bearing to the crankshaft, and measure the thrust clearance using a thickness gauge. Replace the connecting rod if the thrust clearance exceeds the specified limit.
Connecting rod thrust clearance:
Standard 0.070-0.330 mm (0.0028-0.0130 in)
Limit: 0.4 mm (0.016 in)





4) Inspect the connecting rod bearing for scar, peeling, seizure, melting, wear, etc.
5) Measure the oil clearance on each connecting rod bearing using plastigauge. If any oil clearance is not within the standard, replace the defective bearing with a new part of standard size or undersize as necessary.
Connecting rod oil clearance
Standard: 0.017-0.045 mm (0.0007-0.0018 in)
Service limit: 0.05 mm (0.0020 in)





6) Inspect the bushing at connecting rod small end, and replace with a new part if worn or damaged.
7) Measure the piston pin clearance at connecting rod small end. Replace it with a new part if the clearance exceeds the limit.
Clearance: between piston pin and bushing:
Standard: 0-0.022 mm (0-0.0009 in)
Service limit: 0.030 mm (0.0012 in)








8) The replacement procedure for the connecting rod small end bushing is as follows.
1) Remove the bushing from connecting rod with ST and press.
2) Press the bushing with the ST after applying oil on the periphery of new bushing.
ST 499037100 CONNECTING ROD BUSHING REMOVER AND INSTALLER





3) Make two 3 mm (0.12 in) holes in the pressed bushing according to the pre-manufactured holes on the connecting rod to ream the inside of bushing.
4) After completion of reaming, clean the bushing to remove chips.

CRANKSHAFT AND CRANKSHAFT BEARING
1) Clean the crankshaft completely, and check for cracks by means of red lead check etc. If faulty, replace with new a new crankshaft.
2) Measure the bend of crankshaft. If it exceeds the limit, correct or replace it.

NOTE: If a suitable V-block is not available, use only a #1 and #5 crankshaft bearings on cylinder block, and position the crankshaft on cylinder block. Then, measure the crankshaft bend using a dial gauge.

Crankshaft bend limit: 0.035 mm (0.0014 in)





3) Inspect the crank journal and crank pin for wear. If they are not within the specification, replace the bearing with a suitable (undersize) one, and replace or grind to correct the crankshaft as necessary. When grinding the crank journal or crank pin, finish them to the specified dimensions according to the undersize bearing to be used.
Crank pin:
Out-of-roundness: 0.003 mm (0.0001 in)
Cylindricality: 0.004 mm (0.0002 in)
Grinding limit: To 51.750 mm (2.0374 in) dia.
Crank journal:
Out-of-roundness: 0.005 mm (0.0002 in)
Cylindricality: 0.006 mm (0.0002 in)
Grinding limit: To 59.758 mm (2.3527 in) dia.








4) Use a thickness gauge to measure the thrust clearance of crankshaft at #5 crank journal bearing. If the clearance exceeds the limit, replace the bearing.
Crankshaft thrust clearance
Standard: 0.030-0.115 mm (0.0012-0.0045 in)
Limit: 0.25 mm (0.0098 in)





5) Inspect individual crankshaft bearings for signs of flaking, seizure, melting and wear.
6) Measure the oil clearance on each crankshaft bearing using plastigauge. If the measured value exceeds the limit, replace the defective bearing with an undersize one, and replace or grind to correct the crankshaft as necessary.
Crankshaft oil clearance
Standard: 0.010-0.030 mm (0.0004-0.0012 in)
Service limit: 0.040 mm (0.0016 in)