Operation CHARM: Car repair manuals for everyone.
Manuals through 2025 now available!

Our trusted friends have launched a new website named LEMON, which has newer manuals. It also contains all the CHARM manuals.

LEMON is the spiritual successor to CHARM, I recommend you try it!

Link: lemon-manuals.la or lemon-manuals.org.ua

(Some people have issue connecting. LEMON is investigating. For now, use Firefox or change your DNS server)

Or, hide this message: temporarily or permanently

Overhaul

Timing Belt





REMOVAL

NOTE: Perform the work with the engine installed to body when replacing a single part. For operation procedures, refer to "Timing Belt" of the PM section.

TIMING BELT
1) Remove the V-belts.
2) Remove the crank pulley.
3) Remove the timing belt cover.
4) Remove the timing belt guide. (MT model)














5) If the alignment mark or arrow mark (which indicates the direction of rotation) on timing belt fade away, put new marks before removing the timing belt as shown in procedures below.
1) Turn the crankshaft using ST, and align the alignment marks on crank sprocket, intake cam sprocket (LH), exhaust cam sprocket (LH), intake cam sprocket (RH) and exhaust cam sprocket (RH) with notches of timing belt cover and cylinder block.
ST 499987500 CRANKSHAFT SOCKET





2) Using white paint, put alignment and/or arrow marks on timing belts in relation to the cam sprockets.








Z1: 54.5-teeth length
Z2: 51-teeth length
Z3: 28-teeth length





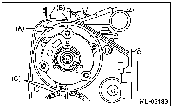
6) Remove the belt idler (A).





7) Remove the timing belt.

CAUTION: After the timing belt has been removed, never rotate the intake and exhaust sprocket. If the cam sprocket is rotated, the intake and exhaust valve heads strike together and valve stems are bent.

AUTOMATIC BELT TENSION ADJUSTER ASSEMBLY AND BELT IDLER
1) Remove the belt idler (B) and (C).





2) Remove the belt idler No. 2.





3) Remove the automatic belt tension adjuster assembly.





INSTALLATION

AUTOMATIC BELT TENSION ADJUSTER ASSEMBLY AND BELT IDLER
1) Preparation for installation of automatic belt tension adjuster assembly.

CAUTION:
^ Always use a vertical type pressing tool to move the adjuster rod down.
^ Do not use a lateral type vise.
^ Push the adjuster rod vertically.
^ Press-in the push adjuster rod gradually taking three minutes or more.
^ Do not allow press pressure to exceed 9,807 N (1,000 kgf, 2,205 lbf).
^ Press the adjuster rod to the end surface of the cylinder. However, do not press the adjuster rod below the end face of the cylinder. Doing so may damage the cylinder.
^ Do not release the press pressure until stopper pin is completely inserted.


1) Attach the automatic belt tension adjuster assembly to vertical pressing tool.
2) Slowly move the adjuster rod down with a pressure of 165 N (16.8 kgf, 37.1 lbf) or more until the adjuster rod is aligned with the stopper pin hole in the cylinder.





3) With a 2 mm (0.08 in) dia. stopper pin or a 2 mm (nominal) dia. hex wrench inserted into the stopper pin hole in cylinder, secure the adjuster rod.





2) Install the automatic belt tension adjuster assembly.
Tightening torque: 39 N-m (4.0 kgf-m, 28.8 ft-lb)





3) Install the belt idler No. 2.
Tightening torque: 39 N-m (4.0 kgf-m, 28.8 ft-lb)





4) Install the belt idlers.
Tightening torque: 39 N-m (4.0 kgf-m, 28.8 ft-lb)





TIMING BELT
1) Prepare for installation of the automatic belt tension adjuster assembly.
2) Align the mark (A) on crank sprocket with the mark on oil pump cover at cylinder block.





3) Align single line mark (A) on the exhaust cam sprocket (RH) with notch (B) on timing belt cover.





4) Align single line mark (A) on the intake cam sprocket (RH) with notch (B) on timing belt cover. (Ensure double lines (C) on intake and exhaust camshaft sprockets are aligned.)





5) Align the single line mark (A) on exhaust cam sprocket (LH) with notch (B) on timing belt cover by turning the sprocket counterclockwise (as viewed from front of engine).





6) Align the single line mark (A) on intake cam sprocket (LH) with notch (B) on timing belt cover by turning the sprocket clockwise (as viewed from front of engine). (Make sure the double line marks (C) on intake and exhaust cam sprockets are aligned.)





7) Make sure that the cam and crank sprockets are positioned properly.

CAUTION:
^ Intake and exhaust camshafts for this DOHC engine can be independently rotated with the timing belts removed. As can be seen from the figure, if the intake and exhaust valves are lifted simultaneously, the valve heads will interfere with each other, resulting in bent valves.






^ When the timing belts are not installed, four camshafts are held at the "zero-lift" position, where all cams on camshafts do not push the intake and exhaust valves down. (Under this condition, all valves remain unlifted.)
^ When the camshafts are rotated to install the timing belts, #2 intake and #4 exhaust cam of camshafts (LH) are held to push their corresponding valves down. (Under this condition, these valves are held lifted.) Right-side camshafts are held so that their cams do not push valves down.
^ Camshafts (LH) must be rotated from the zero-lift position to the position where the timing belt is to be installed with the smallest possible angle, in order to prevent mutual interference of intake and exhaust valve heads.
^ Do not allow the camshafts to rotate in the direction shown in the upper figure. Doing this may cause both the intake and exhaust valves to lift simultaneously, resulting in mutual interference of valve heads.





8) Install the timing belt. Align the alignment mark on the timing belt with marks on the sprockets in the alphabetical order shown in the figure. While aligning marks, position the timing belt properly.

CAUTION:
^ Disengagement of more than three timing belt teeth may result in interference between the valve and piston.
^ Make sure that the direction of belt rotation is correct.






9) Install the belt idlers.
Tightening torque: 39 N-m (4.0 kgf-m, 28.8 ft-lb)

NOTE: Make sure that the marks on the timing belt and sprockets are aligned.





10) After ensuring that the marks on the timing belt and sprockets are aligned, remove the stopper pin from tensioner adjuster.





11) Install the timing belt guide. (MT model)

NOTE:
^ Clean the timing belt cover screw holes before installing bolts.
^ Apply liquid gasket to the threaded portion of cam sprocket. (when reusing bolts)

Liquid gasket: THREE BOND 1324 (Part No. 004403042) or the equivalent
1) Temporarily tighten the bolts mounting the timing belt guide.





2) Check and adjust the clearance between timing belt and timing belt guide using a thickness gauge.
Clearance: 1.0±0.5 mm (0.039±0.020 in)














3) Tighten the bolts mounting the timing belt guide.
Tightening torque: 9.75 N-m (1.0 kgf-m, 7.2 ft-lb)





Tightening torque: 6.4 N-m (0.65 kgf-m, 4.7 ft-lb)





Tightening torque: 6.4 N-m (0.65 kgf-m, 4.7 ft-lb)





Tightening torque: 6.4 N-m (0.65 kgf-m, 4.7 ft-lb)





12) Install the timing belt cover.
13) Install the crank pulley.
14) Install the V-belts.

INSPECTION

TIMING BELT
1) Check the timing belt teeth for breaks, cracks or wear. If any fault is found, replace the timing belt.
2) Check the condition on the back surface of the timing belt. If cracks are found, replace the timing belt.

CAUTION:
^ Be careful not to let oil, grease or engine coolant contact the timing belt. Remove quickly and thoroughly if this happens.
^ Do not bend the timing belt sharply.


Bending diameter: 60 mm (2.36 in) or more





AUTOMATIC BELT TENSION ADJUSTER
1) Visually check the oil seals for leaks, and rod ends for uneven wear and scratches. If necessary, replace the automatic belt tension adjuster assembly.

NOTE: Slight traces of oil at rod's oil seal does not indicate a problem.

2) Check that the adjuster rod does not move when a pressure of 165 N (16.8 kgf, 37.1 lbf) is applied to it. This is to check the adjuster rod stiffness.
3) If the adjuster rod is not stiff and moves freely when applying 165 N (16.8 kgf, 37.1 lbf) check it using the following procedures:
1) Slowly press the adjuster rod down to the end surface of cylinder. Repeat this operation two to three times.
2) With the adjuster rod moved all the way up, apply a pressure of 165 N (16.8 kgf, 37.1 lbf) to it, and check the adjuster rod stiffness.
3) If the adjuster rod is not stiff and moves down, replace the automatic belt tension adjuster assembly with a new part.

CAUTION:
^ Always use a vertical type pressing tool to move the adjuster rod down.
^ Do not use a lateral type vise.
^ Push the adjuster rod vertically.
^ Press-in the push adjuster rod gradually taking three minutes or more.
^ Do not allow press pressure to exceed 9,807 N (1,000 kgf, 2,205 lbf).
^ Press the adjuster rod to the end surface of the cylinder. However, do not press the adjuster rod below the end face of the cylinder. Doing so may damage the cylinder.


4) Measure the rod protrusion amount "H" from the body edge. If it is not within specifications, replace with new part.
Amount of rod protrusion: H 5.2-6.2 mm (0.204-0.244 in)





BELT TENSION PULLEY
1) Check the mating surfaces of timing belt and contact point of adjuster rod for abnormal wear or scratches. Replace the automatic belt tension adjuster assembly if faulty.
2) Check the belt tension pulley for smooth rotation. Replace if noise or excessive play occurs.
3) Check the belt tension pulley for grease leakage.

BELT IDLER
1) Check the belt idler for smooth rotation. Replace if noise or excessive play occurs.
2) Check the outer contacting surfaces of idler pulley for abnormal wear and scratches.
3) Check the belt idler for grease leakage.