Operation CHARM: Car repair manuals for everyone.
Manuals through 2025 now available!

Our trusted friends have launched a new website named LEMON, which has newer manuals. It also contains all the CHARM manuals.

LEMON is the spiritual successor to CHARM, I recommend you try it!

Link: lemon-manuals.la or lemon-manuals.org.ua

(Some people have issue connecting. LEMON is investigating. For now, use Firefox or change your DNS server)

Or, hide this message: temporarily or permanently

Power Steering Line/Hose: Service and Repair

Pipe Assembly

REMOVAL
1) Disconnect the ground cable from the battery.
2) Lift up the vehicle and remove the jack-up plate.





3) Remove the one pipe joint at the center of gearbox assembly, and connect a vinyl hose to the pipe and the joint. Discharge the fluid by turning the steering wheel fully clockwise and counterclockwise. Discharge the fluid similarly from other pipes.





4) Remove the clamp E from pipe C and D.





5) Disconnect the pipe C and D from the gearbox.





6) Remove the air intake duct.
7) Remove the bolt A.
8) Disconnect the pipe C from oil pump. Disconnect the pipe D from the return hose.

CAUTION:
^ Do not allow fluid from the hose end to come into contact with pulley belt.
^ To prevent foreign matter from entering the hose and pipe, cover the open ends with clean cloth.






INSTALLATION
1) Temporarily tighten the two bolts (bolts A) fixing pipe C and D in place.

NOTE: Visually check that the hose between tank and pipe D is not bent or twisted.





1) Connect pipe D to the reservoir tank.
2) Install the pipe C to the oil pump using a new gasket.
Tightening torque: 39 N-m (4.0 kgf-m, 28.9 ft-lb)
3) Tighten the two bolts (bolts A) fixing pipe C and D in place.
Tightening torque: 13 N-m (1.3 kgf-m, 9.4 ft-lb)
2) Temporarily connect the pipes C and D to the gearbox assembly.





3) Temporarily install clamp E on pipes C and D.

NOTE: Make sure that the character "8" on each clamp is positioned on the same side, as shown in the figure.





4) Tighten the clamp E.
Tightening torque: 7.4 N-m (0.75 kgf-m, 5.4 ft-lb)
Tighten the joint nut.
Tightening torque: 15 N-m (1.5 kgf-m, 10.8 ft-lb)
5) Connect pipe A and B to the four pipe joints of the gearbox assembly. Connect the upper pipe B first, and lower pipe A.
Tightening torque: 13 N-m (1.3 kgf-m, 9.4 ft-lb)
6) Install the jack-up plate.





7) Install the air intake duct, the air cleaner upper cover and the air intake boot.
8) Connect the ground cable to the battery.
9) Fill with the specified fluid.

CAUTION: Never start the engine before feeding the fluid otherwise the vane pump might be seize.

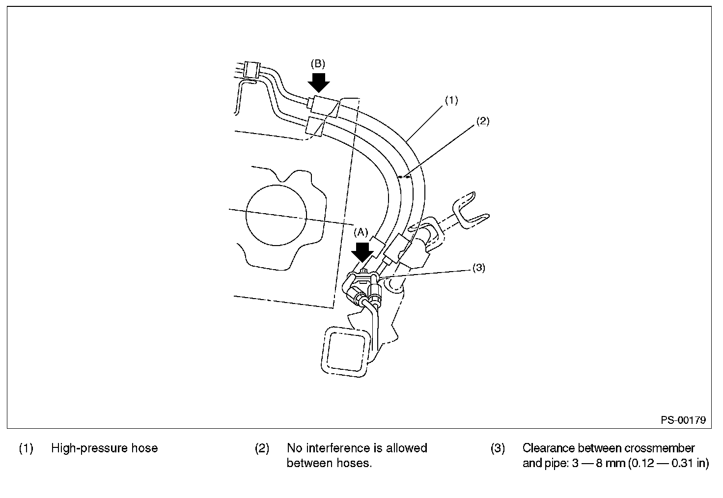
11) Finally, check clearance between pipes or hoses as shown in the figure.
Clearance: 10 mm (0.39 in) or more
If the cruise control actuator and power steering hose clearance is less than 10 mm (0.39 in), move section (A) held in place by the clamp, or bend (B) to adjust.





INSPECTION
Check all disassembled parts for wear, damage or other problems. Repair or replace the defective parts as necessary.





CAUTION: Although the surface layer materials of rubber hoses have excellent weathering resistance, heat resistance and resistance for low temperature brittleness, they will be damaged chemically by brake fluid, battery electrolyte, engine oil and automatic transmission fluid and their service lives will be very shortened. Wipe off hoses immediately if any of these come into contact with the hoses.
Since resistances for heat and low temperature brittleness gradually declines according to long periods of exposure to hot or cold conditions, and their service lives are shortening accordingly. It is necessary to perform careful inspection frequently when the vehicle is used in hot weather areas, cold weather areas and in frequent driving conditions where a lot of steering work is required.
Particularly when there is continuous operation of the relief valve for over 5 seconds, the life of the hoses, oil pump, and fluid will be shortened due to overheating.






NOTE: There are conditions in which a fluid leak is diagnosed, but is not actually leaking. This is because the fluid spilt during the last maintenance was not completely wiped off. Be sure to wipe off spilt fluid thoroughly after maintenance.