Operation CHARM: Car repair manuals for everyone.
Manuals through 2025 now available!

Our trusted friends have launched a new website named LEMON, which has newer manuals. It also contains all the CHARM manuals.

LEMON is the spiritual successor to CHARM, I recommend you try it!

Link: lemon-manuals.la or lemon-manuals.org.ua

(Some people have issue connecting. LEMON is investigating. For now, use Firefox or change your DNS server)

Or, hide this message: temporarily or permanently

Restraints and Safety Systems: Adjustments

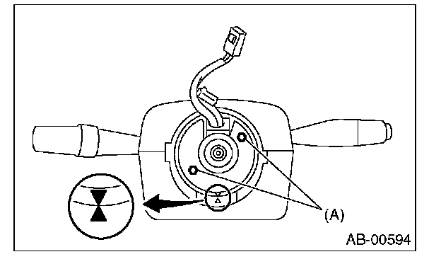
Roll Connector

ADJUSTMENT
1. Check that front wheels are positioned in straight ahead direction.
2. Turn the roll connector pin (A) clockwise until it stops.
3. Turn the roll connector pins (A) approx. 3.25 turns until UP Arrow marks are aligned.