Operation CHARM: Car repair manuals for everyone.
Manuals through 2025 now available!

Our trusted friends have launched a new website named LEMON, which has newer manuals. It also contains all the CHARM manuals.

LEMON is the spiritual successor to CHARM, I recommend you try it!

Link: lemon-manuals.la or lemon-manuals.org.ua

(Some people have issue connecting. LEMON is investigating. For now, use Firefox or change your DNS server)

Or, hide this message: temporarily or permanently

Air Bag Systems: Service and Repair

Airbag Connector

PROCEDURE

1. POWER SUPPLY
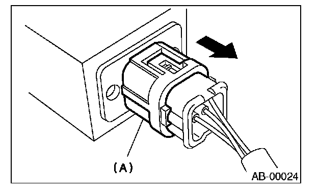
1 How to disconnect:
1. With the lock arm (A) pushed in, move the connector in the direction of arrow.






CAUTION: When pulling the slide lock or disconnecting connector, be sure to hold the connector, not the harness.

2. How to connect:
Holding the connector (A), and push it in carefully until a clicking sound is heard.






CAUTION: Be sure to insert the connector in until it is locked. Then pull it gently to make sure that it is locked.

2. DRIVER'S AIRBAG (BETWEEN AIRBAG HARNESS AND ROLL CONNECTOR) AND SIDE AIRBAG
1. How to disconnect:
1. Push the lock arm (A).
2. With the lock arm (A) pushed in, move the slide lock (B) in the direction of arrow.






3. With the slide lock pulled, release the lock arm (return to original position) and disconnect the connector.

CAUTION: When pulling the slide lock or disconnecting connector, be sure to hold the connector, not the harness.






2. How to connect:
Holding the connector, push it in securely until a clicking sound is heard.

CAUTION: Be sure to insert the connector in until it is locked. Then pull it gently to make sure that it is locked.






3. DRIVER'S AIRBAG MODULE AND PRETENSIONER
1. How to disconnect:
1. Using a flat tip screwdriver, pull the push lock upward to unlock.






2. Pull the connector to disconnect from driver's airbag module assembly or retractor assembly.






2. How to connect:
connect the connector in the reverse order of disconnecting. At this time, be sure to insert the push lock until a clicking sound is heard.

CAUTION:
- Be sure to insert the connector in until it is locked. Then pull it gently to make sure that it is locked.
- Be sure to push the push lock in securely.






4. FRONT SUB-SENSOR AND SIDE AIRBAG SENSOR

1. How to disconnect:
Holding outer part (A), pull it in the direction of arrow.

CAUTION: When pulling the slide lock or disconnecting connector, be sure to hold the connector, not the harness.






2. How to connect:
Holding the connector, push it in securely until a clicking sound is heard.

NOTE: You cannot connect the connector when the push lock is in the lock position. Move the push lock to the release position to connect the connector.

CAUTION:
- Do not touch the outer section since outer side (A) will move back.
- Be sure to insert the connector in until it is locked. Then pull it gently to make sure that it is locked.







5. PASSENGER'S AIRBAG
1. How to disconnect:
1. Move the slide lock (A) in the direction of arrow.






2. With the slide lock pushed, pull it in the direction of arrow and disconnect the connector.






CAUTION: When pulling the slide lock or disconnecting connector, be sure to hold the connector, not the harness.

2. How to connect:
Holding the connector, push it in securely until a clicking sound is heard.

CAUTION: Be sure to insert the connector in until it is locked. Then pull it gently to make sure that it is locked.