Operation CHARM: Car repair manuals for everyone.
Manuals through 2025 now available!

Our trusted friends have launched a new website named LEMON, which has newer manuals. It also contains all the CHARM manuals.

LEMON is the spiritual successor to CHARM, I recommend you try it!

Link: lemon-manuals.la or lemon-manuals.org.ua

(Some people have issue connecting. LEMON is investigating. For now, use Firefox or change your DNS server)

Or, hide this message: temporarily or permanently

System Specifications

Cylinder head

Surface warpage limit 0.035 mm (0.0012 in)
Grinding limit 0.1 mm (0.004 in)
Standard height 97.5 mm (3.84 in)

Cylinder head bolts
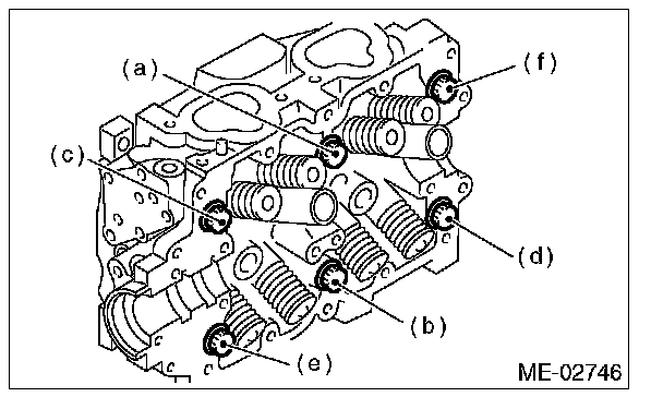
Tighten all bolts to 29 N-m (3.0 kgf-m, 21.4 ft-lb) in alphabetical sequence.
Tighten all bolts to 69 N-m (7.0 kgf-m, 50.9 ft-lb) in alphabetical sequence.
Loosen all the bolts by 180° in the reverse order of installing, and loosen them further by 180°.
Tighten all bolts to 42 N-m (4.3 kgf-m, 31.0 ft-lb) in alphabetical sequence.
Tighten all bolts by 80 to 90° in alphabetical sequence.
Tighten all bolts by 40 to 45° in alphabetical sequence.
Further tighten the bolts (a) and (b) by 40 - 45°





Camshaft Cap
Temporarily tighten the bolts (a) through (d) in alphabetical sequence





Bolts (a) through (j) in alphabetical sequence 9.75 N-m (1.0 kgf-m, 7.2 ft-lb)





Bolts (k) through (r) in alphabetical sequence 9.75 N-m (1.0 kgf-m, 7.2 ft-lb)





Bolts (s) and (t) in alphabetical sequence 9.75 N-m (1.0 kgf-m, 7.2 ft-lb)





Camshaft Sprocket 78 N-m (8.0 kgf-m, 57.5 ft-lb)