Camshaft Position Sensor: Service and Repair
Camshaft Position SensorREMOVAL
1. INTAKE SIDE
- Camshaft position sensor RH
1. Disconnect the ground cable from the battery.
2. Disconnect the connector from camshaft position sensor RH.
3. Remove the camshaft position sensor RH from the rear side of the cylinder head.
- Camshaft position sensor LH
1. Disconnect the ground cable from the battery.
2. Remove the intake manifold.
3. Remove the camshaft position sensor LH from the rear side of the cylinder head.
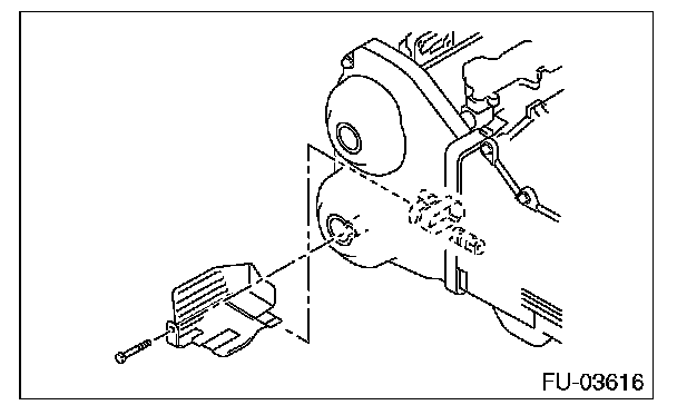
2. EXHAUST SIDE
1. Set the vehicle on a lift.
2. Disconnect the ground cable from the battery.
3. Lift up the vehicle
4. Remove the under cover.
5. Remove the engine harness cover. (Right side only)
6. Disconnect the connector from camshaft position sensor RH.
7. Remove the camshaft position sensor RH from the underside of the cylinder head.
8. Remove the cam shaft position sensor LH in the same way as RH.
INSTALLATION
1. INTAKE SIDE
Install in the reverse order of removal.
Tightening torque: 6.4 N.m (0.7 kgf.m, 4.7 ft.lb)
2. EXHAUST SIDE
Install in the reverse order of removal.