Operation CHARM: Car repair manuals for everyone.
Manuals through 2025 now available!

Our trusted friends have launched a new website named LEMON, which has newer manuals. It also contains all the CHARM manuals.

LEMON is the spiritual successor to CHARM, I recommend you try it!

Link: lemon-manuals.la or lemon-manuals.org.ua

(Some people have issue connecting. LEMON is investigating. For now, use Firefox or change your DNS server)

Or, hide this message: temporarily or permanently

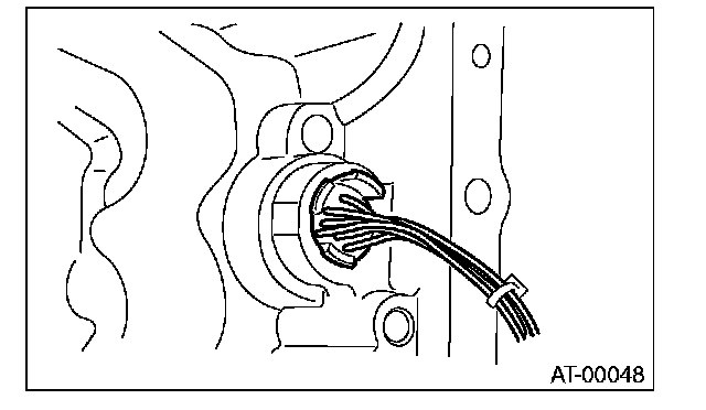
Front Vehicle Speed Sensor

Front Vehicle Speed Sensor

REMOVAL
1) Set the vehicle on a lift.
2) Disconnect the ground cable from the battery.
3) Remove the air intake chamber. (Non-turbo model)
4) Remove the intercooler. (Turbo model)
5) Disconnect the transmission harness connector.





6) Remove the pitching stopper.
7) Remove the transmission harness connector from stay.
8) Lift up the vehicle.
9) Clean the transmission exterior.
10) Remove the drain plug (ATF) to drain the ATF.

CAUTION:
Because the AFT will be very hot after driving, be very careful not be receive burns.


11) Perform replacement with a new gasket, and tighten the drain plug (ATF).





12) Remove the front, center and rear exhaust pipes and the muffler. (Non-turbo model)
13) Remove the center and rear exhaust pipes and the muffler. (Turbo model)
14) Remove the heat shield cover.





15) Remove the propeller shaft.
16) Place the transmission jack under the transmission.

NOTE:
Make sure that the support plate of transmission jack does not touch the cross.

17) Remove the transmission rear crossmember bolt.





18) Lower the transmission jack.

NOTE:
Do not separate the transmission jack and transmission.

19) Remove the ATF inlet and outlet pipes.

CAUTION:
When removing the outlet pipe, be careful not to lose the ball and spring used together with the retaining screw.


20) Remove the front vehicle speed sensor and torque converter turbine speed sensor.





21) Disconnect the connector from the rear vehicle speed sensor.





22) Remove the oil pan.

CAUTION:
Be careful not to allow foreign matter such as dust or dirt to enter the oil pan.


23) Disconnect the control valve connector and transmission ground terminal.





24) Remove the transmission harness assembly.

INSTALLATION
1) Pass the transmission harness assembly through the hole of the transmission case.





2) Connect the control valve connector and transmission ground.





3) Apply proper amount of liquid gasket to the entire oil pan mating surface.





4) Fill the 3 locations of the transmission case excluding the bolt holes with an ample amount of liquid gasket.





5) Install the oil pan by equally tightening the bolts.
Tightening torque: 5 N-m (0.5 kgf-m, 3.6 ft-lb)
6) Install the front vehicle speed sensor and torque converter turbine speed sensor.
Tightening torque: 7 N-m (0.7 kgf-m, 5.1 ft-lb)
7) Connect the connector to the rear vehicle speed sensor.
8) Install the ATF inlet and outlet pipes.

NOTE:
Use a new copper washer.





9) Install the transmission rear crossmember bolt.
Tightening torque: 70 N-m (7.1 kgf-m, 51.6 ft-lb)
10) Install the propeller shaft.
11) Install the heat shield cover.





12) Install the front, center and rear exhaust pipes, and the muffler. (Non-turbo model)
13) Install the center, rear exhaust pipes and the muffler. (Turbo model)
14) Lower the vehicle.
15) Install the transmission harness connector to the stay.
16) Install the pitching stopper.
17) Install the air intake chamber. (Non-turbo model)
18) Install the intercooler. (Turbo model)
19) Fill with the same amount of ATF as drained.
20) Bleed the air of control valve.
21) Inspect the level of ATF.
22) Execute the learning control promotion.