Operation CHARM: Car repair manuals for everyone.
Manuals through 2025 now available!

Our trusted friends have launched a new website named LEMON, which has newer manuals. It also contains all the CHARM manuals.

LEMON is the spiritual successor to CHARM, I recommend you try it!

Link: lemon-manuals.la or lemon-manuals.org.ua

(Some people have issue connecting. LEMON is investigating. For now, use Firefox or change your DNS server)

Or, hide this message: temporarily or permanently

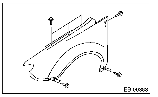
Front Fender: Service and Repair

FRONT FENDER

REMOVAL

1. Disconnect the ground cable from the battery.
2. Remove the side sill garnish.
3. Remove the front bumper.
4. Remove the headlight assembly.
5. Remove the mud guard.
6. Remove the cowl panel side.






7. Remove the bolt, and remove the front fender panel.






INSTALLATION

1. Install in the reverse order of removal.
2. Install with attention to make uniform clearance between front fender panel and front hood panel. For the dimension of clearance, refer to "SPECIFICATION" in "General Description".

Tightening torque: 7.4 N.m (0.75 kgf-m, 5.5 ft-lb)