Operation CHARM: Car repair manuals for everyone.
Manuals through 2025 now available!

Our trusted friends have launched a new website named LEMON, which has newer manuals. It also contains all the CHARM manuals.

LEMON is the spiritual successor to CHARM, I recommend you try it!

Link: lemon-manuals.la or lemon-manuals.org.ua

(Some people have issue connecting. LEMON is investigating. For now, use Firefox or change your DNS server)

Or, hide this message: temporarily or permanently

Cylinder Head Assembly: Service and Repair

Cylinder Head











REMOVAL

NOTE: Perform the work with the engine installed to body when replacing a single part. Refer to "Valve Clearance" for preparation procedures.

1) Remove the V-belts.
2) Remove the intake manifold.
3) Remove the crank pulley.
4) Remove the timing belt cover.
5) Remove the timing belt.
6) Remove the cam sprocket.
7) Remove the bolt which installs the A/C compressor bracket on cylinder head.
8) Remove the valve rocker assembly.
9) Remove the camshaft.
10) Remove the oil level gauge guide. (LH side)
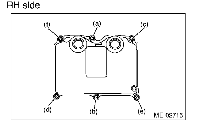
11) Remove the cylinder head bolts in alphabetical sequence as shown in the figure.

NOTE: Leave bolts (a) and (c) engaged by three or four threads to prevent the cylinder head from falling.





12) While tapping the cylinder head with a plastic hammer, separate it from cylinder block. Remove the bolts (a) and (c) to remove cylinder head.





13) Remove the cylinder head gasket.

CAUTION: Be careful not to scratch the mating surface of cylinder head and cylinder block.

14) Similarly, remove the right side cylinder head.

INSTALLATION
1) Install the cylinder head and gaskets on cylinder block.

CAUTION: Be careful not to scratch the mating surface of cylinder block and cylinder head.

NOTE: Use a new cylinder head gasket.

2) Tighten the cylinder head bolts.
1) Apply a thin coat of engine oil to washer and bolt thread.
2) Tighten all bolts to 29 N-m (3.0 kgf-m, 21.4 ft-lb) in alphabetical order.
3) Tighten all bolts to 69 N-m (7.0 kgf-m, 50.9 ft-lb) in alphabetical order.
4) Loosen all the bolts by 180° in the reverse order of installing, and loosen them further by 180°.
5) Tighten all bolts to 42 N-m (4.3 kgf-m, 31.0 ft-lb) in alphabetical order.
6) Tighten all bolts by 80 to 90° in alphabetical order.
7) Tighten all bolts by 40 to 45° in alphabetical order.

CAUTION: The tightening angle of the bolt should not exceed 45°.

8) Further tighten the bolts (a) and (b) by 40 - 45°.

CAUTION: Make sure the total "re-tightening angle" of the step (7) and (8) does not exceed 90°.





3) Install the oil level gauge guide. (LH side)
Tightening torque: 6.4 N-m (0. 7 kgf-m, 4.7 ft-lb)
4) Install the camshaft.
5) Install the valve rocker assembly.
6) Install the A/C compressor bracket on cylinder head.
Tightening torque: 36 N-m (3.7 kgf-m, 26.6 ft-lb)
7) Install the cam sprocket.
8) Install the timing belt.
9) Adjust the valve clearance.
10) Install the rocker cover.
1) Install the rocker cover gasket to the rocker cover.

NOTE: Use a new rocker cover gasket.

2) Temporarily tighten the bolts in alphabetical sequence as shown in figure, then tighten the bolt in 2 steps.
Tightening torque:
1st: 6.4 N-m (0. 7 kgf-m, 4.7 ft-lb)
2nd (only (a) and (b) are tightened): 6.4 N-m (0. 7 kgf-m, 4.7 ft-lb)
RH side





LH side





11) Install the timing belt cover.
12) Install the crank pulley.
13) Install the intake manifold.
14) Install the V-belts.

DISASSEMBLY
1) Place the cylinder head on the ST.
ST 498267800 CYLINDER HEAD TABLE
2) Compress the valve spring and remove the valve spring retainer key using ST. Remove each valve and valve spring.
ST 499718000 VALVE SPRING REMOVER

NOTE:
^ Keep all the removed parts in order for re-installing in their original positions.
^ Mark each valve to prevent confusion.
^ Pay careful attention not to damage the lips of intake valve oil seals and exhaust valve oil seals.
^ For removal and installation procedures of the valve guide, intake valve oil seal and exhaust valve oil seal, refer to "Inspection".





ASSEMBLY





1) Install the valve spring and valve.
1) Coat the stem of each valve with engine oil and insert the valve into the valve guide.

NOTE: When inserting the valve into valve guide, use special care not to damage the oil seal lip.

2) Set the cylinder head on ST.
ST 498267800 CYLINDER HEAD TABLE
3) Install the valve spring and retainer.

NOTE: Be sure to install the valve spring with its close-coiled end facing the seat on cylinder head.

4) Set the ST on valve spring.
ST 499718000 VALVE SPRING REMOVER





5) Compress the valve spring and fit the valve spring retainer key.





6) After installing, tap the valve spring retainers lightly with a plastic hammer for better seating.

INSPECTION

CYLINDER HEAD
1) Check for cracks or damage. Use liquid penetrant tester on the important sections to check for fissures. Check that there are no marks of gas leaking or water leaking on gasket installing surface.
2) Place the cylinder head on the ST.
ST 498267800 CYLINDER HEAD TABLE
3) Measure the warping of the cylinder head sur face that mates with cylinder block using a straight edge (A) and thickness gauge (B).
If the warping exceeds the limit, correct the surface by grinding it with a surface grinder.
Warping limit: 0.035 mm (0.0014 in)
Grinding limit: 0.1 mm (0. 004 in)
Standard height of cylinder head: 97.5 mm (3.839 in)

NOTE: Uneven torque for the cylinder head bolts can cause warping. When reassembling, pay special attention to the torque so as to tighten evenly.





VALVE SEAT
Inspect the intake and exhaust valve seats, and correct the contact surfaces with a valve seat cutter if they are defective or when valve guides are replaced.
Valve seat width W:
Standard:
Intake (A): 0.8 - 1.4 mm (0.03 - 0.055 in)
Exhaust(B): 1.2 - 1.8 mm (0. 04 7 - 0.071 in)








VALVE GUIDE
1) Check the clearance between valve guide and valve stem. The clearance can be checked by measuring respectively the outer diameter of valve stem with a micrometer and the inner diameter of valve guide with a caliper gauge.
Clearance between the valve guide and valve stem:
Standard:
Intake: 0.035 - 0.062 mm (0.0014 - 0.0024 in)
Exhaust: 0.040 - 0.067 mm (0.0016 - 0.0026 in)








2) If the clearance between the valve guide and valve stem exceeds the standard, replace the valve guide or valve itself, whichever shows greater amount of wear or damage. See the following procedure for valve guide replacement.
Valve guide inner diameter: 6.000 - 6.012 mm (0.2362 - 0.2367 in)
Valve stem outer diameters:
Intake: 5.950 - 5.965 mm (0.2343 - 0.2348 in)
Exhaust: 5.945 - 5.960 mm (0.2341 - 0.2346 in)
1) Place the cylinder head on ST1 with the combustion chamber upward so that valve guides fit the holes in ST1.
2) Insert the ST2 into valve guide and press it down to remove the valve guide.
ST1 498267800 CYLINDER HEAD TABLE
ST2 499767200 VALVE GUIDE REMOVER





3) Turn the cylinder head upside down and place the ST as shown in the figure.
Intake side
ST 499767700 VALVE GUIDE ADJUSTER
Exhaust side
ST 499767800 VALVE GUIDE ADJUSTER





4) Before installing a new valve guide, make sure that neither scratches nor damages exist on the inner surface of valve guide holes in cylinder head.
5) Put a new valve guide, coated with sufficient oil, in cylinder, and insert the ST1 into valve guide. Press in until the valve guide upper end is flush with the upper surface of ST2.
ST1 499767200 VALVE GUIDE REMOVER
Intake side
ST2 499767700 VALVE GUIDE ADJUSTER
Exhaust side
ST2 499767800 VALVE GUIDE ADJUSTER





6) Check the valve guide protrusion.
Valve guide protrusion L:
Intake: 20.0 - 21.0 mm (0.787 - 0.827 in)
Exhaust: 16.5 - 17.5 mm (0.65° - 0.689 in)





7) Ream the inside of valve guide using ST. Put the ST in valve guide, and rotate the ST slowly clockwise while pushing it lightly. Bring the ST back while rotating it clockwise.

NOTE:
^ Apply engine oil to the ST when reaming.
^ If the inner surface of valve guide is damaged, the edge of ST should be slightly ground with oil stone.
^ If the inner surface of valve guide becomes lustrous and the ST does not chip, use a new ST or remedy the ST.

ST 499767400 VALVE GUIDE REAMER





8) After reaming, clean the valve guide to remove chips.
9) Recheck the contact condition between valve and valve seat after replacing the valve guide.

INTAKE AND EXHAUST VALVE
1) Inspect the flange and stem of valve, and replace the valve with a new part if damaged, worn, deformed, or if dimension "H" in the figure is outside of the specified limit.
Head edge thickness H:
Intake (A)
Standard: 0.8 - 1.2 mm (0.03 - 0.047 in)
Exhaust(B)
Standard: 1.0 - 1.4 mm (0.039 - 0.055 in)





2) Put a small amount of grinding compound on the seat surface, and lap the valve and seat surface. Replace with a new valve oil seal after lapping.

NOTE: It is possible to differentiate between the intake valve and the exhaust valve by their overall length.

Valve overall length:
Intake: 120.6 mm (4.75 in)
Exhaust: 121.7 mm (4.79 in)

VALVE SPRING
1) Check the valve springs for damage, free length, and tension. Replace the valve spring if it is not within the standard value presented in the table.
2) To measure the squareness of the valve spring, stand the spring on a surface plate and measure its deflection at the top of spring using a try square.





Free length mm (in) 55.2 (2.173)
Set 235.3 - 270.7 (24 - 27.6, 52.9 - 60.8)/45.0 (1.772)
Tension/spring height N (kgf, lbf)/mm (in)
Lift 578.9 - 639.9 (59.1 - 65.3, 130.3 - 143.9)/34.7 (1.366)
Squareness 2.5°, 2.4 mm (0.094 in) or less





INTAKE AND EXHAUST VALVE OIL SEAL
1) For the following, replace the oil seal with a new part.
See the procedure 2) and subsequent for replacement procedures.
^ When the lip is damaged.
^ When the spring is out of the specified position.
^ When readjusting the surfaces of valve and valve seat.
^ When replacing the valve guide.
2) Place the cylinder head on ST1, and use ST2 to press-fit the oil seal.
ST1 498267800 CYLINDER HEAD TABLE
ST2 498857100 VALVE OIL SEAL GUIDE

NOTE:
^ Apply engine oil to oil seal before press-fitting.
^ When press-fitting the oil seal, do not use a hammer or strike in.
^ The intake valve oil seal and exhaust valve oil seal can be distinguished by colors.

Color of rubber part.
Intake [Gray]
Exhaust [Green]