Operation CHARM: Car repair manuals for everyone.
Manuals through 2025 now available!

Our trusted friends have launched a new website named LEMON, which has newer manuals. It also contains all the CHARM manuals.

LEMON is the spiritual successor to CHARM, I recommend you try it!

Link: lemon-manuals.la or lemon-manuals.org.ua

(Some people have issue connecting. LEMON is investigating. For now, use Firefox or change your DNS server)

Or, hide this message: temporarily or permanently

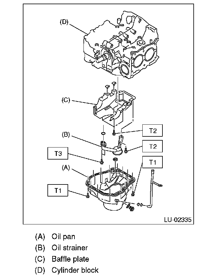
Oil Pan, Engine

Tightening torque:
T1 5 N-m (0.5 kgf-m, 3.7 ft-lb)
T2 6.4 N-m (0.7 kgf-m, 4.7 ft-lb)
T3 10 N-m (1.0 kgf-m, 7.4 ft-lb)