Operation CHARM: Car repair manuals for everyone.
Manuals through 2025 now available!

Our trusted friends have launched a new website named LEMON, which has newer manuals. It also contains all the CHARM manuals.

LEMON is the spiritual successor to CHARM, I recommend you try it!

Link: lemon-manuals.la or lemon-manuals.org.ua

(Some people have issue connecting. LEMON is investigating. For now, use Firefox or change your DNS server)

Or, hide this message: temporarily or permanently

Installation

INSTALLATION

1) When the oil pump shaft is removed, install the shaft to converter case.
2) Install the oil pump shaft to the torque converter clutch assembly, and make sure the clip is secured on the groove.
3) Apply ATF to the O-ring and insert on the input shaft while rotating the shaft slowly by hand.

Normal protrusion A: 50 - 55 mm (1.97 - 2.17 in)





4) While holding the torque converter clutch assembly by hand, carefully install it to the torque converter case. Take care not to damage the bushing. Do not allow the oil pump shaft bushing to touch the stator shaft section of the oil pump cover inappropriately.
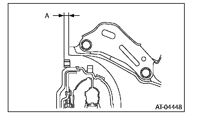
5) Slowly rotate the shaft by hand to engage the splines securely, then check that dimension A is within the specified range.

Dimension A: 2.7 - 2.9 mm (0.106 - 0.114 in)





6) Install the transmission assembly to the vehicle.