Operation CHARM: Car repair manuals for everyone.
Manuals through 2025 now available!

Our trusted friends have launched a new website named LEMON, which has newer manuals. It also contains all the CHARM manuals.

LEMON is the spiritual successor to CHARM, I recommend you try it!

Link: lemon-manuals.la or lemon-manuals.org.ua

(Some people have issue connecting. LEMON is investigating. For now, use Firefox or change your DNS server)

Or, hide this message: temporarily or permanently

Fuel Filter: Service and Repair

Fuel Filter

REMOVAL

WARNING: Place "NO OPEN FLAMES" signs near the working area.

CAUTION:
- Be careful not to spill fuel.
- If the fuel gauge indicates that two thirds or more of the fuel is remaining, be sure to drain fuel before starting work to avoid the fuel to spill.
- Be careful not to drop or apply any impact to the fuel pump during work. This may deteriorate its performance.


NOTE: The fuel filter is built in fuel pump assembly.

1. Remove the fuel pump assembly.
2. Remove the fuel level sensor and fuel temperature sensor.
3. Disconnect the pump assembly connector from the sub tank bracket assembly.






4. Cut off the tab holders connecting the sub tank bracket assembly and the sub tank in four locations, and separate the two.

CAUTION: Be careful not to damage the sub tank.

NOTE: If the O-ring is remaining on the sub tank, remove.






5. Disconnect the fuel piping connector from the fuel filter assembly in two locations.






6. Push to compress the fuel filter assembly in the direction of the arrow, remove clip (A), and separate the sub tank bracket assembly and the fuel filter assembly.

CAUTION: When separating the sub tank bracket assembly and the fuel filter assembly, be careful not to damage the ground wire.






7. Disconnect the connector from the pump assembly.






8. Lift the two tab holders connecting the pump assembly to the fuel filter using a flat tip screwdriver (with a shaft diameter of approx. 3 mm (0.12 in)), etc., and separate the fuel filter and pump assembly.

CAUTION:
- To prevent damaging the tabs of the pump assembly, wrap the tip of flat tip screwdriver (A), etc. with tape (B).






- Be careful not to drop or apply any impact to the pump assembly.

NOTE:
If the spacer and O-ring is remaining on the pump assembly, remove these.






INSTALLATION
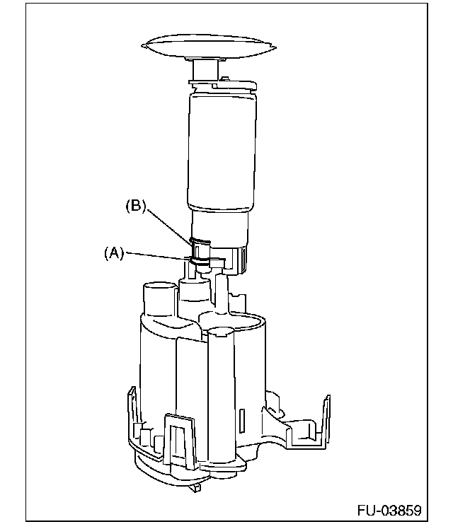
1. Assemble O-ring (A) and spacer (B) to the pump assembly and attach the pump assembly to the fuel filter.

NOTE:
- Use new O-rings (8 mm (0.31 in) inner diameter).
- Use a new spacer.
- Apply gasoline to the O-ring.
- Insert the pump assembly until a "pop" is heard.






2. Connect the connector to the pump assembly.






3. Attach spring (A) to the metal rod of the sub tank bracket assembly, and assemble the fuel filter assembly.

NOTE: Use a new spring.






4. Push the fuel filter assembly in the direction of the arrow to compress, and attach clip (A).

NOTE: Use a new clip.






5. Connect the fuel piping connector to the fuel filter assembly.

NOTE:
- Use new O-rings.
- Apply gasoline to the O-ring.
- The O-rings of the black and white connectors are identified by a difference in diameter. Be careful not to confuse the two during assembly.

O-ring inner diameter:
Black connector O-ring [Approx. 7 mm (0.28 in)]
White connector O-ring [Approx. 8 mm (0.31 in)]






6. Attach the O-ring (A) to the fuel filter assembly, and attach the sub tank to the sub tank bracket assembly.

NOTE:
- Use new O-rings (8 mm (0.31 in) inner diameter).
- Apply gasoline to the O-ring.
- Insert the pump assembly until a "pop" is heard.






7. Replace the cushion on the rear face of the sub tank with a new cushion.






8. Connect the pump assembly connector to the sub tank bracket assembly.






9. Install the fuel level sensor and fuel temperature sensor.
10. Install the fuel pump assembly.