Operation CHARM: Car repair manuals for everyone.
Manuals through 2025 now available!

Our trusted friends have launched a new website named LEMON, which has newer manuals. It also contains all the CHARM manuals.

LEMON is the spiritual successor to CHARM, I recommend you try it!

Link: lemon-manuals.la or lemon-manuals.org.ua

(Some people have issue connecting. LEMON is investigating. For now, use Firefox or change your DNS server)

Or, hide this message: temporarily or permanently

Component Tests and General Diagnostics

Driver's Control Center Differential (DCCD) Manual Mode Display

OPERATION

When there is a problem with a part or module, DCCD manual mode display blinks. (DCCD manual mode display blinks even in AUTO mode condition.) Until the problem is detected and the ignition switch is turned OFF, the blinking continues. The faulty parts can be recognized by reading through the Subaru Select Monitor.

DCCD manual mode display is as shown in the figure.





INSPECTION

DIAGNOSIS:

DCCD manual mode display is open or shorted.

TROUBLE SYMPTOM:

DCCD manual mode display does not illuminate in manual mode.

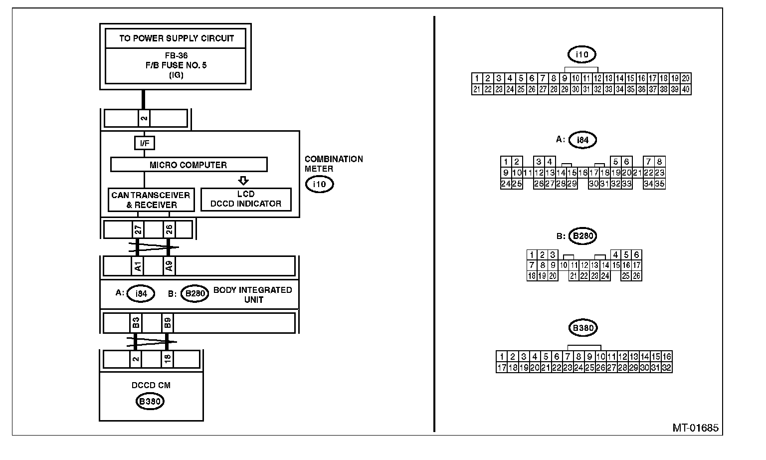
WIRING DIAGRAM:

WIRING DIAGRAM:




Step 1-Step 9: