Tightening Torques
Cylinder head bolts SpecificationsCamshaft caps
(1) - (12) 16 N-m (1) 6 kgf-m, 11.8 ft-lb)
(13) - (16) 9.75 N-m (1) 0 kgf-m, 7.2 ft-lb)
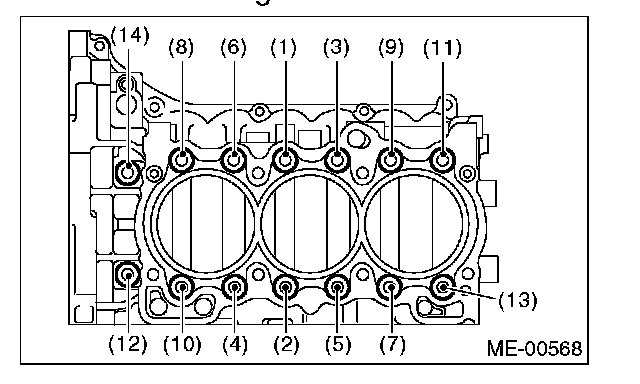
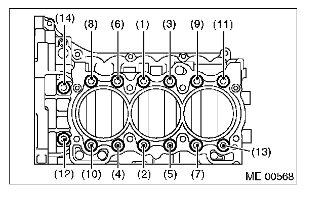
Cylinder block connecting bolts
(1) - (11), (13) 25 N-m (2.5 kgf-m, 18.4 ft-lb)
(12), (14) 20 N-m (2.0 kgf-m, 14.8 ft-lb)
Retighten
(1) - (11), (13) 25 N-m (2.5 kgf-m, 18.4 ft-lb)
(12), (14) 20 N-m (2.0 kgf-m, 14.8 ft-lb)
Tighten all bolts further 90 degrees - 110 degrees
Upper bolt to cylinder block 25 N-m (2.5 kgf-m, 18.4 ft-lb)
Connecting rod bolt 53 Nm (5.4 kgf-m, 39.1 ft lb)
Drive plate 81 Nm (8.3 kgf-m, 59.7 ft lb)
Oil pump 6.4 N-m (0. 7 kgf-m, 4.7 ft-lb)
Water pump 6.4 N-m (0. 7 kgf-m, 4.7 ft-lb)